LEMON Manuals: Even more car manuals for everyone: 1960-2025
Home >> Cadillac >> 1993 >> Seville V8-281 4.6L >> Repair and Diagnosis >> Diagrams >> Components >> Modules >> Overspeed Alert Module
April 5, 2026: LEMON Manuals is launched! Read the announcement.

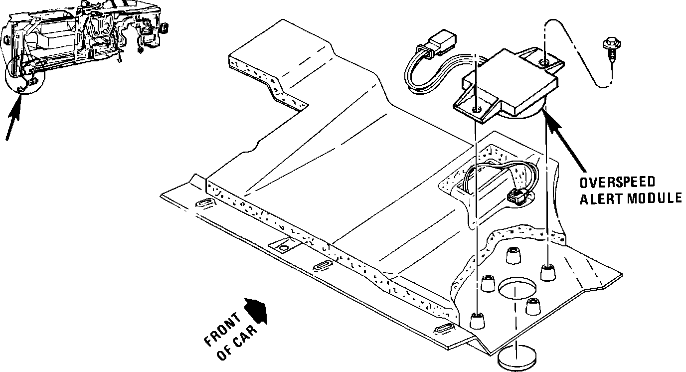
Overspeed Alert Module

Below RH Side Of I/P, Near Kick Panel.: