LEMON Manuals: Even more car manuals for everyone: 1960-2025
Home >> Cadillac >> 1993 >> Seville V8-300 4.9L >> Repair and Diagnosis >> Powertrain Management >> Computers and Control Systems >> Relays and Modules - Computers and Control Systems >> Idle/Throttle Speed Control Unit >> Description and Operation
April 5, 2026: LEMON Manuals is launched! Read the announcement.

Idle/Throttle Speed Control Unit: Description and Operation

Throttle Body Assembly - Exploded View:




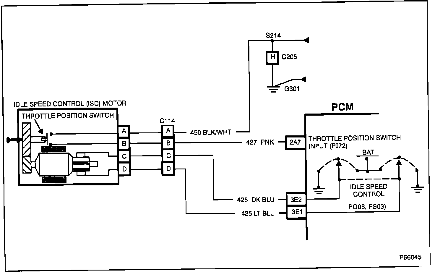
Wiring Diagram:






MOTOR OPERATION
The Idle Speed Control (ISC) is mounted on the throttle body, and is used to control engine idle speed. The ISC plunger acts as a varying throttle stop, changing the throttle valve angle. The PCM monitors idle speed, and adjusts the ISC plunger to maintain the desired idle speed required for a given operating condition.

THROTTLE/NOSE SWITCH
An integral part of the ISC is the throttle switch. The position of the throttle switch determines whether or not the ISC controls idle speed. When the throttle lever rests against the ISC plunger, the switch contacts are closed and the PCM moves the ISC plunger to the programmed idle speed setting. When the throttle lever breaks contact with the ISC plunger, the switch contacts open and the PCM stops sending idle speed control commands. Engine speed is again controlled by the accelerator pedal.