LEMON Manuals: Even more car manuals for everyone: 1960-2025
Home >> Cadillac >> 1993 >> Sixty Special >> Repair and Diagnosis >> Engine Performance >> System >> Engine Controls - Tests W/Codes - Pcm/BCM >> Diagnostic Testing >> Introduction To Diagnostic Testing
April 5, 2026: LEMON Manuals is launched! Read the announcement.

Introduction To Diagnostic Testing

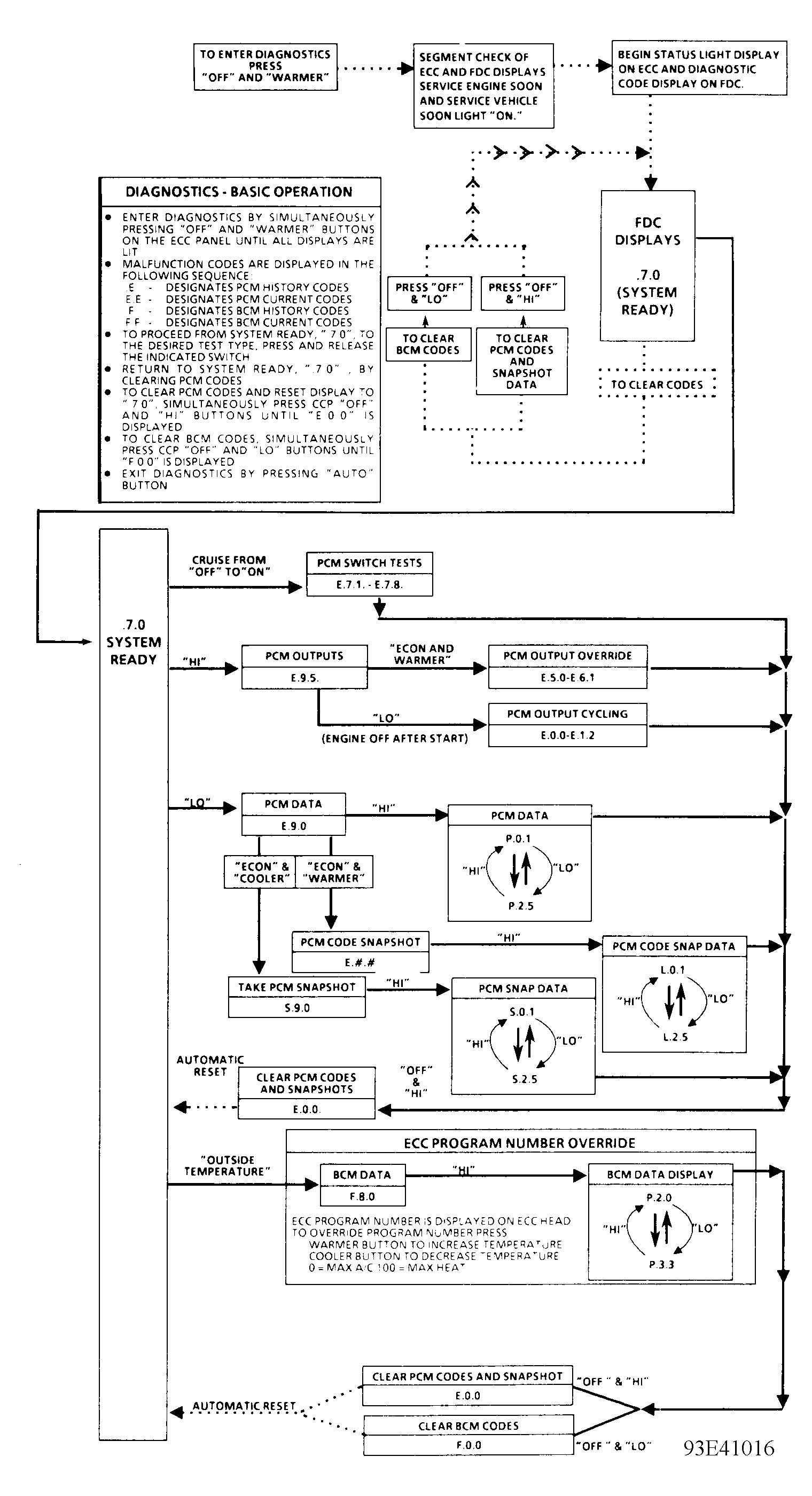
To select a desired diagnostic feature, diagnostic system must first be programmed to display ".7.0" on FDC. ".7.0" indicates system is ready for a diagnostic feature to be selected. To cause ".7.0" to be displayed on FDC, see ENTERING SELF-DIAGNOSTICS and DISPLAYING TROUBLE CODES under SELF-DIAGNOSTIC SYSTEM. See Fig 1 . With ".7.0" displayed, technician may select any of the following diagnostic tests.

Technician may also choose to clear codes or exit diagnostics. See CLEARING TROUBLE CODES and EXITING DIAGNOSTICS under SELF-DIAGNOSTIC SYSTEM.

Fig 1: Diagnostic Procedures Chart
G93E41016Courtesy of GENERAL MOTORS CORP.