LEMON Manuals: Even more car manuals for everyone: 1960-2025
Home >> Cadillac >> 1994 >> DeVille Base >> Repair and Diagnosis >> Engine Performance >> System >> Engine Controls - Tests W/Codes - 4.9L >> Pcm Code Charts >> Code P012, No Distributor Reference Signal >> Note On Intermittents
April 5, 2026: LEMON Manuals is launched! Read the announcement.

Note On Intermittents

If Code P012 is stored as history code, start engine and allow to idle while manipulating circuits No. 430 and 453. An intermittent open will cause engine to stumble or die when PCM loses distributor reference signals. If wiring and PCM connectors are okay, check pick-up coil leads for intermittent open circuit.

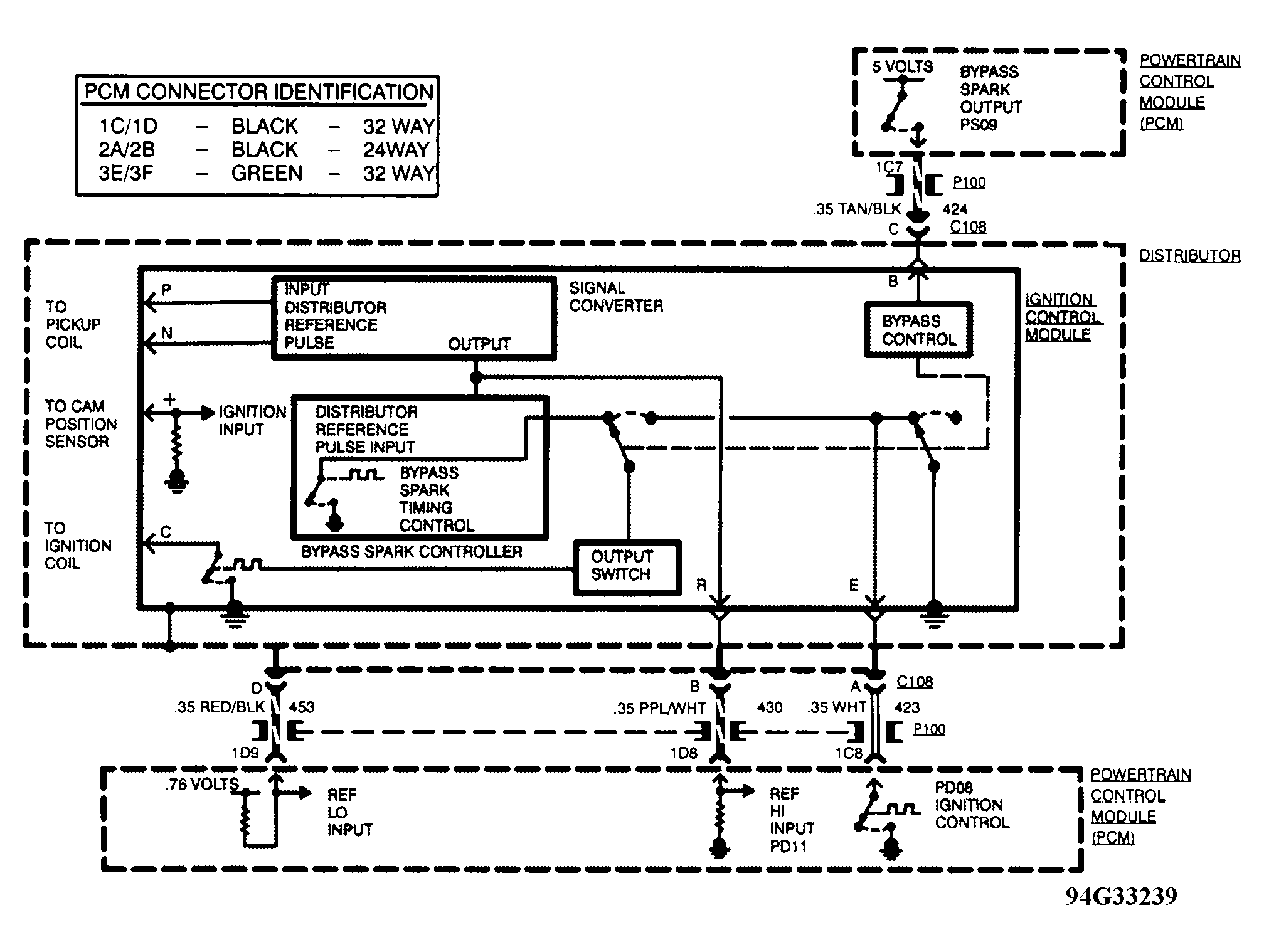
Fig 1: Code P012 Schematic (DeVille)
G94G33239Courtesy of GENERAL MOTORS CORP.
Fig 2: Code P012 Flow Chart (DeVille)
G50F00567Courtesy of GENERAL MOTORS CORP.