LEMON Manuals: Even more car manuals for everyone: 1960-2025
Home >> Cadillac >> 1994 >> DeVille Base >> Repair and Diagnosis >> Engine Performance >> System >> Engine Controls - Tests W/Codes - 4.9L >> Pcm Code Charts >> Code P040, Open PSPS Circuit >> Note On Intermittents
April 5, 2026: LEMON Manuals is launched! Read the announcement.

Note On Intermittents

Manipulate affected wiring while engine is running. If fault is induced, code will set. Check or repair circuit for intermittent open or short to ground. Disconnect and reconnect power steering connector and PCM connector, ensuring they are latched.

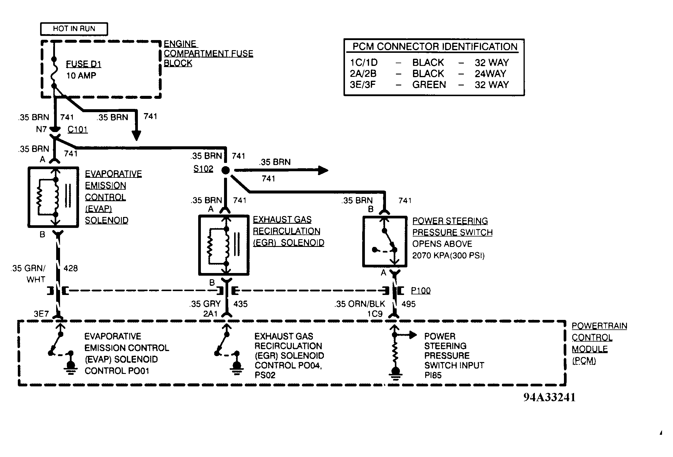
Fig 1: Code P040 Schematic (DeVille)
G94A33241Courtesy of GENERAL MOTORS CORP.
Fig 2: Code P040 Flow Chart (DeVille)
G94J33281Courtesy of GENERAL MOTORS CORP.