LEMON Manuals: Even more car manuals for everyone: 1960-2025
Home >> Cadillac >> 1994 >> Fleetwood Base >> Repair and Diagnosis >> Engine Performance >> System >> Engine Controls - Tests W/Codes >> ECM/Pcm Code Charts >> Code 97, VSS Output Circuit >> Diagnostic Aids
April 5, 2026: LEMON Manuals is launched! Read the announcement.

Diagnostic Aids

Inspect harness and all related connections, including PCM connections.

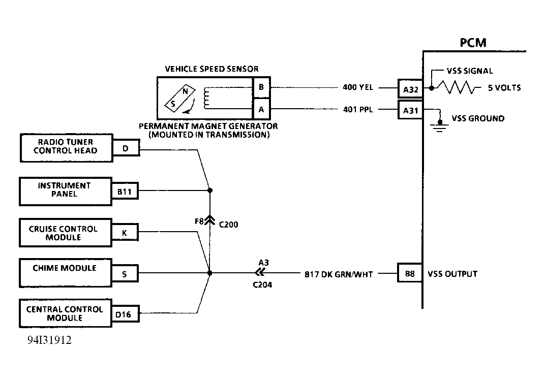
Fig 1: Code 97 Schematic (Fleetwood) VSS Output Circuit
G94I31912
Fig 2: Code 97 Flow Chart (Fleetwood) VSS Output Circuit
G94G31969