LEMON Manuals: Even more car manuals for everyone: 1960-2025
Home >> Cadillac >> 1996 >> Eldorado Base >> Repair and Diagnosis >> Electrical >> Starter >> Starting System >> Torque Specifications
April 5, 2026: LEMON Manuals is launched! Read the announcement.

Torque Specifications

TORQUE SPECIFICATIONS

Application Ft. Lbs. (N.m)
Eldorado 22 (30)
Fig 1: Exploded View Of Delco-Remy Starter Motor (SD260) (Eldorado)
G94J33711Courtesy of GENERAL MOTORS CORP.
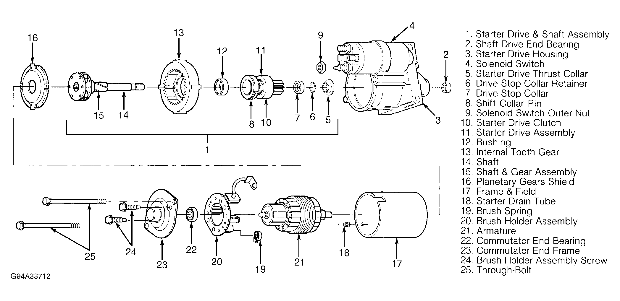
Fig 2: Exploded View Of Delco-Remy Starter Motor (PG250) (Eldorado)
G94A33712Courtesy of GENERAL MOTORS CORP.