LEMON Manuals: Even more car manuals for everyone: 1960-2025
Home >> Cadillac >> 1996 >> Eldorado Base >> Repair and Diagnosis >> External Pages >> Different car >> Section 33 (Engine Controls - Basic Testing 4.0L) >> On-Board Diagnostic (OBD) System Check >> The OBD System Check Determines:
April 5, 2026: LEMON Manuals is launched! Read the announcement.

The OBD System Check Determines:

WARNING: This page is about a different car, the 1996 Oldsmobile Aurora. However, it is still accessible from the selected car via links, so may be relevant.

After performing procedures in PRELIMINARY INSPECTION & ADJUSTMENTS, BASIC FUEL SYSTEM CHECKS and BASIC IGNITION SYSTEM CHECKS, this is the starting point for utilizing the self-diagnostic system for determining computer-related problems. After performing necessary tests as described in the diagnostic circuit check, if no codes are indicated and driveability problems still exist, see TESTS W/O CODES article and SCAN TESTER USAGE in TESTS W/CODES article.

  1. Turn ignition on with engine off. Observe Malfunction Indicator Light (MIL). If MIL illuminates, go to next step. If MIL does not illuminate, go to ON-BOARD DIAGNOSTIC (OBD) SYSTEM CHECK  .
  2. Turn ignition off. Install Tech 1 scan tool and follow scan tool manufacturer's instructions to proceed with test. Turn ignition on. If scan tool displays PCM data, go to next step. If scan tool does not display PCM data, go to A-2/A-4, DLC DIAGNOSIS OR NO SCAN TOOL DATA.
  3. Attempt to start engine. If engine start and runs, go to next step. If engine does not start or starts and dies, go to NO START DIAGNOSIS (A-3)  .
  4. Using scan tool, observe DTC statuses; MIL REQUEST, FAIL THIS IGN, LAST TST FAIL and HISTORY. If any of these DTC status are present, refer to affected DTC to diagnose problem. If DTC(s) are not present, check related circuit or component(s). See SYSTEM/COMPONENT TESTS article.
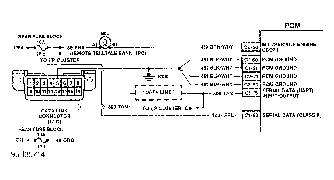
Fig 1: Data Link Connector Circuit
G95H35714Courtesy of GENERAL MOTORS CORP.