LEMON Manuals: Even more car manuals for everyone: 1960-2025
Home >> Cadillac >> 2000 >> Catera >> Repair and Diagnosis (Single Page) >> Accessories & Equipment >> Communication Devices >> Data Link Communications System >> Diagnostic Information And Procedures >> DTC U2106: Lost Comm with Trans Control System >> Notes
April 5, 2026: LEMON Manuals is launched! Read the announcement.

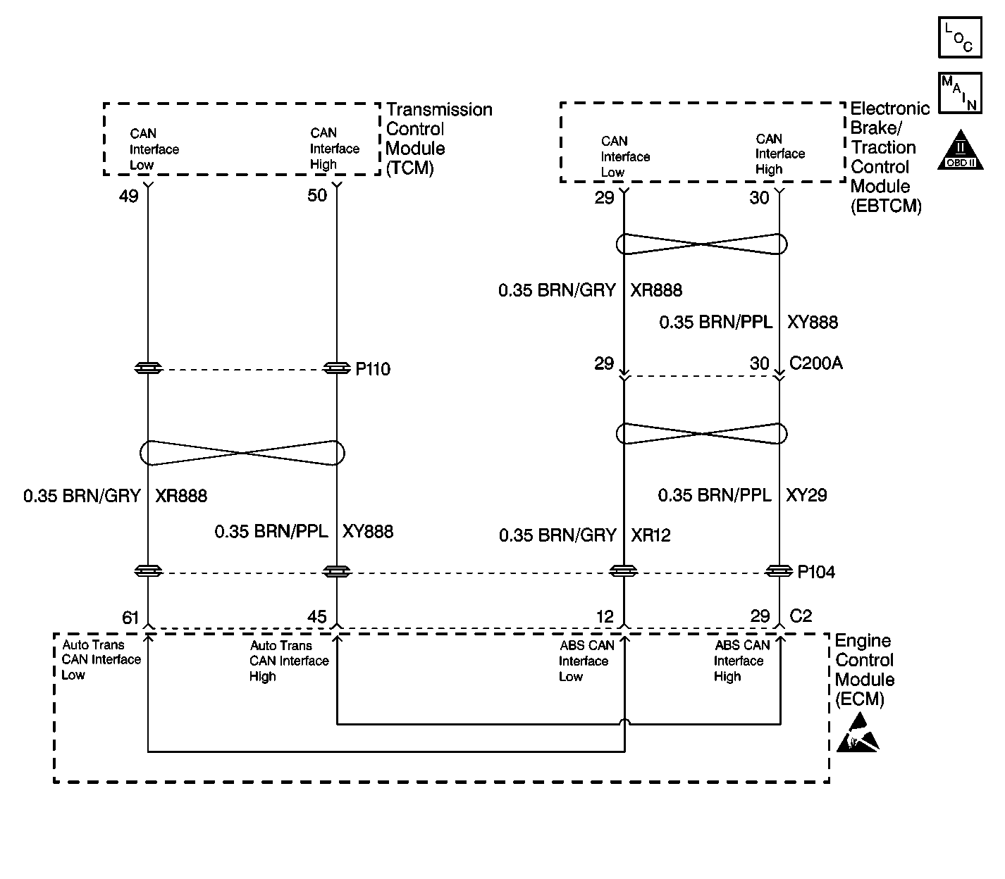
DTC U2106: Lost Comm with Trans Control System: Notes

Fig 1: CAN Bus Communication Schematic
GM460755