LEMON Manuals: Even more car manuals for everyone: 1960-2025
Home >> Cadillac >> 2000 >> Escalade V8-5.7L VIN R >> Repair and Diagnosis >> Diagrams >> Electrical Diagrams >> Powertrain Management >> Computers and Control Systems >> Body Control Module >> Door Lock Controls
April 5, 2026: LEMON Manuals is launched! Read the announcement.

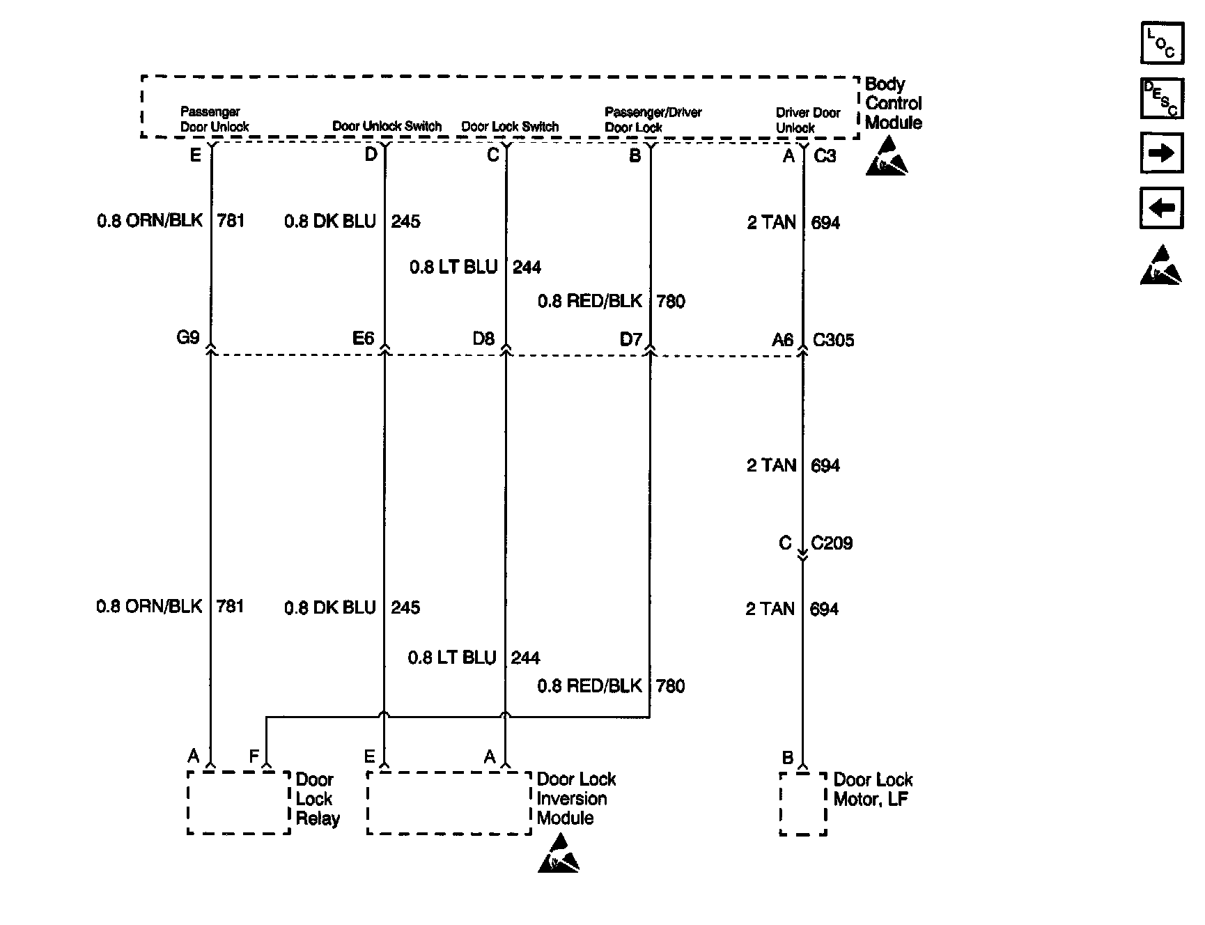
Door Lock Controls

Body Control Module Schematics: Door Lock Controls: