LEMON Manuals: Even more car manuals for everyone: 1960-2025
Home >> Cadillac >> 2000 >> Escalade >> Repair and Diagnosis >> Body & Frame >> Body, Cab Control Systems >> Body Control Modules - Old Style >> Diagnostic Tests >> DTC 25/35: Security Indicator Light Status >> Testing
April 5, 2026: LEMON Manuals is launched! Read the announcement.

DTC 25/35: Security Indicator Light Status: Testing

  1. Turn ignition switch to RUN position. If SECURITY indicator light illuminates, go to next step. If SECURITY indicator light does not illuminate, go to step  3 .
  2. Attempt to enter Body Control Module (BCM) diagnostic mode. If SECURITY indicator light flashes DTCs, system is operating properly. Go to appropriate diagnostic procedure. See BCM DTC DEFINITIONS  table under SELF-DIAGNOSTIC SYSTEM. If SECURITY indicator light does not flash DTCs, go to next step.
  3. Ensure ignition switch is in RUN position. Disconnect Red 2-pin SECURITY indicator light connector. Connect DVOM between ground and Red 2-pin SECURITY indicator light connector terminal "B" (Dark Green wire). If battery voltage exists, go to step  5 . If battery voltage does not exist, go to next step.
  4. Turn ignition switch to OFF position. Check for open or poor connection in Dark Green wire between Blue 32-pin BCM connector C1 terminal C16 and Red 2-pin SECURITY indicator light connector terminal "B". See appropriate wiring diagram in appropriate ANTI-THEFT SYSTEMS article. See Figure . Repair as necessary and retest operation. If Dark Green wire is okay, go to step  8 .
  5. Connect DVOM between ground and Red 2-pin SECURITY indicator light connector terminal "A" (Black wire). If continuity exists, go to next step. If continuity does not exist, go to step  7 .
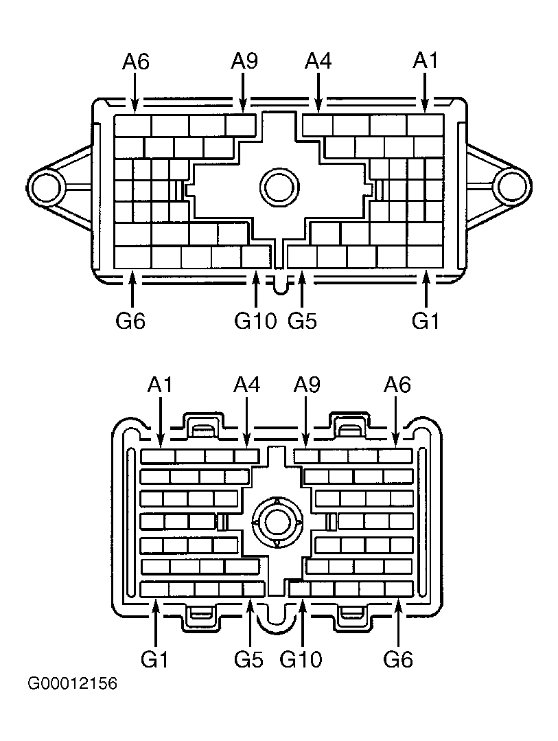
  6. Check for poor connection or open in Black wire between Black 6-pin BCM connector C2 terminal "A" and Black 56-pin in-line harness connector terminal G1. See WIRING DIAGRAMS  . See Fig 1 . Repair as necessary and retest operation. If Black wire checks okay, go to step  8 .
  7. Check for open in Black wire between Red 2-pin SECURITY indicator light connector terminal "A" and ground connection located under right side of instrument panel mounted to Heating Ventilation Air Conditioning (HVAC) plenum bracket. See appropriate wiring diagram in appropriate ANTI-THEFT SYSTEMS article. Repair as necessary and retest operation. If Black wire checks okay, go to next step.
  8. Replace Body Control Module (BCM). See BODY CONTROL MODULE (BCM)  under REMOVAL & INSTALLATION. Reprogram RKE transmitter(s). Retest operation.
Fig 1: Identifying Black 56-Pin In-Line Harness Connector Terminals
G00012156Courtesy of GENERAL MOTORS CORP.