LEMON Manuals: Even more car manuals for everyone: 1960-2025
Home >> Cadillac >> 2000 >> Seville STS V8-4.6L VIN 9 >> Repair and Diagnosis >> Diagrams >> Electrical Diagrams >> Powertrain Management >> Computers and Control Systems >> Body Control Module >> RIM Input/Output
April 5, 2026: LEMON Manuals is launched! Read the announcement.

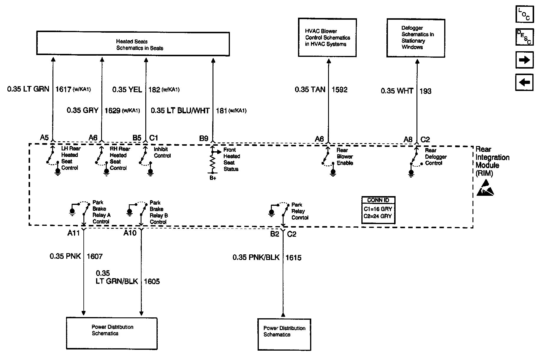
RIM Input/Output

Body Control Module Schematics: RIM Inputs And Outputs (Part 1 Of 2):



Body Control Module Schematics: RIM Inputs And Outputs (Part 2 Of 2):