LEMON Manuals: Even more car manuals for everyone: 1960-2025
Home >> Cadillac >> 2000 >> Seville STS V8-4.6L VIN 9 >> Repair and Diagnosis >> Diagrams >> Exploded Views >> Engine >> System Diagram
April 5, 2026: LEMON Manuals is launched! Read the announcement.

System Diagram









Engine Covers and Component Assemblies (1 of 2)








Engine Covers and Component Assemblies (2 of 2)





Camshaft Cover Assembly





Camshaft Timing Components





Intake Manifold





Cylinder Head Assemblies





Water Crossover and Throttle Body Assembly





Oil Pump





Engine Block Assembly





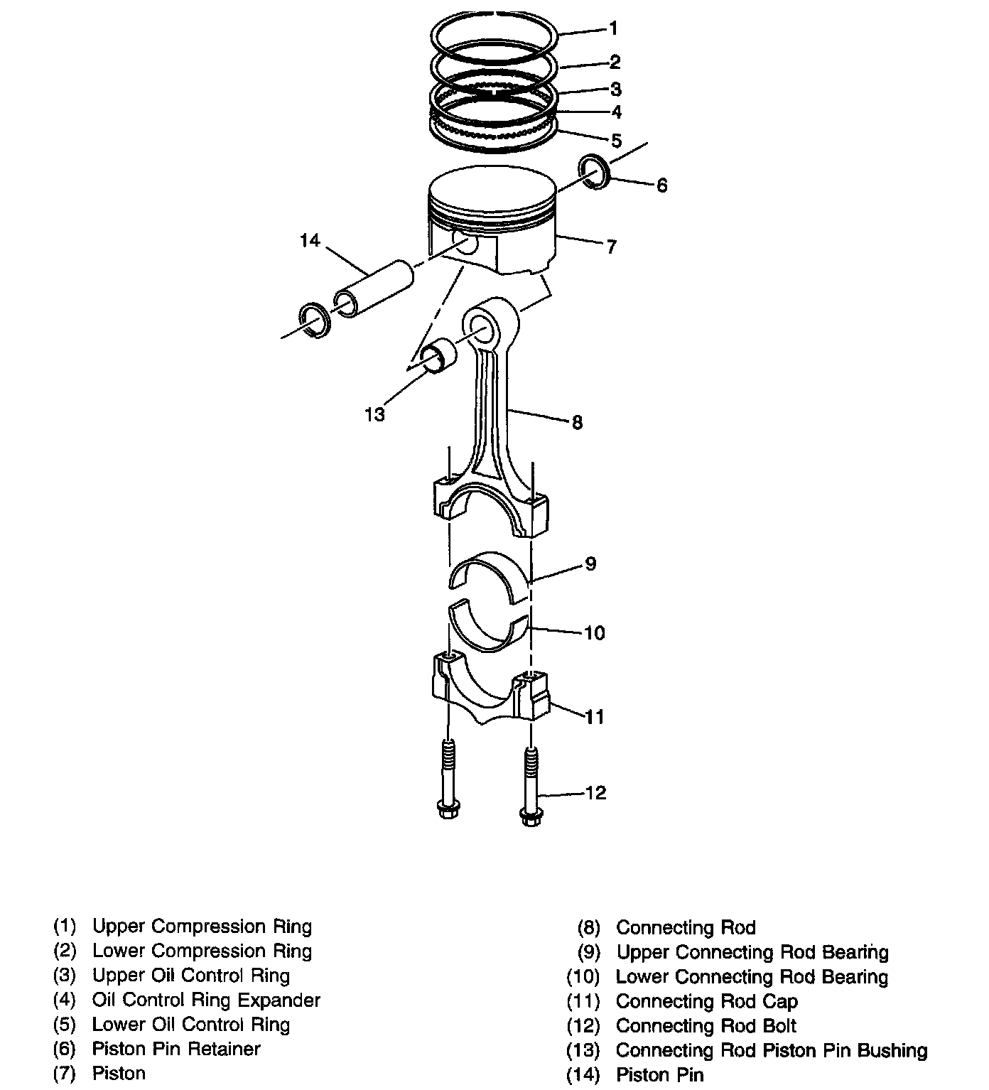
Piston, Rings, Bearing and Connecting Rod





Oil Filter Adapter





Oil Filter Adapter with Oil Cooler