LEMON Manuals: Even more car manuals for everyone: 1960-2025
Home >> Cadillac >> 2000 >> Seville STS V8-4.6L VIN 9 >> Repair and Diagnosis >> Powertrain Management >> Computers and Control Systems >> Relays and Modules - Computers and Control Systems >> Body Control Module >> Diagrams >> Electrical Diagrams >> IPM Power and Ground
April 5, 2026: LEMON Manuals is launched! Read the announcement.

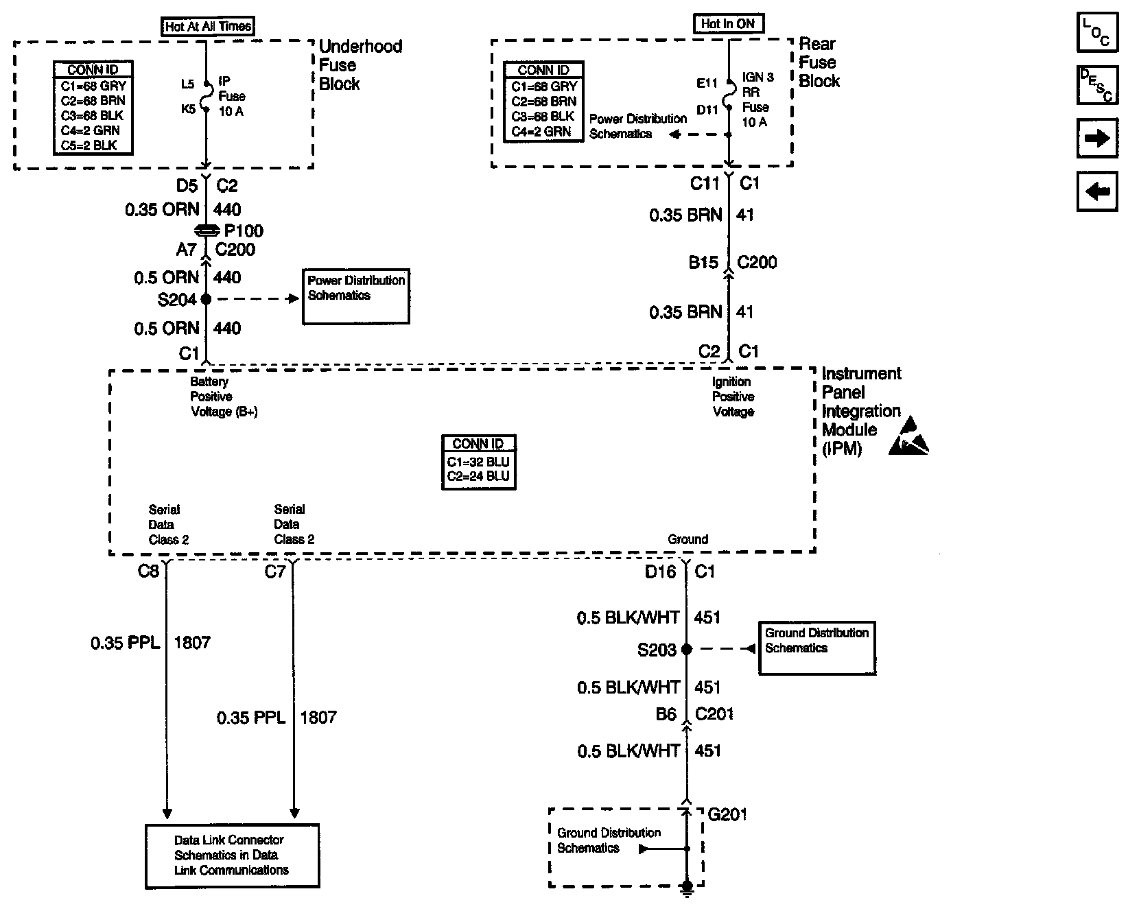
IPM Power and Ground

Body Control Module Schematics: IPM Power And Ground: