LEMON Manuals: Even more car manuals for everyone: 1960-2025
Home >> Cadillac >> 2002 >> Escalade EXT >> Repair and Diagnosis (Single Page) >> Accessories & Equipment >> Headlights >> Lighting Systems >> Component Locator >> Lighting Systems Component Views
April 5, 2026: LEMON Manuals is launched! Read the announcement.

Lighting Systems Component Views

Fig 1: Cargo Lamps (Avalanche/Escalade EXT)
G01696512Courtesy of GENERAL MOTORS CORP.
Fig 2: Underhood Lamp Assembly
G01696513Courtesy of GENERAL MOTORS CORP.
Fig 3: Roof Marker & Clearance Lamps
G01696514Courtesy of GENERAL MOTORS CORP.
Fig 4: Junction Block - Rear Lamps
G01696515Courtesy of GENERAL MOTORS CORP.
Fig 5: Left Foglamp (RH Similar)
G01696516Courtesy of GENERAL MOTORS CORP.
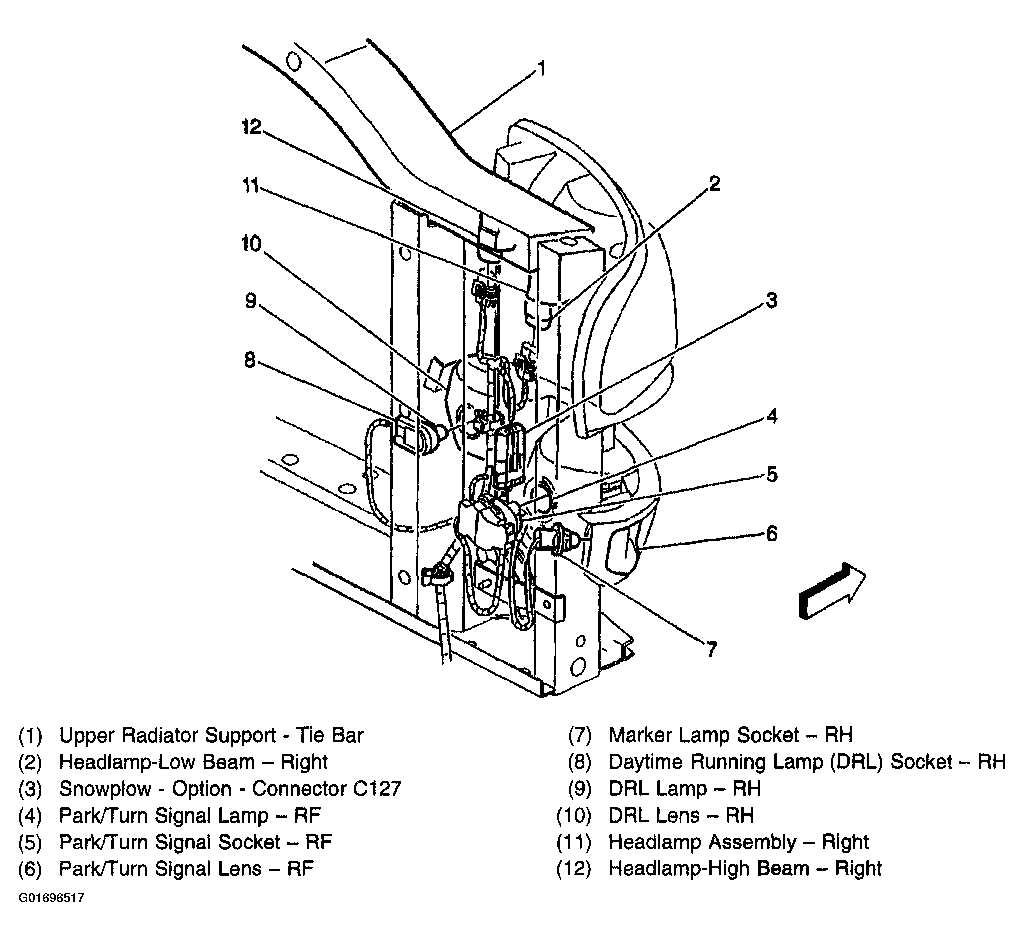
Fig 6: RH Front Of Vehicle
G01696517Courtesy of GENERAL MOTORS CORP.
Fig 7: LH Front Of Vehicle
G01696518Courtesy of GENERAL MOTORS CORP.
Fig 8: Sunload Sensor Assembly
G01696519Courtesy of GENERAL MOTORS CORP.
Fig 9: Center High Mounted Stop Lamp (CHMSL)
G01696520Courtesy of GENERAL MOTORS CORP.
Fig 10: Steering Column
G01696521Courtesy of GENERAL MOTORS CORP.
Fig 11: Instrument Panel Switches - LH
G01696522Courtesy of GENERAL MOTORS CORP.
Fig 12: Left Hand Lower Dash
G01696523Courtesy of GENERAL MOTORS CORP.
Fig 13: Accessory Switch Housing
G01696524Courtesy of GENERAL MOTORS CORP.
Fig 14: Accessory Power Outlets
G01696525Courtesy of GENERAL MOTORS CORP.
Fig 15: Instrument Panel Compartment Lamp
G01696526Courtesy of GENERAL MOTORS CORP.
Fig 16: Left Door Courtesy Lamp (RH Similar)
G01696527Courtesy of GENERAL MOTORS CORP.
Fig 17: Overhead Console
G01696528Courtesy of GENERAL MOTORS CORP.
Fig 18: License Plate Lamp (Utilities)
G01696529Courtesy of GENERAL MOTORS CORP.
Fig 19: License Lamps
G01696530Courtesy of GENERAL MOTORS CORP.
Fig 20: Trailer Wiring Connector, Heavy Duty
G01696531Courtesy of GENERAL MOTORS CORP.