LEMON Manuals: Even more car manuals for everyone: 1960-2025
Home >> Cadillac >> 2002 >> Escalade EXT >> Repair and Diagnosis (Single Page) >> Accessories & Equipment >> Wiper/Washer Systems >> Wiper System & Washer System >> Component Locator >> Wiper/Washer System Component Views
April 5, 2026: LEMON Manuals is launched! Read the announcement.

Wiper/Washer System Component Views

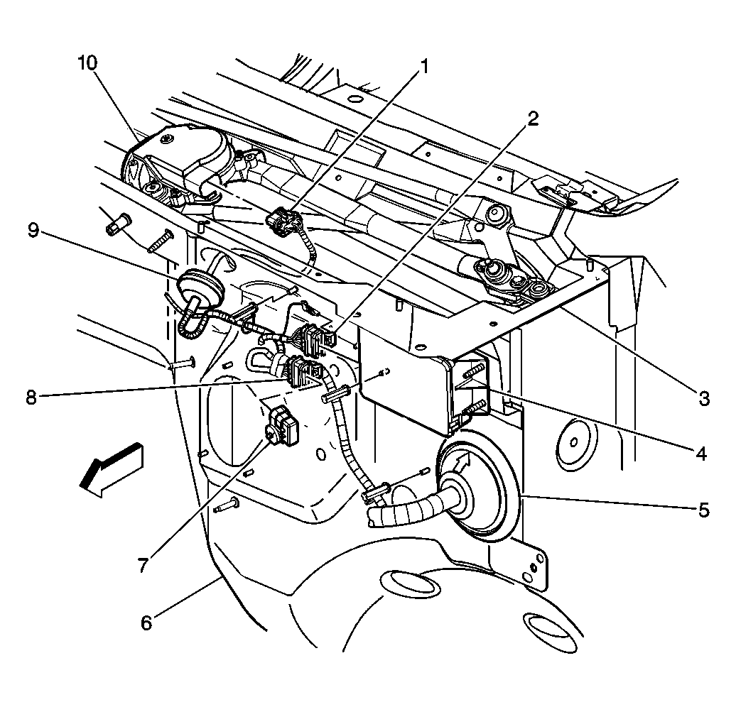
Fig 1: Left Rear Underhood Component View - Front of Dash
GM310036Courtesy of GENERAL MOTORS CORP.
Callout Component Name
1 Windshield Wiper Motor Module Electrical Connector
2 Cruise Control Module (CCM) Connector
3 Plenum Panel
4 Cruise Control Module
5 P100
6 Dash Panel
7 Cap For Connector, Without Cruise Control
8 Cruise Control Module (CCM) Connector
9 Harness Pass Through
10 Windshield Wiper Motor Module
Fig 2: LF Corner of the Vehicle Components - Wiper/Washer
GM668878Courtesy of GENERAL MOTORS CORP.
Callout Component Name
1 Forward Lamp Harness
2 Windshield Washer Reservoir
3 Windshield Washer Fluid Pump Connector
4 Washer Fluid Level Sensor Connector
5 Radiator Support
Fig 3: Steering Column Components
GM349986Courtesy of GENERAL MOTORS CORP.
Callout Component Name
1 Hazard Button
2 High Beams/Cruise/Wiper/Washer
3 Cruise Control Switches
4 Tilt Steering Actuator
5 Inflatable Restraint Harness
6 C201 Inline Connector
Fig 4: Rear Window Wiper Switch Component View
GM625165Courtesy of GENERAL MOTORS CORP.
Callout Component Name
1 Air Deflector Housing
2 Rear Wiper/Washer Switch
3 Fog Lamp Switch
Fig 5: Rear Window Wiper Motor Component View
GM625167Courtesy of GENERAL MOTORS CORP.
Callout Component Name
1 Rear Window Liftgate Harness
2 Liftgate
3 Window Wiper Module-Rear