LEMON Manuals: Even more car manuals for everyone: 1960-2025
Home >> Cadillac >> 2002 >> Escalade EXT >> Repair and Diagnosis (Single Page) >> Body & Frame >> Seats >> Power Seat System >> Repair Instructions >> Memory Seat Control Module Replacement >> Installation Procedure
April 5, 2026: LEMON Manuals is launched! Read the announcement.

Installation Procedure

    Fig 1: Installing Memory Seat Control Module
    GM381489Courtesy of GENERAL MOTORS CORP.
  1. Slide the module in until seated.
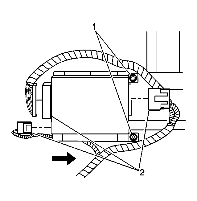
  2. Fig 2: Harness Connectors & Memory Module Retaining Screws
    GM378544Courtesy of GENERAL MOTORS CORP.
    NOTE: Refer to FASTENER NOTICE .
  3. Install the memory module retaining screws (1).

    Tighten:  Tighten the screws to 3 N.m (26 lb in).

  4. Connect the harness connectors (2).
  5. Install the seat cushion. Refer to Seat Cushion Frame Replacement - Front .
  6. Install the seat trim panel. Refer to Trim Panel Replacement - Front Seat .
  7. If you installed a new memory seat, calibrate the seat. Refer to Memory Seat Calibration Procedure .