LEMON Manuals: Even more car manuals for everyone: 1960-2025
Home >> Cadillac >> 2002 >> Escalade EXT >> Repair and Diagnosis (Single Page) >> Body & Frame >> Windows >> Door System, Mirror System & Window System >> Component Locator >> Power Door Systems Connector End Views
April 5, 2026: LEMON Manuals is launched! Read the announcement.

Power Door Systems Connector End Views

Door Contact Plate - Left Cargo Connector C1

GM62450Courtesy of GENERAL MOTORS CORP.
Connector Part Information
  • 12052856
  • 4-Way F Metri-pack 280 Series (BLK)
Pin Wire Color Circuit No. Function
A PPL 1093 Rear Defog Element Supply Voltage
B PPL 1093 Rear Defog Element Supply Voltage
C PNK/BLK 1303 RAP Fuse Supply Voltage
D - - Not Used
Door Contact Plate - Left Cargo Connector C2

GM62450Courtesy of GENERAL MOTORS CORP.
Connector Part Information
  • 12052856
  • 4-Way F Metri-pack 280 Series (BLK)
Pin Wire Color Circuit No. Function
A-B - - Not Used
C PNK/BLK 1303 RAP Fuse Supply Voltage
D PPL 1093 Rear Defog Element Supply Voltage
Door Contact Plate - Right Cargo Connector C1

GM62450Courtesy of GENERAL MOTORS CORP.
Connector Part Information
  • 12052856
  • 4-Way F Metri-pack 280 Series (BLK)
Pin Wire Color Circuit No. Function
A-B - - Not Used
C PNK/BLK 1303 RAP Fuse Supply Voltage
D PPL 1093 Rear Defog Element Supply Voltage
Door Contact Plate - Right Cargo Connector C2

GM655675Courtesy of GENERAL MOTORS CORP.
Connector Part Information
  • 12041431
  • 3-Way F Metri-pack 280 Series (BLK)
Pin Wire Color Circuit No. Function
A LT GRN 262 Driver Door Key Switch Signal
B GRY/BLK 255 Power Door Lock Fuse Supply Voltage
C TAN/BLK 254 Power Door Unlock Fuse Supply Voltage
Door Contact Plate - Right Cargo Connector C3

GM62450Courtesy of GENERAL MOTORS CORP.
Connector Part Information
  • 12052856
  • 4-Way F Metri-pack 280 Series (BLK)
Pin Wire Color Circuit No. Function
A PPL 1093 Rear Defog Element Supply Voltage
B PNK/BLK 1303 RAP Fuse Supply Voltage
C-D - - Not Used
Door Contact Plate - Right Cargo Connector C4

GM655675Courtesy of GENERAL MOTORS CORP.
Connector Part Information
  • 12041431
  • 3-Way F Metri-pack 280 Series (BLK)
Pin Wire Color Circuit No. Function
A LT GRN 262 Driver Door Key Switch Signal
B GRY/BLK 255 Power Door Lock Fuse Supply Voltage
C TAN/BLK 254 Power Door Unlock Fuse Supply Voltage
Door Lock Actuator - Cargo/Liftgate, All Except Avalanche/Escalade EXT Connector End Views

GM684799Courtesy of GENERAL MOTORS CORP.
Connector Part Information
  • 12077900
  • 2-Way F Metri-pack 280 Series Sealed (BLK)
Pin Wire Color Circuit No. Function
A TAN/BLK 254 Power Door Unlock Fuse Supply Voltage
B GRY/BLK 255 Power Door Lock Fuse Supply Voltage
Door Lock Actuator - Driver Connector End Views

GM68721Courtesy of GENERAL MOTORS CORP.
Connector Part Information
  • 15300027
  • 3-Way F Metri-pack 280 Series Sealed (BLK)
Pin Wire Color Circuit No. Function
A TAN 694 Driver Door Lock Actuator Unlock Control
B GRY 295 Door Lock Actuator Lock Control
Door Lock Actuator - Front Passenger/RR/LR Connector End Views

GM68721Courtesy of GENERAL MOTORS CORP.
Connector Part Information
  • 15300027
  • 3-Way F Metri-pack 280 Series Sealed (BLK)
Pin Wire Color Circuit No. Function
A TAN/BLK 254 Power Door Unlock Fuse Supply Voltage
B GRY/BLK 255 Power Door Lock Fuse Supply Voltage
Door Lock Switch - Driver/Front Passenger Connector End Views

GM73231Courtesy of GENERAL MOTORS CORP.
Connector Part Information
  • 12064860
  • 6-Way F Metri-pack 150 Series (BLK)
Pin Wire Color Circuit No. Function
A WHT 194 Door Unlock Control
B BRN 2409 Interior Park Lamps Supply Voltage
C - - Not Used
D BLK 1850 Ground - Driver Side
BLK 2450 Ground - Front Passenger Side
E ORN 2140 Battery Positive Voltage
F LT BLU 195 Door Lock Control
Memory Mirror Module Connector C1 Connector End Views

GM744295Courtesy of GENERAL MOTORS CORP.
Connector Part Information
  • 12084944
  • 16-Way F Micro-Pack 100 Series (BLK)
Pin Wire Color Circuit No. Function
A1 RED/WHT 2203 Passenger Mirror Switch Right Signal
A2 PPL 616 Memory 2 Switch Signal
A3 WHT 2217 Driver Mirror Switch Right Signal
A4 ORN 614 Memory Set Switch Signal
A5 PPL/WHT 2205 Passenger Mirror Switch Down Signal
A6 YEL 1496 Mirror Switch Left/Up Signal
A7 LT GRN 2204 Driver Mirror Switch Down Signal
A8 PPL/WHT 889 Passenger Mirror Motor Down Control
B1 WHT 615 Memory 1 Switch Signal
B2-B7 - - Not Used
B8 RED/WHT 881 Passenger Mirror Motor Right Control
Memory Mirror Module Connector C2

GM73152Courtesy of GENERAL MOTORS CORP.
Connector Part Information
  • 12084945
  • 16-Way F Micro-Pack 100 Series (BLK)
Pin Wire Color Circuit No. Function
A1 LT GRN 89 Driver Mirror Motor Down Control
A2 WHT 330 Passenger Mirror Motor Supply Voltage
A3 YEL 329 Driver Mirror Motor Supply Voltage
A4 DK GRN 784 Driver Mirror Vertical Position Sensor Signal
A5 BRN 787 Passenger Mirror Vertical Position Sensor Signal
A6 GRY 788 5 Volt Reference
A7 DK BLU 672 5 Volt Reference
A8 ORN 2140 Battery Positive Voltage
B1 BRN 1046 DDM Class 2 Serial Data
B2 - - Not Used
B3 WHT 81 Driver Mirror Motor Right Control
B4 BLK 1850 Ground
B5 GRY 786 Driver Mirror Horizontal Position Sensor Signal
B6 GRY 2207 Low Reference
B7 LT BLU/
BLK
785 Passenger Mirror Horizontal Position Sensor Signal
B8 YEL 674 5 Volt Reference
Outside Rearview Mirror - Driver, Except Z75 Connector End Views

GM62434Courtesy of GENERAL MOTORS CORP.
Connector Part Information
  • 12045688
  • 8-Way M Metri-pack 150 Series (BLK)
Pin Wire Color Circuit No. Function
A ORN 2267 Mirror Heating Element Supply Voltage
B PNK 1691 Automatic Day/Night Mirror Low Reference
C YEL 1496 Mirror Motor Left/Up Control
D LT GRN 89 Driver Mirror Motor Down Control
E WHT 81 Driver Mirror Motor Right Control
F WHT 1430 Exterior Courtesy Lamps Supply Voltage
G GRY 1690 Automatic Day/Night Mirror Signal
H BLK 1850 Ground
Outside Rearview Mirror - Driver Connector C1 (Z75)

GM62434Courtesy of GENERAL MOTORS CORP.
Connector Part Information
  • 12045688
  • 8-Way M Metri-Pack 150 Series (NAT)
Pin Wire Color Circuit No. Function
A ORN 2267 Mirror Heating Element Supply Voltage
B PNK 1691 Automatic Day/Night Mirror Low Reference
C YEL 329 Driver Mirror Motor Supply Voltage
D LT GRN 89 Driver Mirror Motor Down Control
E WHT 81 Driver Mirror Motor Right Control
F WHT 1430 Exterior Courtesy Lamps Supply Voltage
G GRY 1690 Automatic Day/Night Mirror Signal
H BLK 1850 Ground
Outside Rearview Mirror - Driver Connector C2 (Z75)

GM62439Courtesy of GENERAL MOTORS CORP.
Connector Part Information
  • 12045688
  • 8-Way F Metri-Pack 150 Series (BLK)
Pin Wire Color Circuit No. Function
A DK GRN 784 Driver Mirror Vertical Position Sensor Signal
B GRY 2207 Low Reference
C - - Not Used
D YEL 190 Folding Mirror Motor Extend
E LT BLU 191 Folding Mirror Motor Retract
F - - Not Used
G GRY 786 Driver Mirror Horizontal Position Sensor Signal
H DK BLU 672 5 Volt Reference
Outside Rearview Mirror - Passenger, Except Z75 Connector End Views

GM62434Courtesy of GENERAL MOTORS CORP.
Connector Part Information
  • 12045688
  • 8-Way M Metri-pack 150 Series (BLK)
Pin Wire Color Circuit No. Function
A ORN 2267 Mirror Heating Element Supply Voltage
B - - Not Used
C YEL 1496 Mirror Motor Leftt/Up Control
D PPL/WHT 889 Passenger Mirror Motor Down Control
E RED/WHT 881 Passenger Mirror Motor Right Control
F WHT 1430 Exterior Courtesy Lamps Supply Voltage
G - - Not Used
H BLK 1050 Ground
Outside Rearview Mirror - Passenger Connector C1 (Z75)

GM62434Courtesy of GENERAL MOTORS CORP.
Connector Part Information
  • 12045688
  • 8-Way M Metri-Pack 150 Series (NAT)
Pin Wire Color Circuit Number Function
A ORN 2267 Mirror Heating Element Supply Voltage
B - - Not Used
C WHT 330 Passenger Mirror Motor Supply Voltage
D PPL/WHT 889 Passenger Mirror Motor Down Control
E RED/WHT 881 Passenger Mirror Motor Right Control
F WHT 1430 Exterior Courtesy Lamps Supply Voltage
G - - Not Used
H BLK 1050 Ground
Outside Rearview Mirror - Passenger Connector C2 (Z75)

GM62439Courtesy of GENERAL MOTORS CORP.
Connector Part Information
  • 12045688
  • 8-Way F Metri-Pack 150 Series (BLK)
Pin Wire Color Circuit Number Function
A BRN 787 Passenger Mirror Vertical Position Sensor Signal
B GRY 788 5 Volt Reference
C - - Not Used
D YEL 190 Folding Mirror Motor Extend
E LT BLU 191 Folding Mirror Motor Retract
F - - Not Used
G LT BLU
/BLK
785 Passenger Mirror Horizontal Position Sensor Signal
H YEL 674 5 Volt Reference
Outside Rearview Power Folding Mirror Switch Connector End Views

GM655694Courtesy of GENERAL MOTORS CORP.
Connector Part Information
  • 12177014
  • 8-Way F Metri-pack 150 Series (NAT)
Pin Wire Color Circuit No. Function
A GRY 8 Instrument Panel Lamp Supply Voltage - 1
B BLK 1850 Ground
C ORN 1840 Battery Positive Voltage
D YEL 190 Folding Mirror Motor Extend
E LT BLU 191 Folding Mirror Motor Retract
F-H - - Not Used
Outside Rearview Mirror Switch Connector End Views

GM62464Courtesy of GENERAL MOTORS CORP.
Connector Part Information
  • 12064769
  • 10-Way F Metri-pack 150 Series (NAT)
Pin Wire Color Circuit No. Function
A BRN 2409 Interior Park Lamps Supply Voltage
B BLK 1850 Ground
C LT GRN 89 Driver Mirror Motor Down Control-Except Z75
C LT GRN 2204 Driver Mirror Switch Down Signal (Z75)
D YEL 1496 Mirror Motor Left/Up Control - Except Z75
D - - Not Used (Z75)
E YEL 1496 Mirror Motor Left/Up Control - Except Z75
E YEL 1496 Mirror Motor Left/Up Signal (Z75)
F WHT 81 Driver Mirror Motor Right Control-Except Z75
F WHT 2217 Driver Mirror Switch Right Signal (Z75)
G ORN 2140 Battery Positive Voltage
H - - Not Used
J RED/WHT 881 Passenger Mirror Motor Right Control- Except Z75
J RED/WHT 2203 Passenger Mirror Switch Right Signal (Z75)
K PPL/WHT 889 Passenger Mirror Motor Down Control- Except Z75
K PPL/WHT 2205 Passenger Mirror Switch Down Signal (Z75)
Window Switch - LR/RR Connector End Views

GM333036Courtesy of GENERAL MOTORS CORP.
Connector Part Information
  • 12191825
  • 8-Way Metri-pack 280 Series (BLK)
Pin Wire Color Circuit No. Function
A DK BLU 668 Power Window Motor Left Rear/Right Rear Up Control
B BRN 669 Power Window Motor Left Rear/Right Rear Down Control
C BLK 1150 Ground
D DK GRN 168 Power Window Master Switch Left Rear/Right Rear Up Signal
E DK BLU 1307 Power Window Master Switch Lockout Signal
F BRN 2409 Interior Park Lamps Supply Voltage
G PPL 169 Power Window Master Switch Left Rear/Right Rear Down Signal
H DK GRN 1001 RAP Fuse Supply Voltage
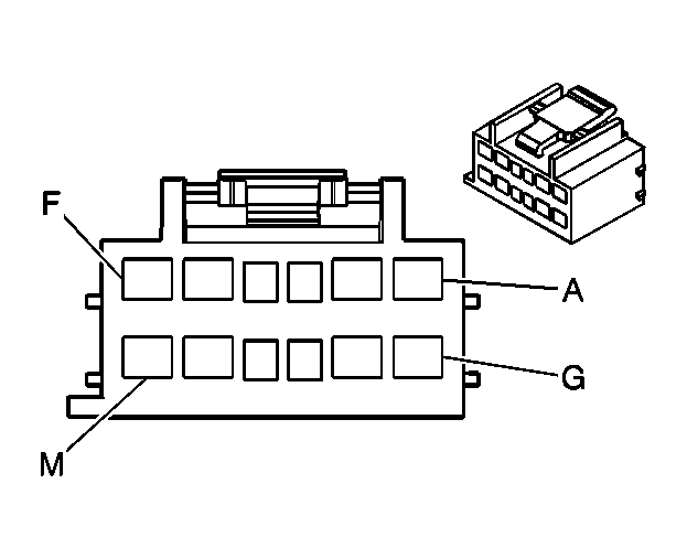
Window/Door Lock Switch - Driver Connector C1 (Except Base)

GM524242Courtesy of GENERAL MOTORS CORP.
Connector Part Information
  • 15336888
  • 12-Way F GT 150 280 (BLK)
Pin Wire Color Circuit No. Function
A ORN 2140 Battery Positive Voltage
ORN 2140 Battery Positive Voltage (w/AN3)
B ORN 2140 Battery Positive Voltage
C LT BLU 195 Door Lock Control
D LT GRN 170 Power Window Master Switch Right Rear Up Signal
E PPL 171 Power Window Master Switch Right Rear Down Signal
F BLK 1850 Ground
BLK 1850 Ground
G BRN 2409 Interior Park Lamps Supply Voltage
BRN 2409 Interior Park Lamps Supply Voltage
H BRN 2409 Interior Park Lamps Supply Voltage
J WHT 194 Door Unlock Control
K DK GRN 168 Power Window Master Switch Left Rear Up Signal
L PPL 169 Power Window Master Switch Left Rear Down Signal
M BLK 1850 Ground
Window/Door Lock Switch - Driver Connector C2 (Except Base)

GM655865Courtesy of GENERAL MOTORS CORP.
Connector Part Information
  • 15336889
  • 12-Way F GT 150 280 (MD GRY)
Pin Wire Color Circuit No. Function
A DK BLU 164 Power Window Motor Left Front Up Control
B LT BLU 166 Power Window Master Switch Right Front Up Signal
C TAN 167 Power Window Master Switch Right Front Down Signal
D DK BLU 1307 Power Window Master Switch Lockout Signal
E - - Not Used
F DK GRN 1001 RAP Fuse Supply Voltage
G BLK 1850 Ground
BLK 1850 Ground
H BLK 1850 Ground
J-L - - Not Used
M BRN 165 Power Window Motor Left Front Down Control
Window/Door Lock Switch - Front Passenger Connector End Views

GM524242Courtesy of GENERAL MOTORS CORP.
Connector Part Information
  • 15336888
  • 12-Way F GT 150 280 (BLK)
Pin Wire Color Circuit No. Function
A DK BLU 666 Power Window Motor Right Front Up Control
B BRN 2409 Interior Park Lamps Supply Voltage
C WHT 194 Door Unlock Control
D LT BLU 195 Door Lock Control
E ORN 2140 Battery Positive Voltage
F BRN 667 Power Window Motor Right Front Down Control
G BLK 1050 Ground
BLK 1050 Ground
H BLK 1050 Ground
J DK BLU 1307 Power Window Master Switch Lockout Signal
K LT BLU 166 Power Window Master Switch Right Front Up Signal
L TAN 167 Power Window Master Switch Right Front Down Signal
M DK GRN 801 RAP Fuse Supply Voltage
Window Motor - Driver Connector End Views

GM684837Courtesy of GENERAL MOTORS CORP.
Connector Part Information
  • 12129487
  • 2-Way F Metri-pack 280 Series Flexlock Sealed (MD GRY)
Pin Wire Color Circuit No. Function
A DK BLU 164 Power Window Motor Left Front Up Control
B BRN 165 Power Window Motor Left Front Down Control
Window Motor - Front Passenger Connector End Views

GM684837Courtesy of GENERAL MOTORS CORP.
Connector Part Information
  • 12129487
  • 2-Way F Metri-pack 280 Series Flexlock Sealed (MD GRY)
Pin Wire Color Circuit No. Function
A DK BLU 666 Power Window Motor Right Front Up Control
B BRN 667 Power Window Motor Right Front Down Control
Window Motor - LR/RR Connector End Views

GM684837Courtesy of GENERAL MOTORS CORP.
Connector Part Information
  • 12129487
  • 2-Way F Metri-pack 280 Series Flexlock Sealed (MD GRY)
Pin Wire Color Circuit No. Function
A DK BLU 668 Power Window Motor Left/Right Rear Up Control
B BRN 669 Power Window Motor Left/Right Rear Down Control