LEMON Manuals: Even more car manuals for everyone: 1960-2025
Home >> Cadillac >> 2002 >> Escalade EXT >> Repair and Diagnosis (Single Page) >> Electrical >> Wiring Diagrams >> OEM Connector End Views >> Connector End Views >> HVAC Control Module Connector End View
April 5, 2026: LEMON Manuals is launched! Read the announcement.

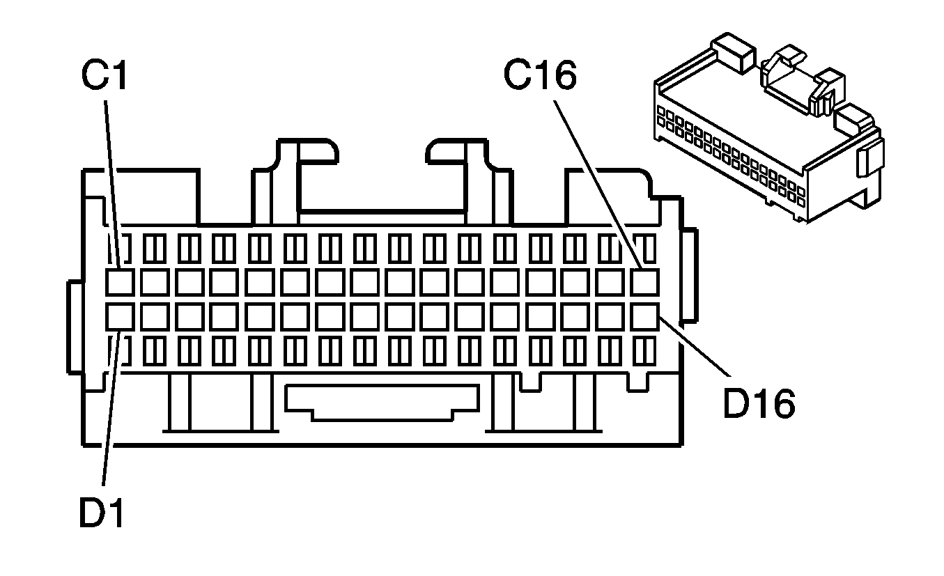
HVAC Control Module Connector End View

HVAC Control Module Connector End View

GM73157Courtesy of GENERAL MOTORS CORP.
Connector Part Information
  • 12045575
  • 32-Way F Micro-Pack 100 Series (BLK)
Pin Wire Color Circuit No. Function
C1 LT BLU/BLK 590 Sunload Sensor Signal
C2 BRN 404 Upper Air Temperature Sensor Signal
C3 LT GRN 405 Lower Air Temperature Sensor Signal
C4 LT BLU 733 Air Temperature Door Position Signal
C5 PPL 1838 Recirculation Door Position Signal
C6 BRN 341 Ignition 3 Voltage
C7 DK GRN 1614 Recirculation Door Control
C8 WHT 119 Mode Door Control
C9 DK BLU 1199 Air Temperature Door Control
C10 BLK 2450 Ground
C11 WHT 1038 HVAC Class 2 Serial Data
C12 ORN 340 Battery Positive Voltage
C13-C15 - - Not Used
C16 GRY/BLK 754 Blower Motor Speed Control
D1 DK GRN 734 Inside Air Temperature Sensor Signal
D2 LT GRN/BLK 735 Ambient Air Temperature Sensor Signal
D3 RED 708 Mode Door Position Signal
D4 - - Not Used
D5 GRY 598 5 Volt Reference
D6 - - Not Used
D7 GRY 8 Instrument Panel Lamp Supply Voltage - 1
D8 LT BLU 203 A/C Request Signal
D9 BRN 718 Low Reference
D10 GRY/BLK 1798 Ground
D11 LT BLU 2820 HVAC Control Module Clock Signal
D12 RED 2819 HVAC Control Module Data Signal
D13 - - Not Used
D14 WHT 193 Rear Defog Relay Control
D15-D16 - - Not Used