LEMON Manuals: Even more car manuals for everyone: 1960-2025
Home >> Cadillac >> 2002 >> Escalade EXT >> Repair and Diagnosis (Single Page) >> Quick Lookups >> Wiring Diagrams >> OEM Connector End Views >> Connector End Views >> Vehicle Interface Unit (VIU) Control Module - C2 Connector End View
April 5, 2026: LEMON Manuals is launched! Read the announcement.

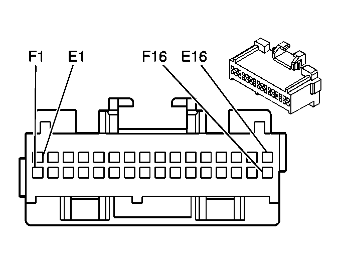
Vehicle Interface Unit (VIU) Control Module - C2 Connector End View

Vehicle Interface Unit (VIU) Control Module - C2 Connector End View

GM73222Courtesy of GENERAL MOTORS CORP.
Connector Part Information
  • 12110115
  • 32-Way F Micro-Pack 100 Series (BLU)
Pin Wire Color Circuit No. Function
E1 BLK 1850 Ground
E2-E3 - - Not Used
E4 DK GRN/
WHT
2514 Keypad Signal
E5 YEL/BLK 2516 Keypad Green LED Signal
E6 LT GRN/
BLK
2515 Keypad Supply Voltage
E7-E15 - - Not Used
E16 ORN 2240 Battery Positive Voltage
F1 BLK 1850 Ground
F2-F3 - - Not Used
F4 ORN/BLK 2518 Keypad Low Reference
F5 - - Not Used
F6 PNK 739 Ignition 1 Voltage & UE1
F7-F8 - - Not Used
F9 BRN/WHT 2517 Keypad Red LED Signal
F10 - - Not Used
F11 BLK 707 RAP Relay Coil Supply Voltage & UE1
F12-F15 - - Not Used
F16 ORN 2240 Battery Positive Voltage