LEMON Manuals: Even more car manuals for everyone: 1960-2025
Home >> Cadillac >> 2002 >> Escalade EXT >> Repair and Diagnosis >> External Pages >> Different car >> Section 1337 (Body Control System) >> Schematic and Routing Diagrams >> Body Control System Schematics
April 5, 2026: LEMON Manuals is launched! Read the announcement.

Body Control System Schematics

WARNING: This page is about a different car, the 2003 Saturn Vue. However, it is still accessible from the selected car via links, so may be relevant.
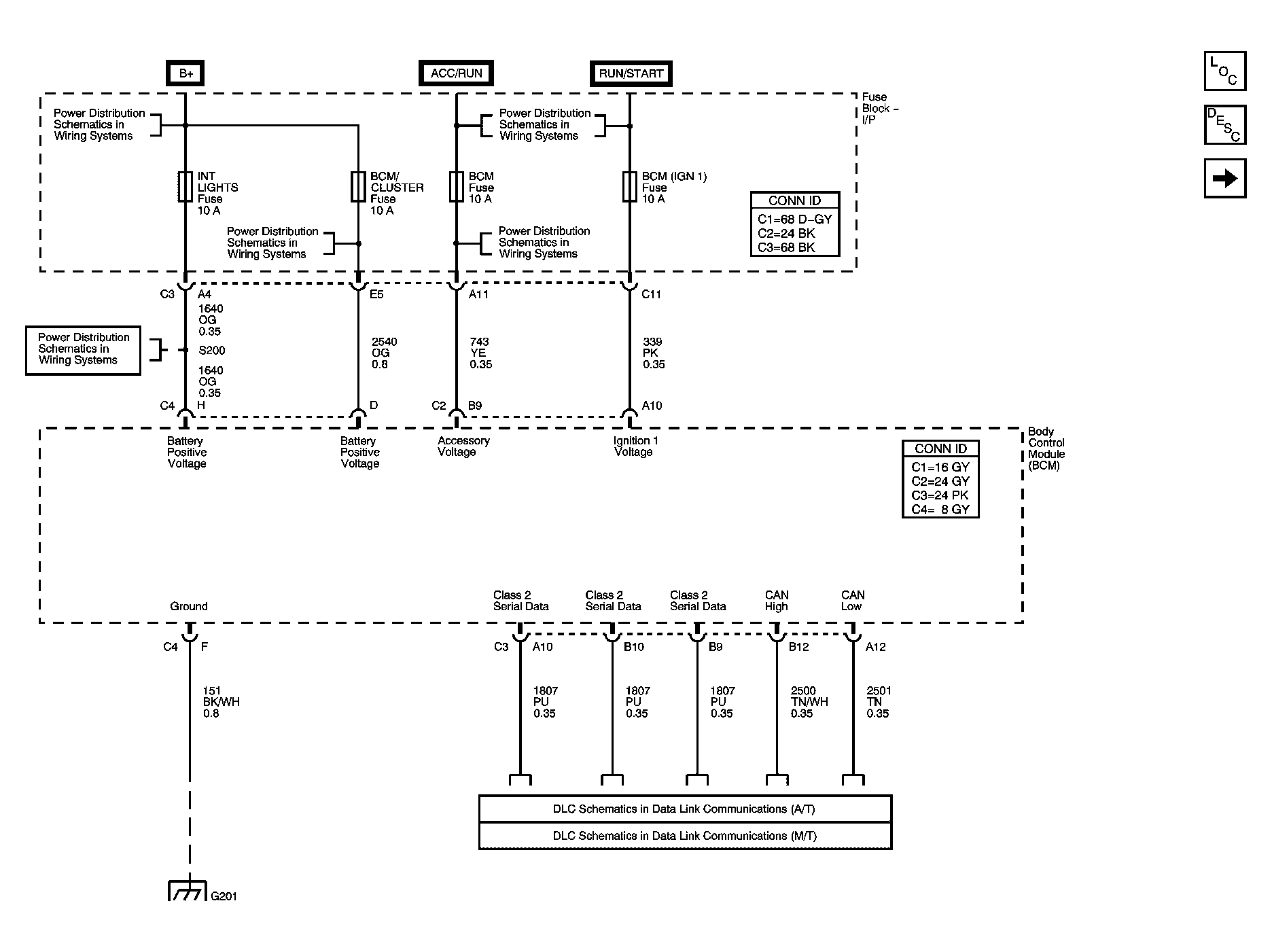
Fig 1: BCM Power, Ground & Serial Data Schematics
GM1217398Courtesy of GENERAL MOTORS CORP.
Fig 2: Defogger, Lighting & Wiper Washer Subsystem Schematics
GM1217399Courtesy of GENERAL MOTORS CORP.
Fig 3: Controlled/Monitored Subsystem Schematics
GM1217400Courtesy of GENERAL MOTORS CORP.