LEMON Manuals: Even more car manuals for everyone: 1960-2025
Home >> Cadillac >> 2002 >> Escalade EXT >> Repair and Diagnosis >> External Pages >> Different car >> Section 211 (Engine Controls - System & Component Testing - 4.3L) >> Fuel Systems >> Fuel Pump Electrical Circuit Diagnosis >> Notes
April 5, 2026: LEMON Manuals is launched! Read the announcement.

Fuel Pump Electrical Circuit Diagnosis: Notes

WARNING: This page does not describe the selected car, but rather 6 other vehicles, including the 2003 GMC Sonoma, 2003 GMC Safari, 2003 GMC Jimmy, 2003 Chevrolet S10 Pickup, and 2003 Chevrolet Blazer. However, it is still accessible from the selected car via links, so may be relevant.
Fig 1: Identifying Underhood Fuse/Relay Block
G00169522Courtesy of GENERAL MOTORS CORP.
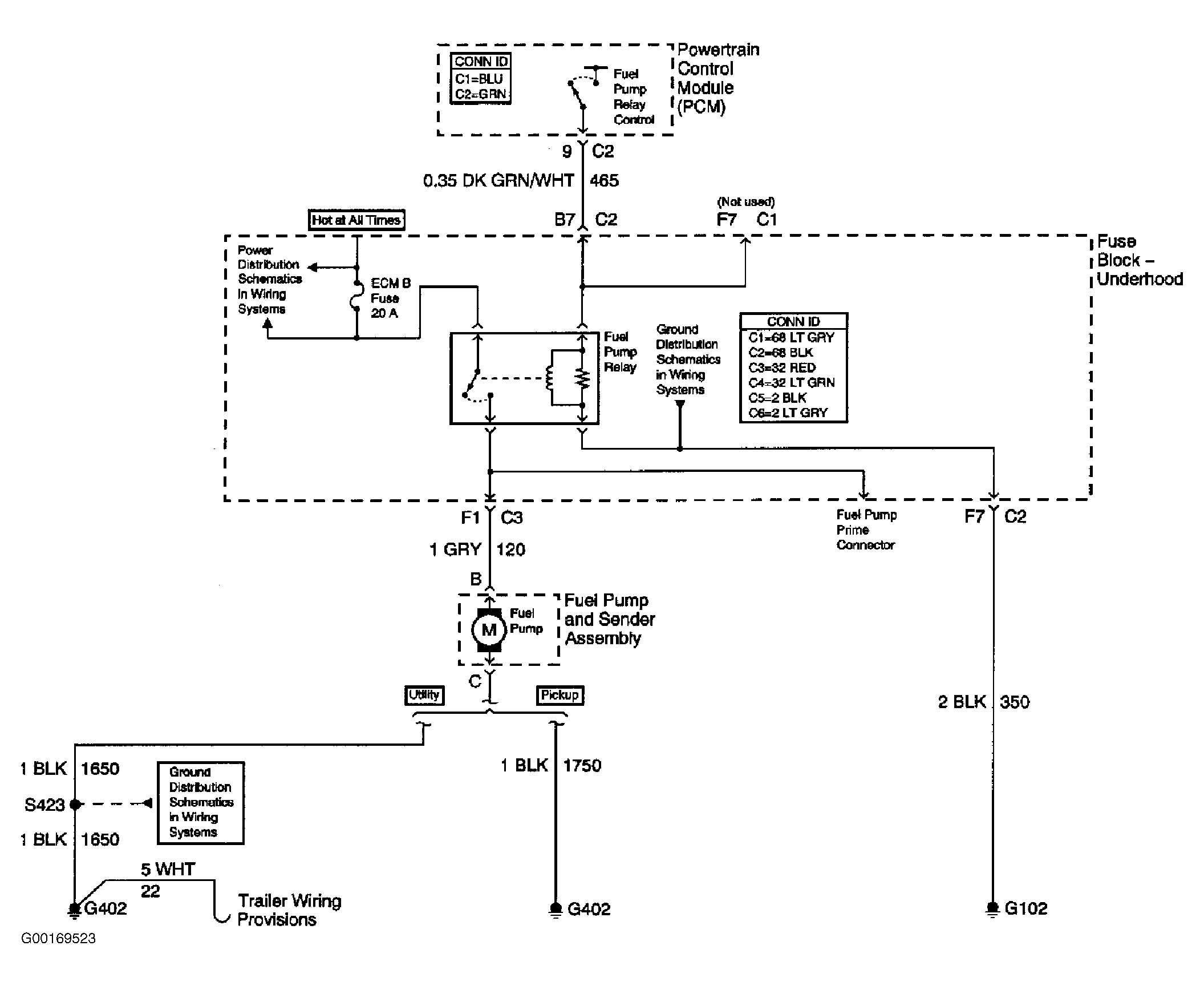
Fig 2: Fuel Pump Electrical Schematic
G00169523Courtesy of GENERAL MOTORS CORP.