LEMON Manuals: Even more car manuals for everyone: 1960-2025
Home >> Cadillac >> 2002 >> Escalade EXT >> Repair and Diagnosis >> External Pages >> Different car >> Section 756 (Wheel Alignment Specifications & Adjustment Procedures) >> Description & Operation >> Setback Description >> Thrust Angles Description
April 5, 2026: LEMON Manuals is launched! Read the announcement.

Thrust Angles Description

WARNING: This page is about a different car, the 2003 Pontiac Aztek and 2003 Buick Rendezvous. However, it is still accessible from the selected car via links, so may be relevant.
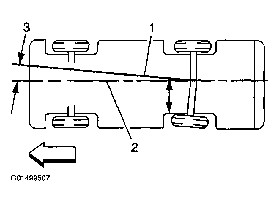
Fig 1: Identifying Thrust Angles
G01499507Courtesy of GENERAL MOTORS CORP.

The front wheels aim or steer the vehicle. The rear wheels control tracking. This tracking action relates to the thrust angle (3). The thrust angle is the path that the rear wheels take. Ideally, the thrust angle is geometrically aligned with the body centerline (2).

In the illustration, toe-in is shown on the left rear wheel, moving the thrust line (1) off center. The resulting deviation from the centerline is the thrust angle.