Entertainment Connector End Views
WARNING: This page is about a different car, the 2004 Pontiac Aztek and 2004 Buick Rendezvous. However, it is still accessible from the selected car via links, so may be relevant.
Audio Amplifier - C1 (UQ3) Connector End View
| Connector Part Information |
|
||
|---|---|---|---|
| Pin | Wire Color | Circuit No. | Function |
| A | - | - | Not Used |
| B | ORN | 926 | Amplifier Present Signal |
| C-D | - | - | Not Used |
| E | PPL | 493 | Rear Seat Audio Enable Signal |
| PPL | 493 | Rear Seat Audio Enable Signal (Buick) | |
| F | PPL | 927 | Amplifier Control |
| G | ORN | 2040 | Battery Positive Voltage |
| H | BLK/WHT | 351 | Ground |
Audio Amplifier - C2 (UQ3) Connector End View
| Connector Part Information |
|
||
|---|---|---|---|
| Pin | Wire Color | Circuit No. | Function |
| A1 | LT GRN/BLK | 1794 | Left Rear Subwoofer Speaker Output (-) |
| A2 | DK BLU/ WHT |
346 | Left Rear Subwoofer Speaker Output (+) |
| A3 | LT BLU/BLK | 315 | Right Rear Subwoofer Speaker Output (-) |
| A4 | DK GRN | 1795 | Right Rear Subwoofer Speaker Output (+) |
| A5 | WHT | 1959 | Left Rear Midrange Speaker Output (-) (Pontiac) |
| YEL | 1956 | Left Front Tweeter Speaker Output (-) (Buick) | |
| A6 | TAN | 1859 | Left Rear Midrange Speaker Output (+) (Pontiac) |
| BLK | 1856 | Left Front Tweeter Speaker Output (+) (Buick) | |
| A7 | RED | 1955 | Right Rear Midrange Speaker Output (-) (Pontiac) |
| PPL | 1952 | Right Front Tweeter Speaker Output (-) (Buick) | |
| A8 | TAN | 1855 | Right Rear Midrange Speaker Output (+) (Pontiac) |
| LT GRN | 1852 | Right Front Tweeter Speaker Output (+) (Buick) | |
| A9 | DK BLU | 46 | Right Rear Speaker Output (+) (Pontiac) |
| LT GRN | 200 | Right Front Speaker Output (+) (Buick) | |
| A10 | LT BLU | 115 | Right Rear Speaker Output (-) (Pontiac) |
| DK GRN | 117 | Right Front Speaker Output (-) (Buick) | |
| A11 | BRN | 199 | Left Rear Speaker Output (+) (Pontiac) |
| TAN | 201 | Left Front Speaker Output (+) (Buick) | |
| A12 | YEL | 116 | Left Rear Speaker Output (-) (Pontiac) |
| GRY | 118 | Left Front Speaker Output (-) (Buick) | |
| B1 | BLK/WHT | 1946 | Right Rear Low Level Audio Signal (-) (Pontiac) |
| LT GRN | 1948 | Right Front Low Level Audio Signal (-) (Buick) | |
| B2 | DK BLU | 546 | Right Rear Low Level Audio Signal (+) (Pontiac) |
| LT GRN | 512 | Right Front Low Level Audio Signal (+) (Buick) | |
| B3 | BRN | 1999 | Left Rear Low Level Audio Signal (-) (Pontiac) |
| DK GRN | 1947 | Left Front Low Level Audio Signal (-) (Buick) | |
| B4 | BRN | 599 | Left Rear Low Level Audio Signal (+) (Pontiac) |
| TAN | 511 | Left Front Low Level Audio Signal (+) (Buick) | |
| B5 | LT GRN | 1948 | Right Front Low Level Audio Signal (-) (Pontiac) |
| BLK/WHT | 1946 | Right Rear Low Level Audio Signal (-) (Buick) | |
| B6 | LT GRN/BLK | 512 | Right Front Low Level Audio Signal (+) (Pontiac) |
| DK BLU | 546 | Right Rear Low Level Audio Signal (+) (Buick) | |
| B7 | DK GRN | 1947 | Left Front Low Level Audio Signal (-) (Pontiac) |
| BRN | 1999 | Left Rear Low Level Audio Signal (-) (Buick) | |
| B8 | TAN | 511 | Left Front Low Level Audio Signal (+) (Pontiac) |
| BLK/WHT | 599 | Left Rear Low Level Audio Signal (+) (Buick) | |
| B9 | LT GRN | 200 | Right Front Speaker Output (+) (Pontiac) |
| DK BLU | 46 | Right Rear Speaker Output (+) (Buick) | |
| B10 | DK GRN | 117 | Right Front Speaker Output (-) (Pontiac) |
| LT BLU | 115 | Right Rear Speaker Output (-) (Buick) | |
| B11 | TAN | 201 | Left Front Speaker Output (+) (Pontiac) |
| BRN | 199 | Left Rear Speaker Output (+) (Buick) | |
| B12 | GRY | 118 | Left Front Speaker Output (-) (Pontiac) |
| YEL | 116 | Left Rear Speaker Output (-) (Buick) | |
Digital Radio Receiver (U2K) Connector End View
| Connector Part Information |
|
||
|---|---|---|---|
| Pin | Wire Color | Circuit No. | Function |
| 1 | - | - | Not Used |
| 2 | BRN/WHT | 367 | Remote Radio Left Audio Signal |
| 3 | DK GRN/WHT | 368 | Remote Radio Right Audio Signal |
| 4-8 | - | - | Not Used |
| 9 | BLK | 351 | Ground |
| 10 | BLK/WHT | 372 | Remote Radio Audio Output (-) |
| 11 | BARE | 7814 | Drain Wire |
| 12-14 | - | - | Not Used |
| 15 | TAN | 9807 | Class 2 Serial Data |
| 16 | ORN | 3840 | Battery Positive Voltage |
Radio - C1
| Connector Part Information |
|
||
|---|---|---|---|
| Pin | Wire Color | Circuit No. | Function |
| A1 | ORN | 1044 | Radio Class 2 Serial Data |
| A2 | - | - | Not Used |
| A3 | PPL | 493 | Rear Seat Audio Enable Signal (UQ3) |
| A4-A5 | - | - | Not Used |
| A6 | PPL | 1375 | Remote Radio Control Supply Voltage |
| A7 | DK BLU | 1796 | Steering Wheel Controls Signal |
| A8 | TAN | 201 | Left Front Speaker Output (+) (w/o UQ3) |
| TAN | 511 | Left Front Low Level Audio Signal (+) (UQ3) | |
| A9 | GRY | 118 | Left Front Speaker Output (-) (w/o UQ3) |
| DK GRN | 1947 | Left Front Low Level Audio Signal (-) (UQ3) | |
| A10 | LT BLU | 115 | Right Rear Speaker Output (-) (w/o UQ3) |
| BLK | 1946 | Right Rear Low Level Audio Signal (-) (UQ3) | |
| A11 | DK BLU | 46 | Right Rear Speaker Output (+) (w/o UQ3) |
| DK BLU | 546 | Right Rear Low Level Audio Signal (+) (UQ3) | |
| A12 | BLK/WHT | 351 | Ground |
| B1 | ORN | 5640 | Battery Positive Voltage |
| B2 | - | - | Not Used |
| B3 | PPL | 927 | Amplifier Control (UQ3) |
| B4 | GRY | 8 | Instrument Panel Lamp Supply Voltage - 1 |
| B5 | BLK | 1450 | Ground |
| B6 | ORN | 926 | Amplifier Present Signal (UQ3) |
| B7 | LT GRN | 1011 | Remote Radio Control Signal (RSA) |
| B8 | BRN | 199 | Left Rear Speaker Output (+) (w/o UQ3) |
| BRN/WHT | 599 | Left Rear Low Level Audio Signal (+) (UQ3) | |
| B9 | YEL | 116 | Left Rear Speaker Output (-) (w/o UQ3) |
| BRN | 1999 | Left Rear Low Level Audio Signal (-) (UQ3) | |
| B10 | DK GRN | 117 | Right Front Speaker Output (-) (w/o UQ3) |
| LT GRN | 1948 | Right Front Low Level Audio Signal (-) (UQ3) | |
| B11 | LT GRN | 200 | Right Front Speaker Output (+) (w/o UQ3) |
| LT GRN/BLK | 512 | Right Front Low Level Audio Signal (+) (UQ3) | |
| B12 | - | - | Not Used |
Radio - C2 (UE1/UQ3) Connector End View
| Connector Part Information |
|
||
|---|---|---|---|
| Pin | Wire Color | Circuit No. | Function |
| A-B | - | - | Not Used |
| C | BARE | 814 | Drain Wire (U32) |
| D | - | - | Not Used |
| E | DK GRN | 389 | Vehicle Speed Signal |
| F-G | - | - | Not Used |
| H | DK GRN/WHT | 368 | Remote Radio Right Audio Signal |
| J | BRN/WHT | 367 | Remote Radio Left Audio Signal |
| K | BLK/WHT | 372 | Remote Radio Audio Output (-) |
| L | BLK/WHT | 9372 | Remote Radio Audio Output (-) |
| M | BRN/WHT | 9367 | Remote Radio Left Audio Signal |
Rear Seat Audio Control (UQ3) Connector End View
| Connector Part Information |
|
||
|---|---|---|---|
| Pin | Wire Color | Circuit No. | Function |
| A1 | BLK | 1946 | Right Rear Low Level Audio Signal (-) |
| A2 | DK BLU | 546 | Right Rear Low Level Audio Signal (+) |
| A3 | BRN | 1999 | Left Rear Low Level Audio Signal (-) |
| A4 | BRN | 599 | Left Rear Low Level Audio Signal (+) |
| A5 | LT GRN | 1011 | Remote Radio Control Signal |
| A6 | GRY | 8 | Instrument Panel Lamp Supply Voltage |
| A7 | - | - | Not Used |
| A8 | PPL | 1375 | Remote Radio Control Supply Voltage |
| B1 | LT BLU | 115 | Right Rear Speaker Output (-) (Base Radio) |
| B2 | DK BLU | 46 | Right Rear Speaker Output (+) (Base Radio) |
| B3 | YEL | 116 | Left Rear Speaker Output (-) (Base Radio) |
| B4 | BRN | 199 | Left Rear Speaker Output (+) (Base Radio) |
| B5 | PPL | 493 | Rear Seat Audio Enable Signal |
| B6 | BLK | 650 | Ground |
| B7 | - | - | Not Used |
| B8 | BRN | 9 | Park Lamp Supply Voltage |
Rear Seat Entertainment (RSE) Assembly (U32) Connector End View
| Connector Part Information |
|
||
|---|---|---|---|
| Pin | Wire Color | Circuit No. | Function |
| 1 | - | - | Not Used |
| 2 | PNK | 1045 | VCM Class 2 Serial Data |
| 3-4 | - | - | Not Used |
| 5 | DK GRN/WHT | 368 | Remote Radio Right Audio Signal |
| 6 | BRN/WHT | 367 | Remote Radio Left Audio Signal |
| 7 | BLK/WHT | 351 | Ground |
| 8 | - | - | Not Used |
| 9 | ORN | 4240 | Battery Positive Voltage |
| 10-11 | - | - | Not Used |
| 12 | BLK/WHT | 372 | Remote Audio Output (-) |
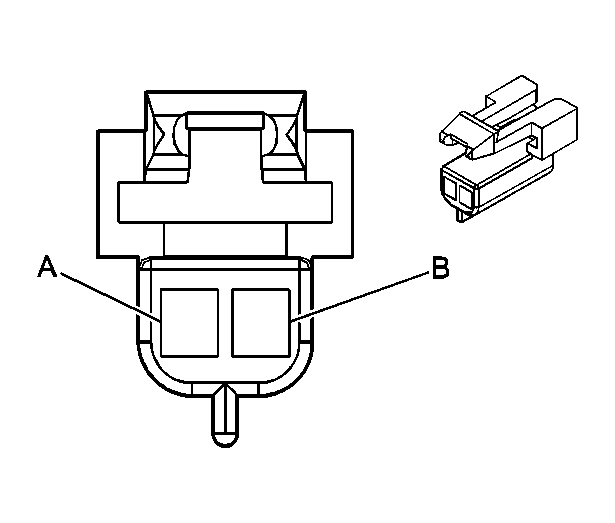
Speaker Connector End View - LF Door
| Connector Part Information |
|
||
|---|---|---|---|
| Pin | Wire Color | Circuit No. | Function |
| A | GRY | 118 | Left Front Speaker Output (-) |
| B | TAN | 201 | Left Front Speaker Output (+) |
Speaker Connector End View - LR Door
| Connector Part Information |
|
||
|---|---|---|---|
| Pin | Wire Color | Circuit No. | Function |
| A | YEL | 116 | Left Rear Speaker Output (-) |
| B | BRN | 199 | Left Rear Speaker Output (+) |
Speaker Connector End View - LR (Pontiac UQ3 Only)
| Connector Part Information |
|
||
|---|---|---|---|
| Pin | Wire Color | Circuit No. | Function |
| A | LT GRN/BLK | 1794 | Left or Rear Subwoofer Speaker Output (-) |
| B | DK BLU/ WHT |
346 | Left Subwoofer Speaker Output (+) |
| C | WHT | 1959 | Left Rear Midrange Speaker Output (-) |
| D | TAN | 1859 | Left Rear Midrange Speaker Output (+) |
Speaker Connector End View - LR Subwoofer (Buick UQ3)
| Connector Part Information |
|
||
|---|---|---|---|
| Pin | Wire Color | Circuit No. | Function |
| A | LT GRN/BLK | 1794 | Left Subwoofer Speaker Output (-) |
| B | DK BLU/WHT | 346 | Left Subwoofer Speaker Output (-) |
Speaker Connector End View - RF Door
| Connector Part Information |
|
||
|---|---|---|---|
| Pin | Wire Color | Circuit No. | Function |
| A | DK GRN | 117 | Right Front Speaker Output (-) |
| B | LT GRN | 200 | Right Front Speaker Output (+) |
Speaker Connector End View - RR Door
| Connector Part Information |
|
||
|---|---|---|---|
| Pin | Wire Color | Circuit No. | Function |
| A | LT BLU | 115 | Right Rear Speaker Output (-) |
| B | DK BLU | 46 | Right Rear Speaker Output (+) |
Speaker Connector End View - RR (Pontiac UQ3 Only)
| Connector Part Information |
|
||
|---|---|---|---|
| Pin | Wire Color | Circuit No. | Function |
| A | LT BLU/BLK | 315 | Right Subwoofer Speaker Output (-) |
| B | DK GRN | 1795 | Right Subwoofer Speaker Output (+) |
| C | RED | 1955 | Right Rear Midrange Speaker Output (-) |
| D | TAN | 1855 | Right Rear Midrange Speaker Output (+) |
Speaker Connector End View - RR Subwoofer (Buick UQ3)
| Connector Part Information |
|
||
|---|---|---|---|
| Pin | Wire Color | Circuit No. | Function |
| A | LT BLU/BLK | 315 | Right Subwoofer Speaker Output (-) |
| B | DK GRN | 1795 | Right Subwoofer Speaker Output (+) |
Steering Wheel Controls Connector End View - Left (U96 or UK3)
| Connector Part Information |
|
||
|---|---|---|---|
| Pin | Wire Color | Circuit No. | Function |
| 1 | DK BLU | 1796 | Steering Wheel Controls Signal |
| 2 | - | - | Not Used |
| 3 | BLK | 350 | Ground |
| 4 | YEL/BLK | 1458 | Instrument Panel Lamp Supply Voltage - 4 |
| 5 | DK BLU | 1796 | Steering Wheel Controls Signal |
Steering Wheel Controls Connector End View - Right (U96 or UK3)
| Connector Part Information |
|
||
|---|---|---|---|
| Pin | Wire Color | Circuit No. | Function |
| 1 | PPL | 1375 | Remote Radio Control Supply Voltage |
| 2 | DK BLU | 1796 | Steering Wheel Controls Signal |
| 3 | GRY/BLK | 14 | Instrument Panel Lamp Supply Voltage - 4 |
| 4 | - | - | Not Used |
| 5 | BLK | 350 | Ground |
| 6 | DK BLU | 1796 | Steering Wheel Controls Signal |
Tailgate Audio Controls Connector End View (Pontiac W/UQ3)
| Connector Part Information |
|
||
|---|---|---|---|
| Pin | Wire Color | Circuit No. | Function |
| A | PPL | 1375 | Remote Radio Control Supply Voltage |
| B | - | - | Not Used |
| C | DK BLU | 1796 | Steering Wheel Controls Signal |
| D | - | - | Not Used |
Tweeter Connector End View - LF Door
| Connector Part Information |
|
||
|---|---|---|---|
| Pin | Wire Color | Circuit No. | Function |
| A | GRY | 118 | Left Front Speaker Output (-) |
| B | TAN | 201 | Left Front Speaker Output (+) |
Tweeter Connector End View - RF Door
| Connector Part Information |
|
||
|---|---|---|---|
| Pin | Wire Color | Circuit No. | Function |
| A | DK GRN | 117 | Right Front Speaker Output (-) |
| B | LT GRN | 200 | Right Front Speaker Output (+) |