LEMON Manuals: Even more car manuals for everyone: 1960-2025
Home >> Cadillac >> 2002 >> Escalade EXT >> Repair and Diagnosis >> External Pages >> Different car >> Section 986 (Antilock Brake System And Traction Control System) >> Component Locator >> ABS Connector End Views
April 5, 2026: LEMON Manuals is launched! Read the announcement.

ABS Connector End Views

WARNING: This page is about a different car, the 2004 Pontiac Aztek and 2004 Buick Rendezvous. However, it is still accessible from the selected car via links, so may be relevant.
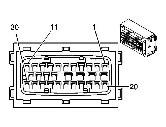
Electronic Brake Control Module (EBCM) Connector End View

GM684893Courtesy of GENERAL MOTORS CORP.
Connector Part Information
  • 15326390
  • 30-Way F GT 150 280 SEALED 4.0 5.8 (BLK)
Pin Wire Color Circuit No. Function
1 - - Not Used
2 BRN 882 Right Rear Wheel Speed Sensor Signal
3 WHT 883 Right Rear Wheel Speed Sensor Low Reference
4 DK GRN 872 Right Front Wheel Speed Sensor Signal
5 TAN 833 Right Front Wheel Speed Sensor Low Reference
6 WHT 17 Stop Lamp Switch Signal
7 - - Not Used
8 PNK 1039 Ignition 1 Voltage
9 TAN/BLK 464 Delivered Torque Signal
10 - - Not Used
11 WHT 121 Engine Speed Signal (W/NW9)
12 BLK/WHT 251 Ground
13 RED 1442 Battery Positive Voltage
14 ORN 1740 Battery Positive Voltage
15 BLK/WHT 251 Ground
16-19 - - Not Used
20 LT BLU 830 Left Front Wheel Speed Sensor Signal
21 YEL 873 Left Front Wheel Speed Sensor Low Reference
22 BLK 884 Left Rear Wheel Speed Sensor Signal
23 RED 885 Left Rear Wheel Speed Sensor Low Reference
24 - - Not Used
25 LT BLU 1122 ABS/TCS Class 2 Serial Data
26 - - Not Used
27 ORN/BLK 463 Requested Torque Signal
28-30 - - Not Used
I/P Switch Assembly Connector End View - C1 (Pontiac)

GM646190Courtesy of GENERAL MOTORS CORP.
Connector Part Information
  • 12162455
  • 8-Way F 280 Series (NAT)
Pin Wire Color Circuit No. Function
A GRY 8 Instrument Panel Lamp Supply Voltage
B BLK 150 Ground
C WHT/BLK 1221 Lift Gate Release Switch Signal
D BRN/WHT 1571 Traction Control Switch Signal
E-H - - Not Used
Wheel Speed Sensor Connector End View - LF

GM537107Courtesy of GENERAL MOTORS CORP.
Connector Part Information
  • 12052644
  • 2-Way F Metri-Pack 150 Series Sealed (WHT)
Pin Wire Color Circuit No. Function
A YEL 873 Left Front Wheel Speed Sensor Low Reference
B LT BLU 830 Left Front Wheel Speed Sensor Signal
Wheel Speed Sensor Connector End View - LR

GM537107Courtesy of GENERAL MOTORS CORP.
Connector Part Information
  • 12052644
  • 2-Way F Metri-Pack 150 Series Sealed (WHT)
Pin Wire Color Circuit No. Function
A WHT 883 Right Rear Wheel Speed Sensor Low Reference
B BLK 882 Right Rear Wheel Speed Sensor Signal
Wheel Speed Sensor Connector End View - RF

GM537107Courtesy of GENERAL MOTORS CORP.
Connector Part Information
  • 12052644
  • 2-Way F Metri-Pack 150 Series Sealed (WHT)
Pin Wire Color Circuit No. Function
A DK GRN 872 Right Front Wheel Speed Sensor Signal
B TAN 833 Right Front Wheel Speed Sensor Low Reference
Wheel Speed Sensor Connector End View - RR

GM537107Courtesy of GENERAL MOTORS CORP.
Connector Part Information
  • 12052644
  • 2-Way F Metri-Pack 150 Series Sealed (WHT)
Pin Wire Color Circuit No. Function
A WHT 883 Right Rear Wheel Speed Sensor Low Reference
B BLK 882 Right Rear Wheel Speed Sensor Signal