LEMON Manuals: Even more car manuals for everyone: 1960-2025
Home >> Cadillac >> 2002 >> Escalade EXT >> Repair and Diagnosis >> Steering >> Power Steering System >> Repair Instructions >> Power Steering Pulley Replacement >> Installation Procedure
April 5, 2026: LEMON Manuals is launched! Read the announcement.

Installation Procedure

  1. Place the power steering pump pulley on the end of the power steering pump shaft.
  2. Install the power steering pump pulley using J 25033-C  .
    Fig 1: Installing Power Steering Pulley
    G01662136Courtesy of GENERAL MOTORS CORP.
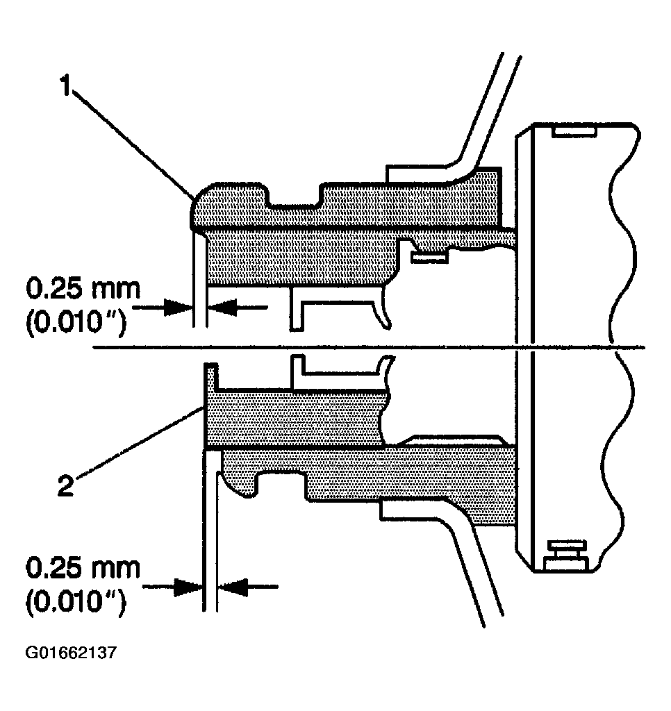
  3. Ensure that the power steering pump pulley is flush against the power steering pump shaft, with an allowable variance of 0.25 mm (0.010 in).
  4. Fig 2: Identifying Power Steering Pump Pulley Installation Position
    G01662137Courtesy of GENERAL MOTORS CORP.
  5. Install the drive belt. For 4.8L, 5.3, and 6.0L engines, refer to DRIVE BELT REPLACEMENT -- ACCESSORY or for 8.1L engines, refer to DRIVE BELT REPLACEMENT -- ACCESSORY .
  6. Install the upper fan shroud. Refer to FAN SHROUD REPLACEMENT -- UPPER (W/O M74) or FAN SHROUD REPLACEMENT -- UPPER (W/M74) .