LEMON Manuals: Even more car manuals for everyone: 1960-2025
Home >> Cadillac >> 2003 >> Escalade EXT >> Repair and Diagnosis (Single Page) >> Body & Frame >> Seats >> Seat System >> Schematic Wiring Diagrams >> Memory Seats Wiring Schematics (Power, Ground, Class 2, and Memory Set Controls)
April 5, 2026: LEMON Manuals is launched! Read the announcement.

Memory Seats Wiring Schematics (Power, Ground, Class 2, and Memory Set Controls)

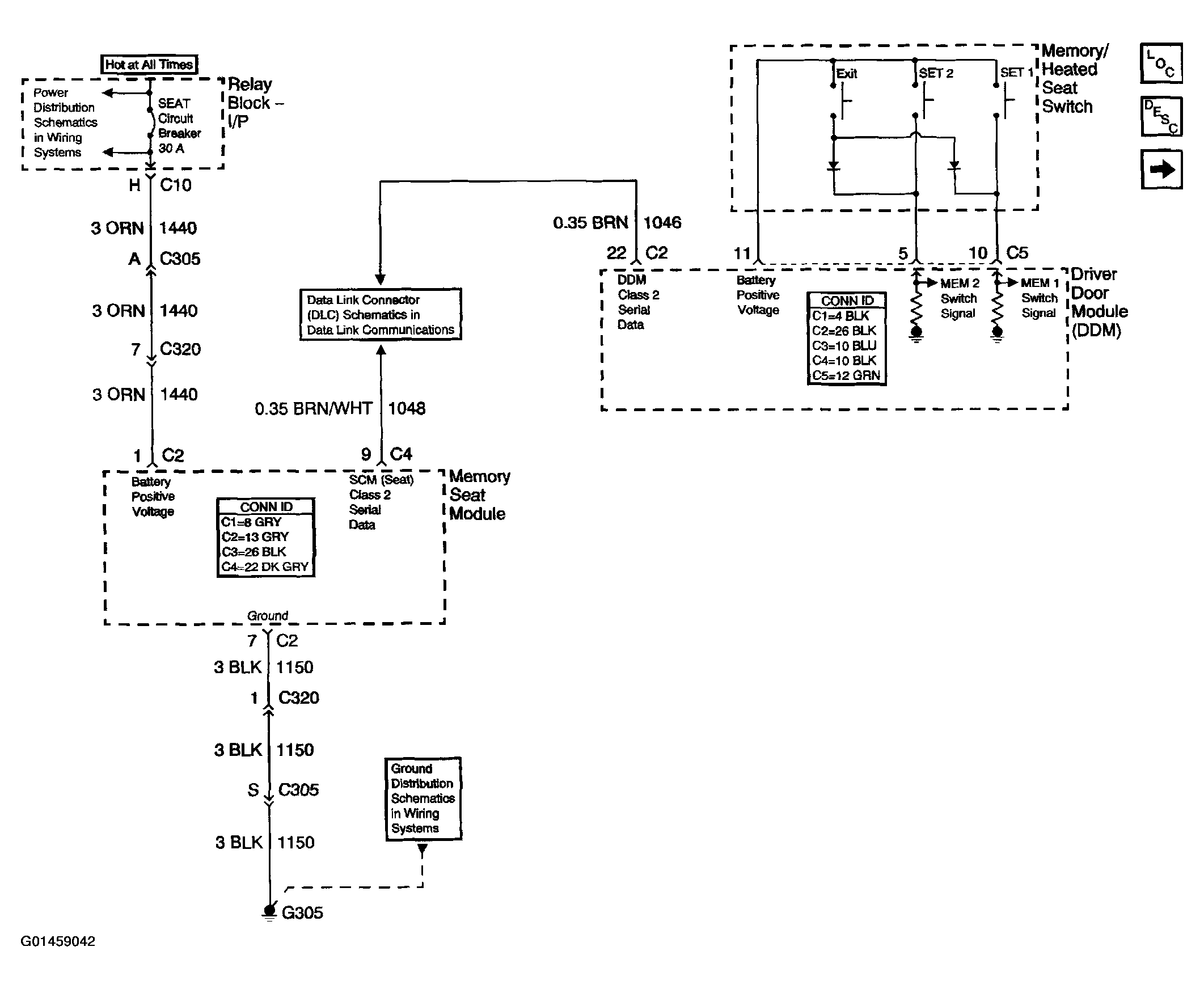
Fig 1: Memory Seats Schematics (Power, Ground, Class 2, And Memory Set Controls)
G01459042Courtesy of GENERAL MOTORS CORP.
Fig 2: Memory Seats Schematics (Seat Adjuster Switch)
G01459043Courtesy of GENERAL MOTORS CORP.
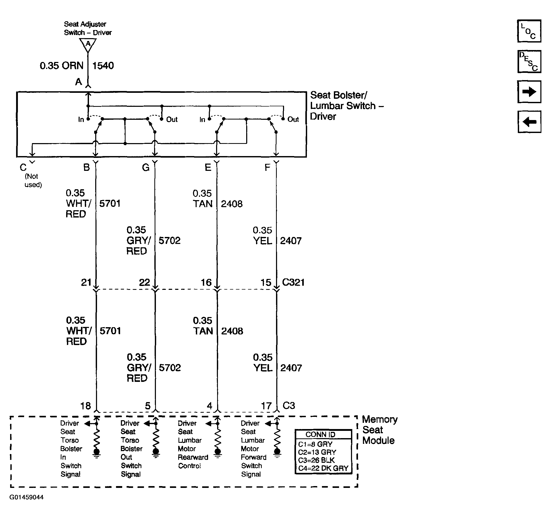
Fig 3: Memory Seats Schematics (Lumbar/Bolster Switch)
G01459044Courtesy of GENERAL MOTORS CORP.
Fig 4: Memory Seats Schematics - Seat Motor (1 Of 2))
G01459045Courtesy of GENERAL MOTORS CORP.
Fig 5: Memory Seats Schematics - Seat Motor (2 Of 2))
G01459046Courtesy of GENERAL MOTORS CORP.
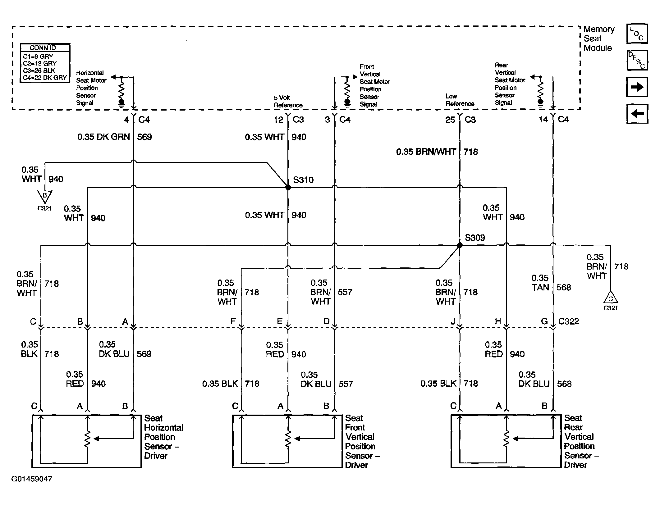
Fig 6: Memory Seats Schematics - Seat Position Sensors (1 Of 2))
G01459047Courtesy of GENERAL MOTORS CORP.
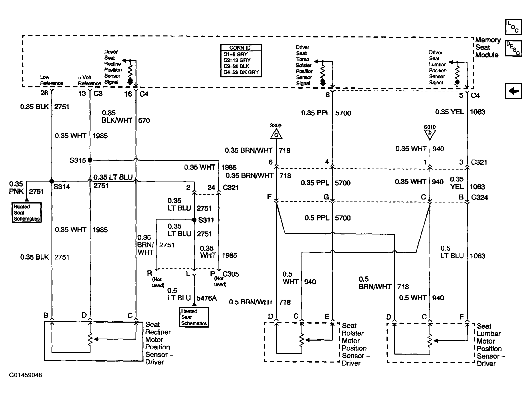
Fig 7: Memory Seats Schematics - Seat Position Sensors (2 Of 2))
G01459048Courtesy of GENERAL MOTORS CORP.