LEMON Manuals: Even more car manuals for everyone: 1960-2025
Home >> Cadillac >> 2003 >> Escalade EXT >> Repair and Diagnosis (Single Page) >> Body & Frame >> Windows >> Door System, Mirror System & Window System >> Schematic Wiring Diagrams >> Door Control Module Wiring Schematics (Power, Ground, and Class 2)
April 5, 2026: LEMON Manuals is launched! Read the announcement.

Door Control Module Wiring Schematics (Power, Ground, and Class 2)

Fig 1: Door Control Module Schematics (Power, Ground, And Class 2)
G01458734Courtesy of GENERAL MOTORS CORP.
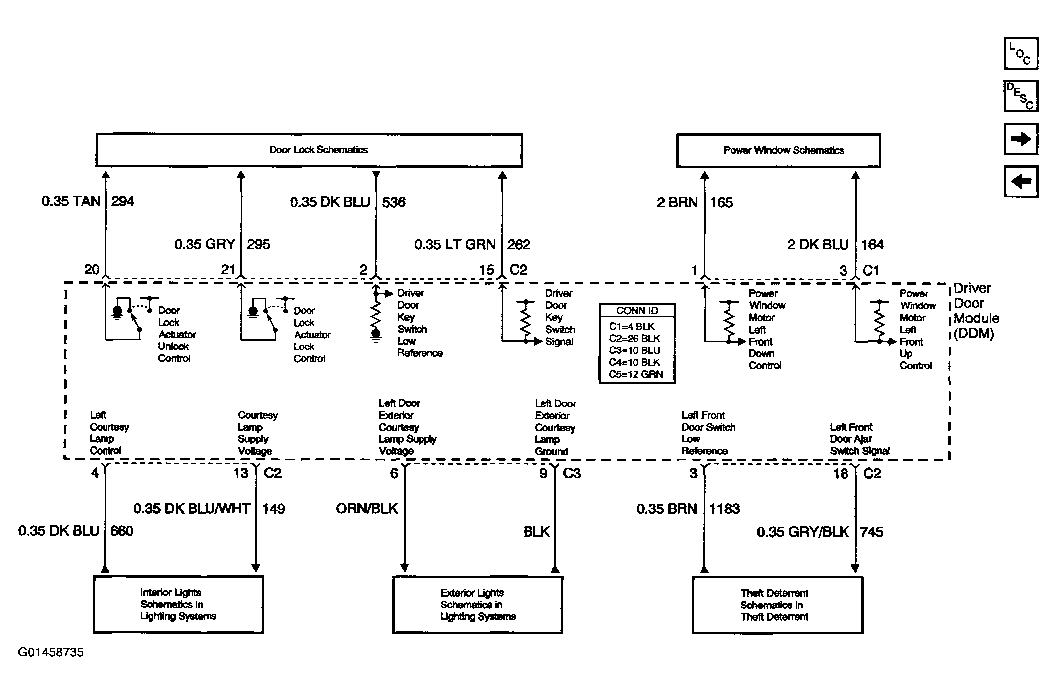
Fig 2: Door Control Module Schematics (Driver Door Module (DDM) References - 1 Of 3)
G01458735Courtesy of GENERAL MOTORS CORP.
Fig 3: Door Control Module Schematics (Driver Door Module (DDM) References - 2 Of 3)
G01458736Courtesy of GENERAL MOTORS CORP.
Fig 4: Door Control Module Schematics (Driver Door Module (DDM) References - 3 Of 3)
G01458737Courtesy of GENERAL MOTORS CORP.
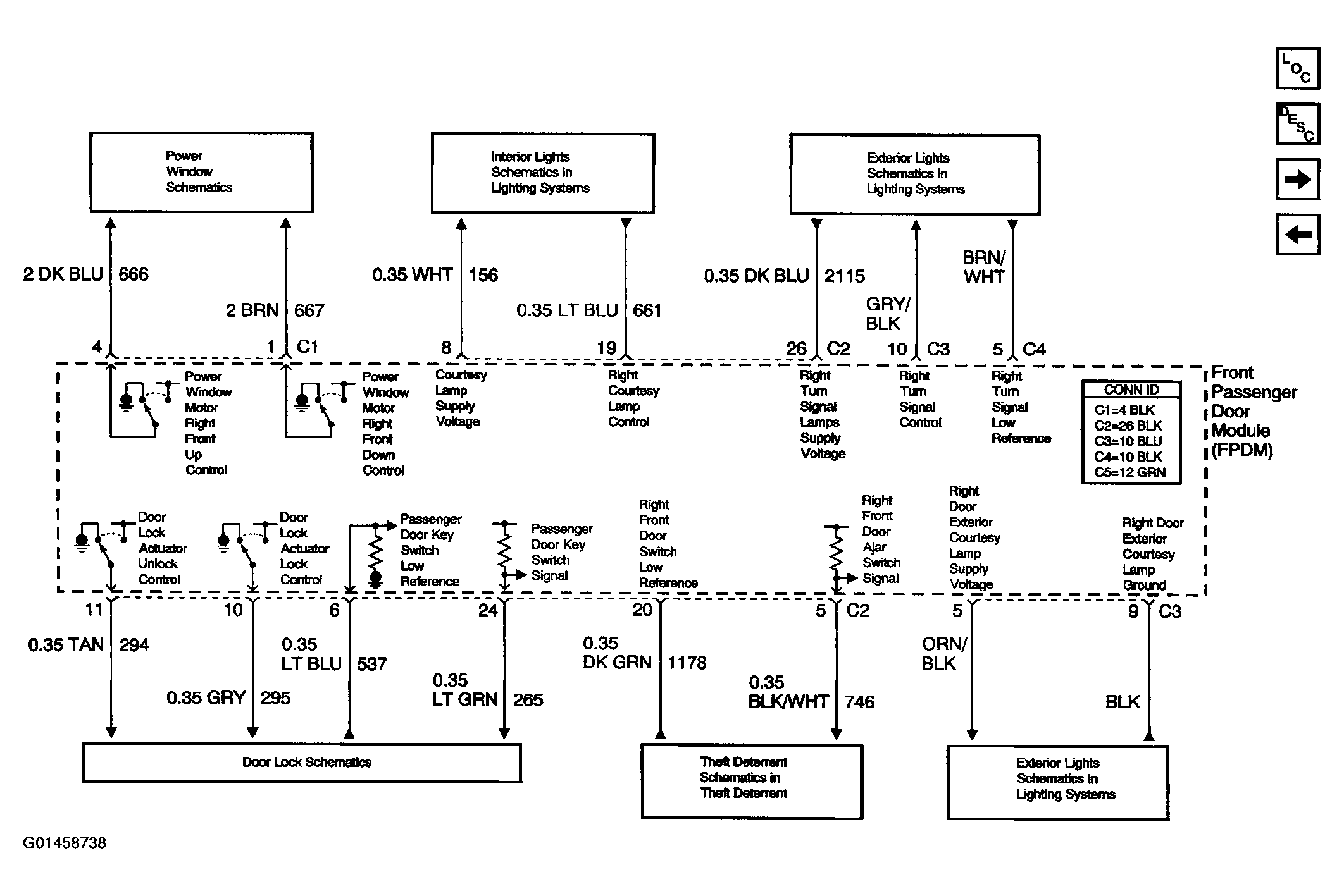
Fig 5: Door Control Module Schematics (Front Passenger Door Module (FPDM) References - 1 Of 2)
G01458738Courtesy of GENERAL MOTORS CORP.
Fig 6: Door Control Module Schematics (Front Passenger Door Module (FPDM) References - 2 Of 2)
G01458739Courtesy of GENERAL MOTORS CORP.