LEMON Manuals: Even more car manuals for everyone: 1960-2025
Home >> Cadillac >> 2003 >> Escalade EXT >> Repair and Diagnosis >> Accessories & Equipment >> Infotainment >> Navigation Systems >> Schematic and Routing Diagrams >> Navigation System Schematics
April 5, 2026: LEMON Manuals is launched! Read the announcement.

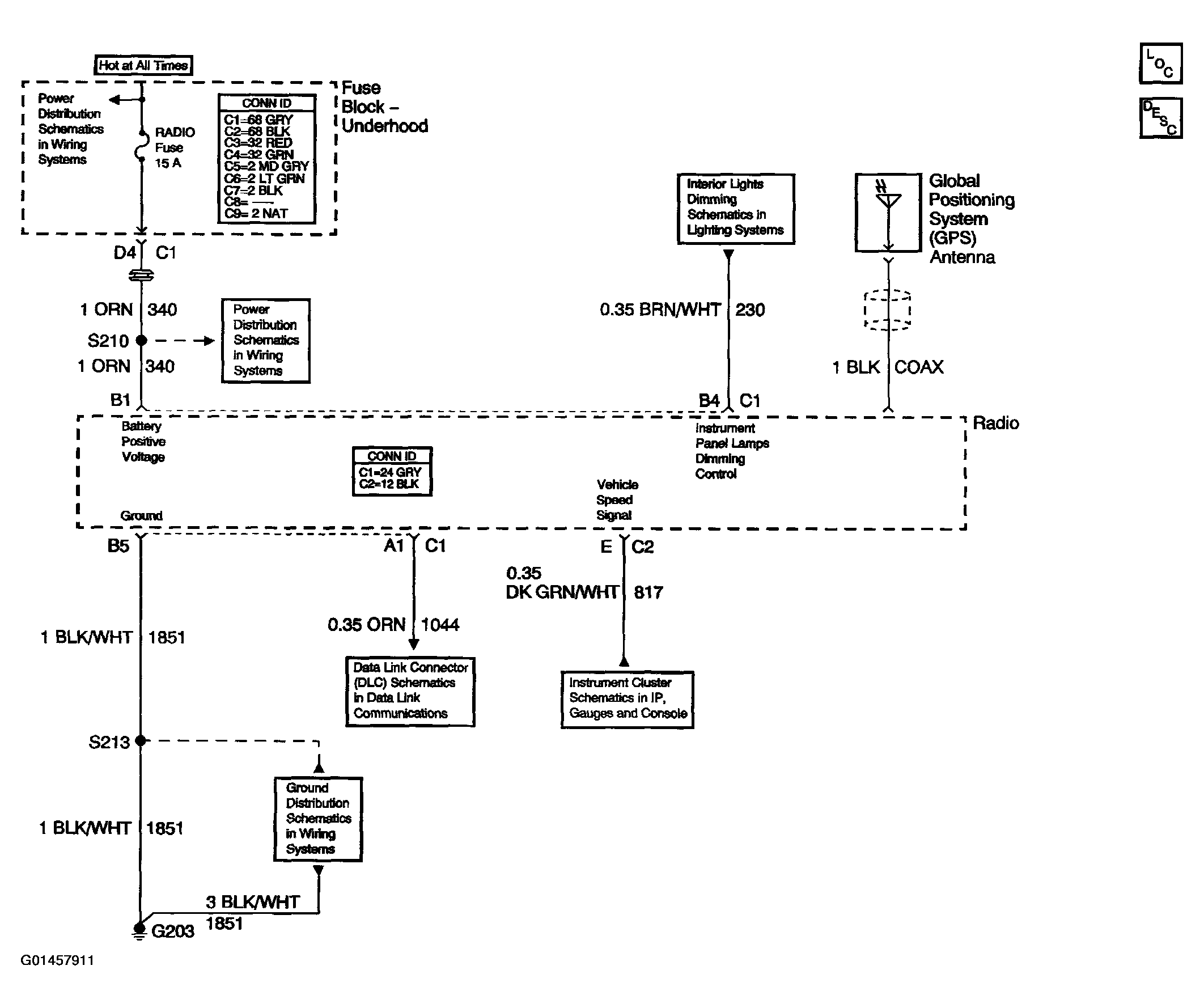
Navigation System Schematics

Fig 1: Navigation System Schematics Diagram
G01457911Courtesy of GENERAL MOTORS CORP.