LEMON Manuals: Even more car manuals for everyone: 1960-2025
Home >> Cadillac >> 2003 >> Escalade EXT >> Repair and Diagnosis >> External Pages >> Different car >> Section 281 (Glass/Windows/Mirrors) >> Power Window Main Switch Removal/Installation
April 5, 2026: LEMON Manuals is launched! Read the announcement.

Power Window Main Switch Removal/Installation

WARNING: This page is about a different car, the 2004 Mazda 3. However, it is still accessible from the selected car via links, so may be relevant.
  1. Disconnect the negative battery cable.
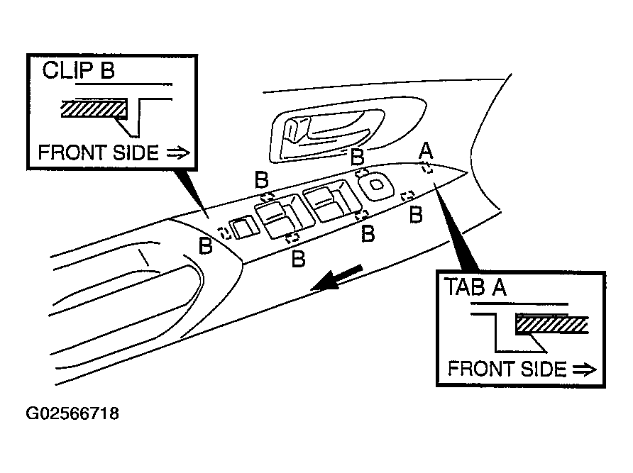
  2. Remove the clips B using a flathead screwdriver wrapped with protective tape.
  3. Remove the switch panel from the front door trim while sliding it in the direction of the arrow as shown in the figure.
  4. Disconnect the power window main switch connector and the power outer mirror switch connector.
    Fig 1: Locating Power Window Main Switch Clips & Tab
    G02566718Courtesy of MAZDA MOTORS CORP.
  5. Remove the screws, then remove the power window main switch.
  6. Install in the reverse order of removal.
    Fig 2: Removing/Installing Power Window Main Switch
    G02566719Courtesy of MAZDA MOTORS CORP.