LEMON Manuals: Even more car manuals for everyone: 1960-2025
Home >> Cadillac >> 2003 >> Escalade EXT >> Repair and Diagnosis >> External Pages >> Different car >> Section 281 (Glass/Windows/Mirrors) >> Windshield Removal >> Notes
April 5, 2026: LEMON Manuals is launched! Read the announcement.

Windshield Removal: Notes

WARNING: This page is about a different car, the 2004 Mazda 3. However, it is still accessible from the selected car via links, so may be relevant.
  1. Disconnect the negative battery cable.
  2. Remove the following parts:
    1. Windshield wiper arm and blade (See WINDSHIELD WIPER ARM AND BLADE REMOVAL/INSTALLATION .)
    2. Cowl grille (See COWL GRILLE REMOVAL/INSTALLATION .)
    3. Rearview mirror (See REARVIEW MIRROR REMOVAL/INSTALLATION .)
    4. Rain sensor (Vehicles with auto wiper system) (See RAIN SENSOR REMOVAL/INSTALLATION .)
    5. A-pillar trim (See A-PILLAR TRIM REMOVAL/INSTALLATION .)
    6. Sunvisor (See SUNVISOR REMOVAL/INSTALLATION .)
    7. Map light (See MAP LIGHT REMOVAL/INSTALLATION .)
  3. Set the headliner out of the way.
  4. Apply protective tape along the edge of the body.
  5. Apply protective tape to the dashboard to protect it from damage.
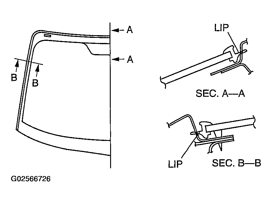
  6. Cut the windshield molding lip using a razor.
    Fig 1: Locating Windshield Molding Lip
    G02566726Courtesy of MAZDA MOTORS CORP.
WARNING:
  • Using a razor with bare hands can cause injury. Always wear gloves when using a razor.
NOTE:
  • The windshield molding is a replacement part.
  • Vehicles with the auto wiper system have a lens sensor which is embedded in the windshield. If the lens sensor has a malfunction, it must be replaced together with the windshield. Since once the rain sensor initial setting has been performed, it cannot be used with any other lens sensor, also replace the rain sensor with a new one.