LEMON Manuals: Even more car manuals for everyone: 1960-2025
Home >> Cadillac >> 2003 >> Escalade EXT >> Repair and Diagnosis >> External Pages >> Different car >> Section 466 (Lighting Systems (Introduction)) >> Schematic and Routing Diagrams >> Headlight Leveling Schematics
April 5, 2026: LEMON Manuals is launched! Read the announcement.

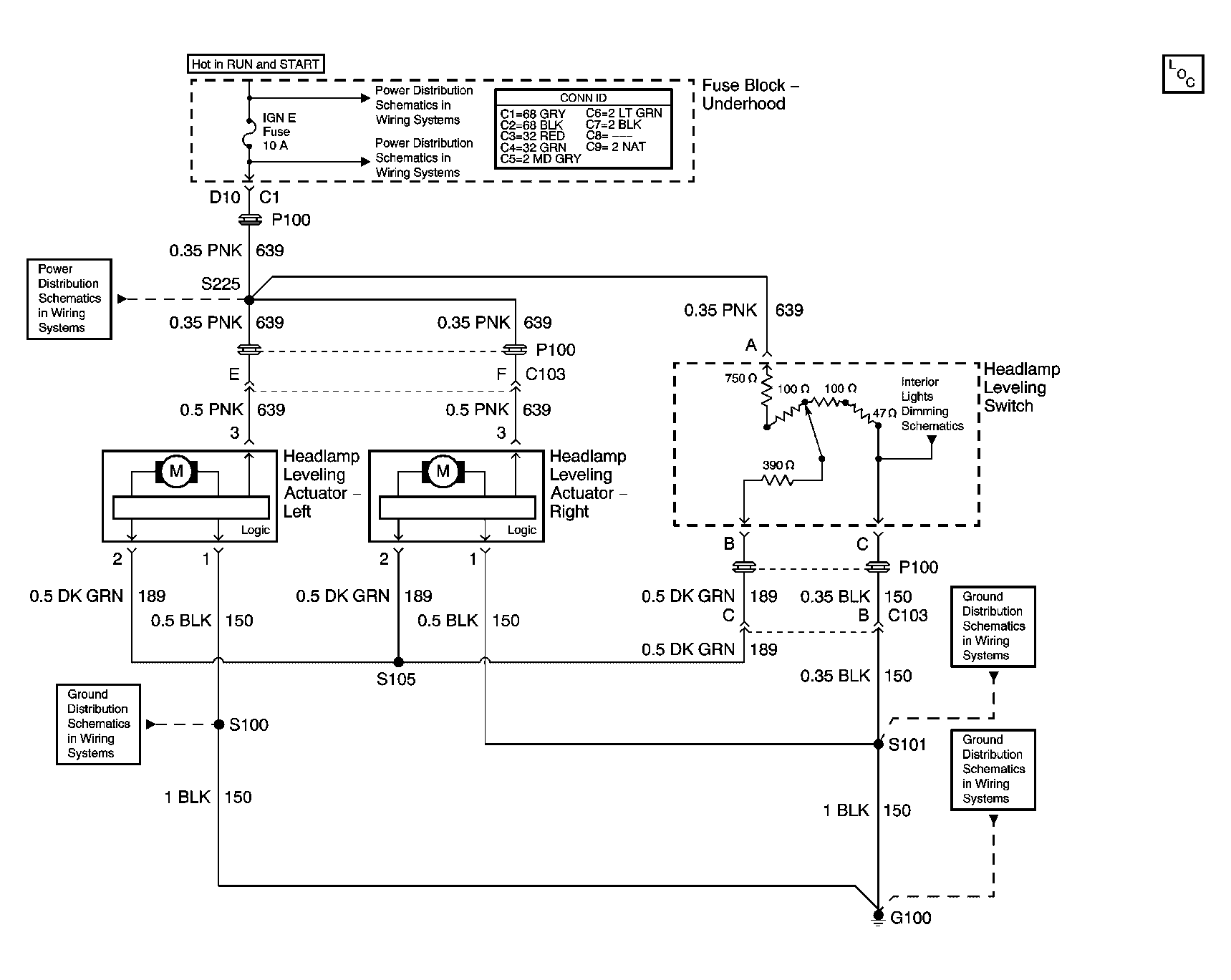
Headlight Leveling Schematics

WARNING: This page does not describe the selected car, but rather 8 other vehicles, including the 2004 GMC Yukon XL, 2004 GMC Yukon, 2004 Chevrolet Tahoe, 2004 Chevrolet Suburban, and 2004 Chevrolet Avalanche. However, it is still accessible from the selected car via links, so may be relevant.
Fig 1: Headlight Leveling Schematic
GM1246196Courtesy of GENERAL MOTORS CORP.