LEMON Manuals: Even more car manuals for everyone: 1960-2025
Home >> Cadillac >> 2003 >> Escalade EXT >> Repair and Diagnosis >> External Pages >> Different car >> Section 653 (Seat System) >> Component Locator >> Power Seat Systems Connector End Views
April 5, 2026: LEMON Manuals is launched! Read the announcement.

Power Seat Systems Connector End Views

WARNING: This page is about a different car, the 2004 Cadillac CTS. However, it is still accessible from the selected car via links, so may be relevant.
Heated Seat Element Connector End View - Driver Seat Back

GM35441Courtesy of GENERAL MOTORS CORP.
Connector Part Information
  • 12059248
  • 2-Way M Metri-Pack 150 Series (GY)
Pin Wire Color Circuit No. Function
A YE 9529 Heated Seat Element Supply Voltage
B YE 9530 Heated Seat Element Control
Heated Seat Element Connector End View - Driver Seat Cushion - Front

GM35441Courtesy of GENERAL MOTORS CORP.
Connector Part Information
  • 12059248
  • 2-Way M Metri-Pack 150 Series (GY)
Pin Wire Color Circuit No. Function
A YE 9529 Heated Seat Element Supply Voltage
B YE 9529 Heated Seat Element Supply Voltage
Heated Seat Element Connector End View - Front Passenger Seat Back

GM35441Courtesy of GENERAL MOTORS CORP.
Connector Part Information
  • 12059248
  • 2-Way M Metri-Pack 150 Series (GY)
Pin Wire Color Circuit No. Function
A YE 9529 Heated Seat Element Supply Voltage
B YE 9530 Heated Seat Element Control
Heated Seat Element Connector End View - Front Passenger Seat Cushion - Front

GM35441Courtesy of GENERAL MOTORS CORP.
Connector Part Information
  • 12059248
  • 2-Way M Metri-Pack 150 Series (GY)
Pin Wire Color Circuit No. Function
A YE 9529 Heated Seat Element Supply Voltage
B YE 9529 Heated Seat Element Supply Voltage
Heated Seat Module Connector End View - Driver C1 (KA1)

GM62464Courtesy of GENERAL MOTORS CORP.
Connector Part Information
  • 12064769
  • 10-Way F Metri-Pack 150 Series (WH)
Pin Wire Color Circuit No. Function
A OG 2440 Battery Positive Voltage
B BN 41 Ignition 3 Voltage
C L-BU/WH 181 Heated Seat Control Module Status Signal
D - - Not Used
E PK 1501 Driver Heated Seat High/Low Signal
F-J - - Not Used
K BK 650 Ground
Heated Seat Module Connector End View - Driver C2 (KA1)

GM40422Courtesy of GENERAL MOTORS CORP.
Connector Part Information
  • 12064762
  • 6-Way F Metri-Pack 150 Series (WH)
Pin Wire Color Circuit No. Function
A BK/RD 9529 Heated Seat Element Supply Voltage
B - - Not Used
C BK/RD 9530 Heated Seat Element Control
D YE 9534 Heated Seat Temperature Sensor Low Reference
E - - Not Used
F YE 9533 Heated Seat Temperature Sensor Signal
Heated Seat Module Connector End View - Front Passenger C1 (KA1)

GM62464Courtesy of GENERAL MOTORS CORP.
Connector Part Information
  • 12064769
  • 10-Way F Metri-Pack 150 Series (WH)
Pin Wire Color Circuit No. Function
A OG 2540 Battery Positive Voltage
B BN 41 Ignition 3 Voltage
C L-BU/WH 2181 Passenger Heated Seat Control Module Status Signal
 
D - - Not Used
E PK 1503 Passenger Heated Seat High/Low Signal
F-J - - Not Used
K BK 550 Ground
Heated Seat Module Connector End View - Front Passenger C2 (KA1)

GM40422Courtesy of GENERAL MOTORS CORP.
Connector Part Information
  • 12064762
  • 6-Way F Metri-Pack 150 Series (WH)
Pin Wire Color Circuit No. Function
A YE 9529 Heated Seat Element Supply Voltage
B - - Not Used
C YE 9530 Heated Seat Element Control
D BK/RD 9534 Heated Seat Temperature Sensor Low Reference
E - - Not Used
F BK/RD 9533 Heated Seat Temperature Sensor Signal
Lumbar Adjuster Switch Connector End View - Driver (AL2)

GM62432Courtesy of GENERAL MOTORS CORP.
Connector Part Information
  • 12041429
  • 5-Way F Metri-Pack 280 Series (BK)
Pin Wire Color Circuit No. Function
A - - Not Used
B YE 1065 Driver Seat Lumbar Forward Switch Signal
C - - Not Used
D OG 2840 Battery Positive Voltage
E D-BU 1064 Driver Seat Lumbar Rearward Switch Signal
Lumbar Adjuster Switch Connector End View - Passenger (AL2)

GM62432Courtesy of GENERAL MOTORS CORP.
Connector Part Information
  • 12041429
  • 5-Way F Metri-Pack 280 Series (BK)
Pin Wire Color Circuit No. Function
A BK 550 Ground
B D-BU 211 Passenger Seat Lumbar Motor Forward Control
C BK 550 Ground
D OG 3740 Battery Positive Voltage
E WH 210 Passenger Seat Lumbar Motor Rearward Control
Lumbar Horizontal Motor Assembly Connector End View - Driver (AL2)

GM39689Courtesy of GENERAL MOTORS CORP.
Connector Part Information
  • 12064754
  • 6-Way M Metri-Pack 280 Series (BK)
Pin Wire Color Circuit No. Function
A D-BU 611 Driver Seat Lumbar Motor Forward Control
B PK 610 Driver Seat Lumbar Motor Rearward Control
C BK 782 Memory Seat Sensor Low Reference
D GY 788 5 Volt Reference
E YE 1063 Driver Seat Lumbar Horizontal Position Sensor Signal
F - - Not Used
Lumbar Horizontal Motor Connector End View - Passenger (AL2)

GM1390769Courtesy of GENERAL MOTORS CORP.
Connector Part Information
  • 12034344
  • 2-Way F Metri-Pack 280 Series (BK)
Pin Wire Color Circuit No. Function
A D-BU 211 Passenger Seat Lumbar Motor Forward Control
B WH 210 Passenger Seat Lumbar Motor Rearward Control
Memory/Personalization Function Switch (A45) Connector End View

GM814536Courtesy of GENERAL MOTORS CORP.
Connector Part Information
  • 15364004
  • 4-Way F (BK)
Pin Wire Color Circuit No. Function
1 YE 1491 Backlight Lamps Control
2 PU 616 Memory 2 Switch Signal
3 BK/WH 351 Ground
4 WH 615 Memory 1 Switch Signal
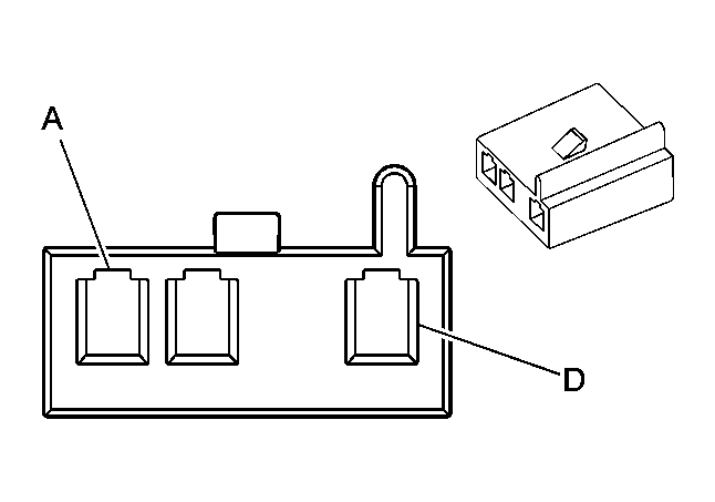
Memory Seat Module (MSM) C1 (A45) Connector End View

GM808706Courtesy of GENERAL MOTORS CORP.
Connector Part Information
  • 12064749
  • 2-Way F Metri-Pack 480 Series (BK)
Pin Wire Color Circuit No. Function
A OG 3740 Battery Positive Voltage
B BK 550 Ground
Memory Seat Module (MSM) C2 (A45) Connector End View

GM646417Courtesy of GENERAL MOTORS CORP.
Connector Part Information
  • 12110112
  • 32-Way F Micro-Pack 100 Series (TN)
Pin Wire Color Circuit No. Function
E1 D-GN 1518 Power Seat Front Vertical Up Switch Signal
E2 YE 1519 Power Seat Rear Vertical Up Switch Signal
E3 D-BU 1520 Power Seat Front Vertical Down Switch Signal
E4 L-BU 1521 Power Seat Rear Vertical Down Switch Signal
E5 TN 1522 Power Seat Horizontal Forward Switch Signal
E6 L-GN 1523 Power Seat Horizontal Rearward Switch Signal
E7 L-GN 276 Driver Seat Recline Forward Switch Signal
E8 L-BU 277 Driver Seat Recline Rearward Switch Signal
E9 D-BU 1064 Driver Seat Lumbar Rearward Switch Signal (AL2)
E10 YE 1065 Driver Seat Lumbar Forward Switch Signal (AL2)
E11-E12 - - Not Used
E13 GY 788 5-Volt Reference
E14 BN/WH 557 Front Vertical Seat Motor Position Sensor Signal
E15 BK 782 Memory Seat Sensor Low Reference
E16 D-GN 569 Horizontal Seat Motor Position Sensor Signal
F1 TN 568  
Rear Vertical Seat Motor Position Sensor Signal
F2 WH/BK 570 Driver Seat Recline Motor Position Sensor Signal
F3 YE 1063 Driver Seat Lumbar Horizontal Position Sensor Signal (AL2)
F4-F10 - - Not Used
F11 OG 2840 Battery Positive Voltage
F12-F13 - - Not Used
F14 PU 1807 Class 2 Serial Data
F15-F16 - - Not Used
Memory Seat Module (MSM) C3 (A45) Connector End View

GM283847Courtesy of GENERAL MOTORS CORP.
Connector Part Information
  • 12129431
  • 16-Way F Metri-Pack 280 Series (BK)
Pin Wire Color Circuit No. Function
A D-GN 286 Driver Seat Front Vertical Motor Up Control
B D-BU 611 Driver Seat Lumbar Motor Forward Control (AL2)
C-E - - Not Used
F L-GN 276 Driver Seat Recline Motor Forward Control
G L-BU 277 Driver Seat Recline Motor Rearward Control
H-K - - Not Used
L PK 610 Driver Seat Lumbar Motor Rearward Control (AL2)
M D-BU 287 Driver Seat Front Vertical Motor Down Control
N TN 285 Driver Seat Horizontal Motor Forward Control
P L-BU 283 Driver Seat Rear Vertical Motor Down Control
R YE 282 Driver Seat Rear Vertical Motor Up Control
S L-GN 284 Driver Seat Horizontal Motor Rearward Control
Seat Adjuster Switch Connector End View - Driver (LHD w/o A45)

GM476149Courtesy of GENERAL MOTORS CORP.
Connector Part Information
  • 15326110
  • 12-Way F 280 GT Series (BK)
Pin Wire Color Circuit No. Function
A D-BU 77 Driver Seat Recline Motor Rearward Control
B D-GN 76 Driver Seat Recline Motor Forward Control
C BK 550 Ground
D L-GN 290 Driver Seat Horizontal Motor Rearward Control
E TN 296 Driver Seat Horizontal Motor Forward Control
F OG 3740 Battery Positive Voltage
G-H - - Not Used
J L-BU 289 Driver Seat Rear Vertical Motor Down Control
K YE 288 Driver Seat Rear Vertical Motor Up Control
L D-BU 298 Driver Seat Front Vertical Motor Down Control
M D-GN 297 Driver Seat Front Vertical Motor Up Control
 
Seat Adjuster Switch Connector End View - Driver (RHD w/o A45)

GM476149Courtesy of GENERAL MOTORS CORP.
Connector Part Information
  • 15326110
  • 12-Way F 280 GT Series (BK)
Pin Wire Color Circuit No. Function
A OG 3740 Battery Positive Voltage
B L-GN 290 Driver Seat Horizontal Motor Rearward Control
C TN 296 Driver Seat Horizontal Motor Forward Control
D BK 550 Ground
E D-BU 77 Driver Seat Recline Motor Rearward Control
F D-GN 76 Driver Seat Recline Motor Forward Control
G D-BU 298 Driver Seat Front Vertical Motor Down Control
H D-GN 297 Driver Seat Front Vertical Motor Up Control
 
J L-BU 289 Driver Seat Rear Vertical Motor Down Control
K YE 288 Driver Seat Rear Vertical Motor Up Control
L-M - - Not Used
Seat Adjuster Switch Connector End View - Driver (LHD w/A45)

GM476149Courtesy of GENERAL MOTORS CORP.
Connector Part Information
  • 15326110
  • 12-Way F 280 GT Series (BK)
Pin Wire Color Circuit No. Function
A L-BU 277 Driver Seat Recline Rearward Switch Signal
B L-GN 276 Driver Seat Recline Forward Switch Signal
C - - Not Used
D L-GN 1523 Power Seat Horizontal Rearward Switch Signal
E TN 1522 Power Seat Horizontal Forward Switch Signal
F OG 2840 Battery Positive Voltage
G-H - - Not Used
J L-BU 1521 Power Seat Rear Vertical Down Switch Signal
K YE 1519 Power Seat Rear Vertical Up Switch Signal
L D-BU 1520 Power Seat Front Vertical Down Switch Signal
M D-GN 1518 Power Seat Front Vertical Up Switch Signal
Seat Adjuster Switch Connector End View - Driver (RHD w/A45)

GM476149Courtesy of GENERAL MOTORS CORP.
Connector Part Information
  • 15326110
  • 12-Way F 280 GT Series (BK)
Pin Wire Color Circuit No. Function
A OG 2840 Battery Positive Voltage
B L-GN 1523 Power Seat Horizontal Rearward Switch Signal
C TN 1522 Power Seat Horizontal Forward Switch Signal
D - - Not Used
E L-BU 277 Driver Seat Recline Rearward Switch Signal
F L-GN 276 Driver Seat Recline Forward Switch Signal
G D-BU 1520 Power Seat Front Vertical Down Switch Signal
H D-GN 1518 Power Seat Front Vertical Up Switch Signal
J L-BU 1521 Power Seat Rear Vertical Down Switch Signal
K YE 1519 Power Seat Rear Vertical Up Switch Signal
L-M - - Not Used
Seat Adjuster Switch Connector End View - Passenger (LHD w/AH8)

GM476149Courtesy of GENERAL MOTORS CORP.
Connector Part Information
  • 15326110
  • 12-Way F 280 GT Series (BK)
Pin Wire Color Circuit No. Function
A OG 3740 Battery Positive Voltage
B L-GN 290 Passenger Seat Horizontal Motor Rearward Control
C TN 296 Passenger Seat Horizontal Motor Forward Control
D BK 550 Ground
E L-BU 77 Passenger Seat Recline Motor Rearward Control
F L-GN 76 Passenger Seat Recline Motor Forward Control
G D-BU 298 Passenger Seat Front Vertical Motor Down Control
H D-GN 297 Passenger Seat Front Vertical Motor Up Control
J L-BU 289 Passenger Seat Rear Vertical Motor Down Control
K YE 288 Passenger Seat Rear Vertical Motor Up Control
L-M - - Not Used
Seat Adjuster Switch Connector End View - Passenger (RHD w/AH8)

GM476149Courtesy of GENERAL MOTORS CORP.
Connector Part Information
  • 15326110
  • 12-Way F 280 GT Series (BK)
Pin Wire Color Circuit No. Function
A D-BU 77 Passenger Seat Recline Motor Rearward Control
B D-GN 76 Passenger Seat Recline Motor Forward Control
C BK 550 Ground
D L-GN 290 Passenger Seat Horizontal Motor Rearward Control
E TN 296 Passenger Seat Horizontal Motor Forward Control
F OG 3740 Battery Positive Voltage
G-H - - Not Used
J L-BU 289 Passenger Seat Rear Vertical Motor Down Control
K YE 288 Passenger Seat Rear Vertical Motor Up Control
L D-BU 298 Passenger Seat Front Vertical Motor Down Control
M D-GN 297 Passenger Seat Front Vertical Motor Up Control
Seat Front Vertical Motor Connector End View - Driver

GM808706Courtesy of GENERAL MOTORS CORP.
Connector Part Information
  • 12064749
  • 2-Way F Metri-Pack 480 Series (GY)
Pin Wire Color Circuit No. Function
A D-BU 287 Driver Seat Front Vertical Motor Down Control (LHD w/A45)
D-GN 286 Driver Seat Front Vertical Motor Up Control (RHD w/A45)
D-BU 298 Driver Seat Front Vertical Motor Down Control (w/o A45)
B D-GN 286 Driver Seat Front Vertical Motor Up Control (LHD w/A45)
D-BU 287 Driver Seat Front Vertical Motor Down Control (RHD w/A45)
D-GN 297 Driver Seat Front Vertical Motor Up Control (w/o A45)
Seat Front Vertical Motor Connector End View - Passenger (AH8)

GM808706Courtesy of GENERAL MOTORS CORP.
Connector Part Information
  • 12064749
  • 2-Way F Metri-Pack 480 Series (BK)
Pin Wire Color Circuit No. Function
A D-GN 298 Passenger Seat Front Vertical Motor Down Control
B D-BU 297 Passenger Seat Front Vertical Motor Up Control
Seat Front Vertical Position Sensor Connector End View - Driver (A45)

GM1332410Courtesy of GENERAL MOTORS CORP.
Connector Part Information
  • 12059584
  • 3-Way F Metri-Pack 150 Series (BK)
Pin Wire Color Circuit No. Function
A - - Unavailable
B BK 782 Memory Seat Sensor Low Reference (LHD)
GY 788 5-Volt Reference (RHD)
C BN/WH 557 Front Vertical Seat Motor Position Sensor Signal
D GY 788 5 Volt Reference (LHD)
BK 782 Memory Seat Sensor Low Reference (RHD)
Seat Horizontal Motor Connector End View - Driver

GM153645Courtesy of GENERAL MOTORS CORP.
Connector Part Information
  • 12129081
  • 2-Way F Metri-Pack 280 Series Flexlock (BK)
Pin Wire Color Circuit No. Function
A TN 285 Driver Seat Horizontal Motor Forward Control (LHD w/A45)
L-GN 284 Driver Seat Horizontal Motor Rearward Control (RHD w/A45)
TN 296 Driver Seat Horizontal Motor Forward Control (LHD w/o A45)
L-GN 290 Driver Seat Horizontal Motor Rearward Control (RHD w/o A45)
B L-GN 284 Driver Seat Horizontal Motor Rearward Control (LHD w/A45)
TN 285 Driver Seat Horizontal Motor Forward Control (RHD w/A45)
L-GN 290 Driver Seat Horizontal Motor Rearward Control (LHD w/o A45)
TN 296 Driver Seat Horizontal Motor Forward Control (RHD w/o A45)
Seat Horizontal Motor Connector End View - Passenger (AH8)

GM153645Courtesy of GENERAL MOTORS CORP.
Connector Part Information
  • 12129081
  • 2-Way F Metri-Pack 280 Series Flexlock (BK)
Pin Wire Color Circuit No. Function
A L-GN 290 Passenger Seat Horizontal Motor Rearward Control (LHD)
TN 296 Passenger Seat Horizontal Motor Forward Control (RHD)
B TN 296 Passenger Seat Horizontal Motor Forward Control (LHD)
L-GN 290 Passenger Seat Horizontal Motor Rearward Control (RHD)
Seat Horizontal Position Sensor Connector End View - Driver (A45)

GM1332415Courtesy of GENERAL MOTORS CORP.
Connector Part Information
  • 12059581
  • 3-Way F Metri-Pack 150 Series (GY)
Pin Wire Color Circuit No. Function
A GY 788 5-Volt Reference (LHD)
BK 782 Memory Seat Sensor Low Reference (RHD)
B D-GN 569 Horizontal Seat Motor Position Sensor Signal
C BK 782 Memory Seat Sensor Low Reference (LHD)
GY 788 5-Volt Reference (RHD)
D - - Unavailable
Seat Rear Vertical Motor Connector End View - Driver

GM808706Courtesy of GENERAL MOTORS CORP.
Connector Part Information
  • 12064749
  • 2-Way F Metri-Pack 480 Series (GY)
Pin Wire Color Circuit No. Function
A YE 282 Driver Seat Rear Vertical Motor Up Control (LHD w/A45)
L-BU 283 Driver Seat Rear Vertical Motor Down Control (RHD w/A45)
YE 288 Driver Seat Rear Vertical Motor Up Control (LHD w/o A45)
L-BU 289 Driver Seat Rear Vertical Motor Down Control (RHD w/o A45)
B L-BU 283 Driver Seat Rear Vertical Motor Down Control (LHD w/A45)
YE 282 Driver Seat Rear Vertical Motor Up Control (RHD w/A45)
L-BU 289 Driver Seat Rear Vertical Motor Down Control (LHD w/o A45)
YE 288 Driver Seat Rear Vertical Motor Up Control (RHD w/o A45)
Seat Rear Vertical Motor Connector End View - Passenger (AH8)

GM808706Courtesy of GENERAL MOTORS CORP.
Connector Part Information
  • 12064749
  • 2-Way F Metri-Pack 480 Series (GY)
Pin Wire Color Circuit No. Function
A L-BU 289 Passenger Seat Rear Vertical Motor Down Control (LHD)
YE 288 Passenger Seat Rear Vertical Motor Up Control (RHD)
B YE 288 Passenger Seat Rear Vertical Motor Up Control (LHD)
L-BU 289 Passenger Seat Rear Vertical Motor Down Control (RHD)
Seat Rear Vertical Position Sensor Connector End View - Driver (A45)

GM1332414Courtesy of GENERAL MOTORS CORP.
Connector Part Information
  • 12059582
  • 3-Way F Metri-Pack 150 Series (BU)
Pin Wire Color Circuit No. Function
A GY 788 5-Volt Reference (LHD)
BK 782 Memory Seat Sensor Low Reference (RHD)
B TN 568 Rear Vertical Seat Motor Position Sensor Signal
C - - Unavailable
D BK 782 Memory Seat Sensor Low Reference (LHD)
GY 788 5-Volt Reference (RHD)
Seat Recline Motor Connector End View - Driver

GM153645Courtesy of GENERAL MOTORS CORP.
Connector Part Information
  • 12129082
  • 2-Way F Metri-Pack 280 Series, Flexlock (BK)
Pin Wire Color Circuit No. Function
A L-GN 276 Driver Seat Recline Motor Forward Control (w/A45)
D-GN 76 Driver Seat Recline Motor Forward Control (w/o A45)
B L-BU 277 Driver Seat Recline Motor Rearward Control (w/A45)
D-BU 77 Driver Seat Recline Motor Rearward Control (w/o A45)
Seat Recline Motor Connector End View - Passenger (AH8)

GM153645Courtesy of GENERAL MOTORS CORP.
Connector Part Information
  • 12129082
  • 2-Way F Metri-Pack 280 Series, Flexlock (BK)
Pin Wire Color Circuit No. Function
A L-GN 76 Passenger Seat Recline Motor Forward Control
B L-BU 77 Passenger Seat Recline Motor Rearward Control
Seat Recline Position Sensor Connector End View - Driver (A45)

GM890598Courtesy of GENERAL MOTORS CORP.
Connector Part Information
  • 12059583
  • 3-Way F Metri-Pack 150 Series (WH)
Pin Wire Color Circuit No. Function
1 BK 782 Memory Seat Sensor Low Reference
2 GY 788 5-Volt Reference
3 WH/BK 570 Driver Seat Recline Motor Position Sensor Signal