LEMON Manuals: Even more car manuals for everyone: 1960-2025
Home >> Cadillac >> 2003 >> Escalade EXT >> Repair and Diagnosis >> Quick Lookups >> Wiring Diagrams >> OEM Connector End Views >> Connector End Views >> Seat Position Sensor (SPS) Connector End View
April 5, 2026: LEMON Manuals is launched! Read the announcement.

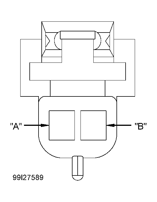
Seat Position Sensor (SPS) Connector End View

Fig 1: Seat Position Sensor (SPS) Connector End View
G99I27589Courtesy of GENERAL MOTORS CORP.