LEMON Manuals: Even more car manuals for everyone: 1960-2025
Home >> Cadillac >> 2003 >> Escalade EXT >> Repair and Diagnosis >> Steering >> Power Steering System >> Repair Instructions >> Power Steering Pulley Replacement >> Installation Procedure
April 5, 2026: LEMON Manuals is launched! Read the announcement.

Installation Procedure

  1. Place the power steering pump pulley on the end of the power steering pump shaft.
  2. Install the power steering pump pulley using J 25033-C  .
    Fig 1: Installing Power Steering Pump Pulley
    G01454903Courtesy of GENERAL MOTORS CORP.
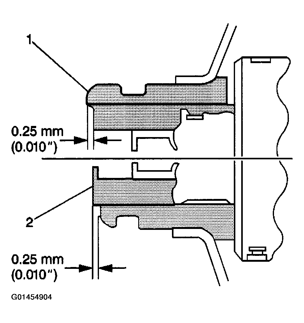
  3. Ensure that the power steering pump pulley (1) is flush against the power steering pump shaft, with an allowable variance of 0.25 mm (0.010 in).
  4. Install the drive belt. Refer to DRIVE BELT REPLACEMENT -- ACCESSORY or 8.1L in Engine Mechanical.
  5. Install the upper fan shroud. Refer to FAN SHROUD REPLACEMENT - UPPER (W/O M74) or FAN SHROUD REPLACEMENT - UPPER (W/M74) in ENGINE COOLING SYSTEM .
    Fig 2: Sectional View Of Power Steering Pump Pulley
    G01454904Courtesy of GENERAL MOTORS CORP.