LEMON Manuals: Even more car manuals for everyone: 1960-2025
Home >> Cadillac >> 2003 >> Seville SLS >> Repair and Diagnosis (Single Page) >> Accessories & Equipment >> Wiper/Washer Systems >> Wiper System And Washer System >> Schematic and Routing Diagrams >> Wiper/Washer System Schematics >> Wiper/Washer System Schematics - Wiper System (w/CE1)
April 5, 2026: LEMON Manuals is launched! Read the announcement.

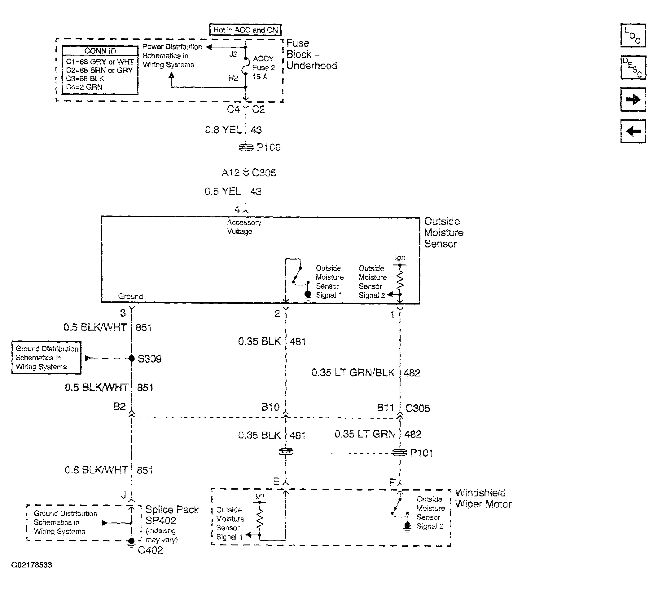
Wiper/Washer System Schematics - Wiper System (w/CE1)

Fig 1: Wiper/Washer System Schematics - Wiper System (w/CE1)
G02178533Courtesy of GENERAL MOTORS CORP.