LEMON Manuals: Even more car manuals for everyone: 1960-2025
Home >> Cadillac >> 2003 >> Seville SLS >> Repair and Diagnosis (Single Page) >> Body & Frame >> Windows >> Door System, Mirror System & Window System >> Schematic and Routing Diagrams >> Door Control Module Schematics >> Door Control Module Schematics (FDDM Inputs, Outputs, and Class 2)
April 5, 2026: LEMON Manuals is launched! Read the announcement.

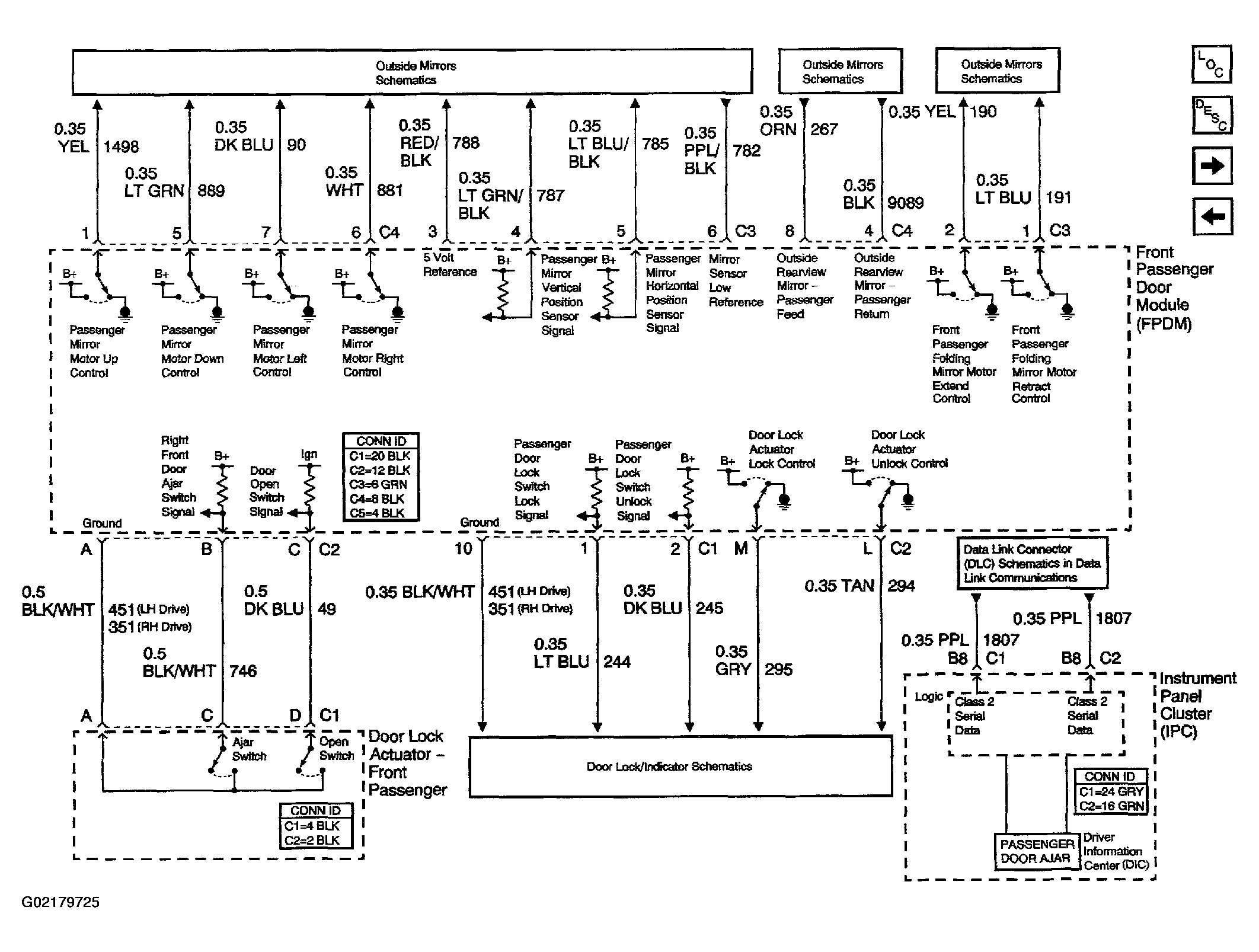
Door Control Module Schematics (FDDM Inputs, Outputs, and Class 2)

Fig 1: Door Control Module Schematics (FDDM Inputs, Outputs, And Class 2)
G02179725Courtesy of GENERAL MOTORS CORP.