LEMON Manuals: Even more car manuals for everyone: 1960-2025
Home >> Cadillac >> 2003 >> Seville STS >> Repair and Diagnosis (Single Page) >> Accessories & Equipment >> Communication Devices >> Body Control System >> Schematic and Routing Diagrams >> Body Control System Schematics >> Body Control System Schematics (DIM Inputs/Outputs (2 of 2)
April 5, 2026: LEMON Manuals is launched! Read the announcement.

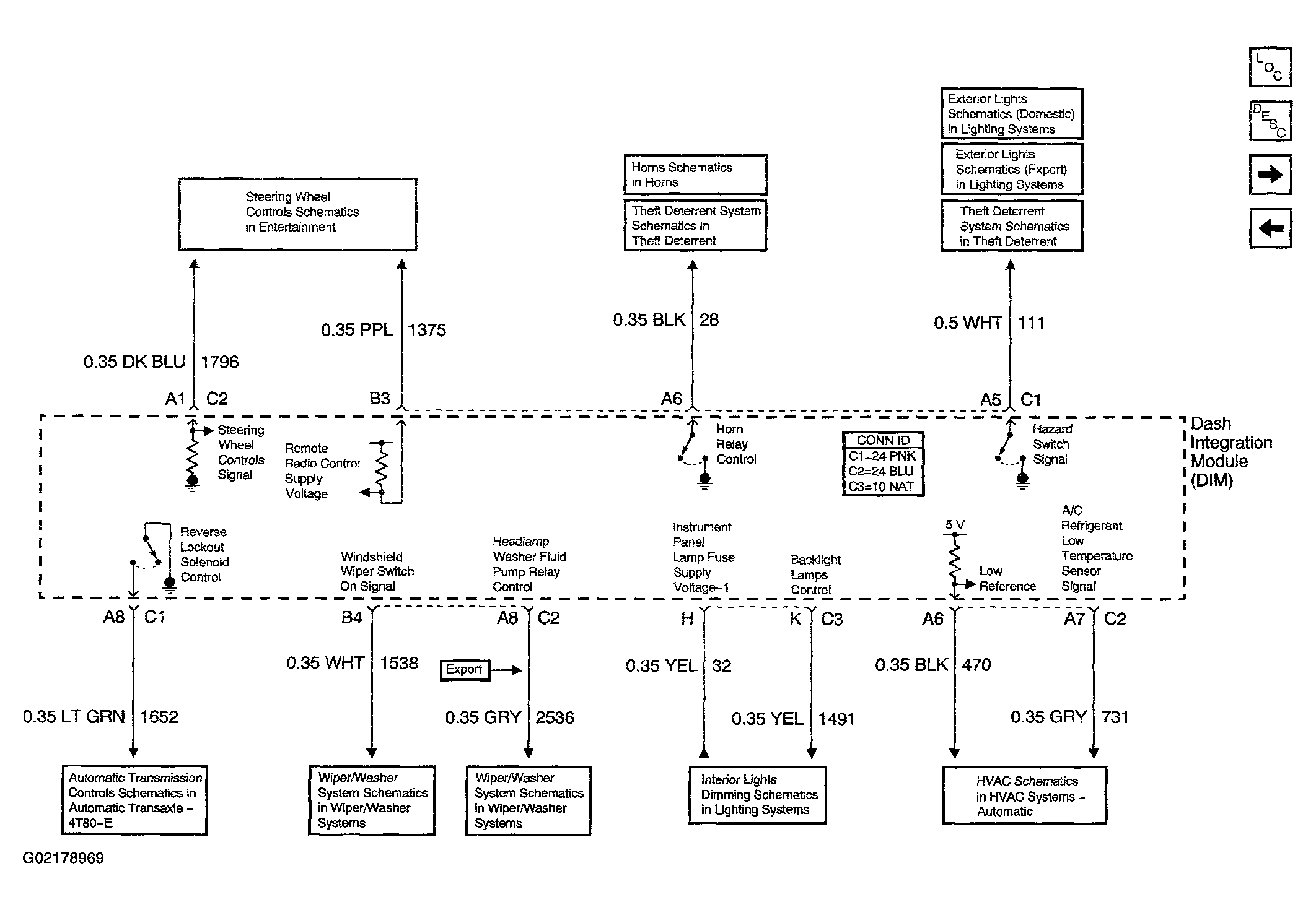
Body Control System Schematics (DIM Inputs/Outputs (2 of 2)

Fig 1: Body Control System Schematics - DIM Inputs/Outputs (2 Of 2)
G02178969Courtesy of GENERAL MOTORS CORP.