LEMON Manuals: Even more car manuals for everyone: 1960-2025
Home >> Cadillac >> 2003 >> Seville STS >> Repair and Diagnosis >> Transmission >> Automatic Trans >> Shift Lock Control System >> Schematic and Routing Diagrams >> Automatic Transmission Shift Lock Control Schematics >> Automatic Transmission Shift Lock Schematics (Automatic Transaxle Fluid Pressure Manual Valve Position Switch)
April 5, 2026: LEMON Manuals is launched! Read the announcement.

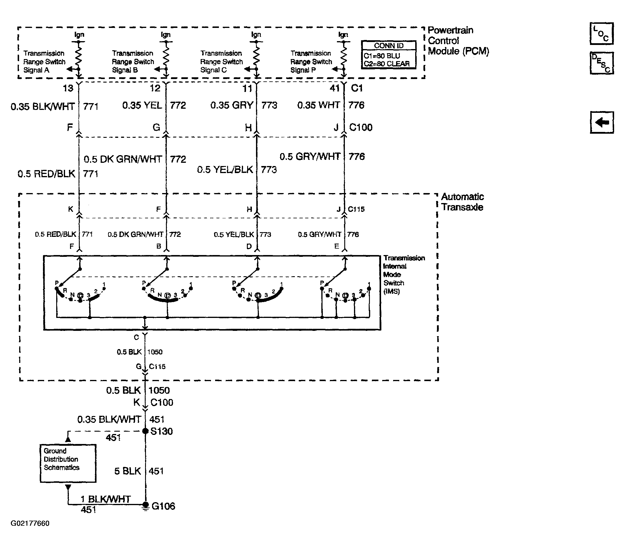
Automatic Transmission Shift Lock Schematics (Automatic Transaxle Fluid Pressure Manual Valve Position Switch)

Fig 1: Automatic Transmission Shift Lock Schematics (Automatic Transaxle Fluid Pressure Manual Valve Position Switch)
G02177660Courtesy of GENERAL MOTORS CORP.