LEMON Manuals: Even more car manuals for everyone: 1960-2025
Home >> Cadillac >> 2003 >> Seville V8-4.6L VIN 9 >> Repair and Diagnosis >> Cruise Control >> Relays and Modules - Cruise Control >> Cruise Control Module >> Service and Repair
April 5, 2026: LEMON Manuals is launched! Read the announcement.

Cruise Control Module: Service and Repair

CRUISE CONTROL MODULE REPLACEMENT

REMOVAL PROCEDURE




1. Remove the cruise control cable.
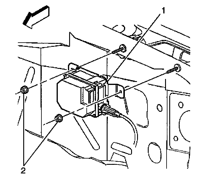
2. Remove the electrical connector from the cruise control module assembly (1).
3. Remove the fasteners (2) from the mounting studs.
4. Remove the cruise control module assembly (1) from the vehicle.




5. Remove the fasteners (3) that retain the cruise control module bracket (2) to the cruise control module.
6. Remove the cruise control module bracket (2) from the cruise control module (1).

INSTALLATION PROCEDURE




1. Install the cruise control module (1) to the bracket (2).
2. Install the cruise control module bracket fasteners (3).

NOTE: Refer to Fastener Notice in Service Precautions.

Tighten
Tighten the fasteners to 7.5 N.m (66 lb in).




3. Install the cruise control module (1) onto the studs on the cowl.
4. Install the fasteners (2).

Tighten
Tighten the cruise control mounting fasteners to 9 N.m (80 lb in).

5. Connect the electrical connector to the cruise control module (1).
6. Install the cruise control cable.

IMPORTANT: The cruise control cable does not require mechanical adjusting after the replacement. The cruise control module internally adjusts the cable. Refer to Cruise Control Description and Operation for the complete operational details.