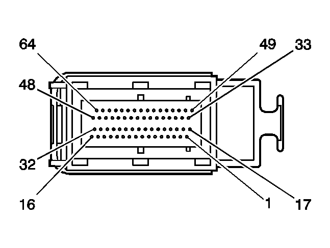
Engine Control Module (ECM) Connector End View C2
Engine Control Module (ECM) Connector End View C2
| Connector Part Information |
|
||
|---|---|---|---|
| Pin | Wire Color | Circuit No. | Function |
| 1-3 | - | - | Not Used |
| 4 | GY | 23 | Generator Field Duty Cycle Signal |
| 5 | GY | 1884 | Cruise Control Switch Signal |
| 6 | OG/BK | 380 | A/C Refrigerant Pressure Sensor Signal |
| 7 | TN | 1274 | 5-Volt Reference |
| 8 | D-BU | 1161 | APP Sensor 1 Signal |
| 9-10 | - | - | Not Used |
| 11 | OG | 225 | Generator Turn On Signal |
| 12 | - | - | Not Used |
| 13 | D-GN/WH | 459 | A/C Compressor Clutch Relay Control |
| 14 | - | - | Not Used |
| 15 | RD/WH | 1440 | Battery Positive Voltage |
| 16 | PK/BK | 5290 | Ignition 1 Voltage |
| 17 | YE | 5 | Crank Voltage |
| 18 | WH | 1310 | EVAP Canister Vent Solenoid Control |
| 19 | BN | 818 | Vehicle Speed Signal |
| 20 | - | - | Not Used |
| 21 | BN/WH | 379 | CPP Switch Signal (M35) |
| 22 | L-BU | 1937 | Fuel Level Sensor Signal - Secondary |
| 23 | OG/BK | 1786 | Park/Neutral Signal (M82) |
| PU/WH | 1035 | Starter Relay Coil Supply Voltage (M35) | |
| 24 | BN | 1271 | Low Reference |
| 25 | PU | 1272 | Low Reference |
| 26 | - | - | Not Used |
| 27 | OG | 5371 | BAS Relay Coil Supply Voltage |
| 28 | OG/BK | 463 | Requested Torque Signal |
| 29 | - | - | Not Used |
| 30 | D-GN/WH | 465 | Fuel Pump Relay Control |
| 31 | BN | 5069 | Main Relay Control |
| 32 | PK/BK | 5290 | Ignition 1 Voltage |
| 33 | D-BU | 473 | High Speed Cooling Fan Relay Control |
| 34 | TN | 452 | Low Reference |
| 35 | WH | 121 | Engine Speed Signal |
| 36 | - | - | Not Used |
| 37 | D-GN | 890 | Fuel Tank Pressure Sensor Signal |
| 38 | D-BU | 1936 | Fuel Level Sensor Signal - Primary |
| 39 | YE | 447 | Starter Relay Coil Control |
| 40 | L-BU | 1162 | APP Sensor 2 Signal |
| 41 | GY | 847 | Extended Travel Brake Switch Signal |
| 42-43 | - | - | Not Used |
| 44 | YE | 400 | Vehicle Speed Sensor Signal (M35) |
| 45 | WH | 2500 | High Speed GMLAN Serial Data Bus+ (M82) |
| 46 | BN/WH | 419 | MIL Control |
| 47 | PK | 239 | Ignition 1 Voltage |
| 48 | PK/BK | 5290 | Ignition 1 Voltage |
| 49 | - | - | Not Used |
| 50 | D-GN | 335 | Low Speed Cooling Fan Relay Control |
| 51 | TN | 470 | Low Reference |
| 52 | TN/BK | 464 | Delivered Torque Signal |
| 53 | WH/BK | 5043 | Keyword 2000 Serial Data (M82) |
| 54 | - | - | Not Used |
| 55 | PU | 1807 | Class 2 Serial Data |
| 56 | WH/BK | 1164 | 5-Volt Reference |
| 57 | PU | 1807 | Class 2 Serial Data |
| 58-59 | - | - | Not Used |
| 60 | YE/BK | 5270 | Traction Control Data Signal |
| 61 | L-GN | 2501 | High Speed GMLAN Serial Data Bus- (M82) |
| 62 | PU | 5128 | Auxiliary Cooling Fan Relay Control (Export w/V92) |
| 63 | TN | 596 | 5-Volt Reference |
| 64 | YE | 343 | Accessory Voltage |
Engine Control Module (ECM) Connector End View C2
| Connector Part Information |
|
||
|---|---|---|---|
| Pin | Wire Color | Circuit No. | Function |
| 1 | PK/BK | 5290 | Ignition 1 Voltage |
| 2 | GY/WH | 3122 | HO2S Heater Low Control - Bank 1 Sensor 2 |
| 3 | PK | 239 | Ignition 1 Voltage |
| 4 | D-BU | 473 | High Speed Cooling Fan Relay Control |
| 5 | WH | 121 | Engine Speed Signal |
| 6 | - | - | Not Used |
| 7 | WH/BK | 1164 | 5-Volt Reference A |
| 8 | PU | 1272 | Low Reference |
| 9 | OG/BK | 380 | A/C Refrigerant Pressure Sensor Signal |
| 10 | OG | 5371 | BAS Relay Coil Supply Voltage |
| 11 | TN | 472 | IAT Sensor Signal |
| 12 | D-GN | 890 | Fuel Tank Pressure Sensor Signal |
| 13-14 | - | - | Not Used |
| 15 | OG/BK | 463 | Requested Torque Signal |
| 16 | - | - | Not Used |
| 17 | PK/BK | 5290 | Ignition 1 Voltage |
| 18 | OG/WH | 3223 | HO2S Heater Low Control - Bank 2 Sensor 2 |
| 19 | D-GN/WH | 465 | Fuel Pump Relay Control |
| 20 | D-GN | 335 | Low Speed Cooling Fan Relay Control |
| 21 | - | - | Not Used |
| 22 | BN | 818 | Vehicle Speed Signal |
| 23 | WH | 2500 | High Speed GMLAN Serial Data Bus+ (M82) |
| 24 | BN | 5069 | MAIN Relay Control |
| 25 | TN | 452 | Low Reference |
| 26 | TN | 2760 | Low Reference |
| 27 | L-BU | 1937 | Fuel Level Sensor Signal - Secondary |
| 28 | - | - | Not Used |
| 29 | PU/WH | 1668 | HO2S Signal - Bank 1 Sensor 2 |
| 30 | - | - | Not Used |
| 31 | YE | 5 | Crank Voltage |
| 32 | OG/BK | 1786 | Park/Neutral Signal (M82) |
| 33 | WH | 1310 | EVAP Canister Vent Solenoid Control |
| 34 | - | - | Not Used |
| 35 | YE | 447 | Starter Relay Coil Control |
| 36 | RD/WH | 1440 | Battery Positive Voltage |
| 37 | TN/BK | 464 | Delivered Torque Signal |
| 38 | - | - | Not Used |
| 39 | GY | 596 | 5-Volt Reference A |
| 40 | BN | 1271 | Low Reference |
| 41 | TN | 1671 | HO2S Low Referene - Bank 2 Sensor 2 |
| 42 | D-BU | 1936 | Fuel Level Sensor Signal - Primary |
| 43 | YE | 492 | MAF Sensor Signal |
| 44 | L-BU | 1162 | APP Sensor 2 Signal |
| 45-46 | - | - | Not Used |
| 47 | YE/BK | 5270 | Traction Control Data Signal |
| 48 | PU | 1807 | Class 2 Serial Data |
| 49 | D-GN/WH | 459 | A/C Compressor Clutch Relay Control |
| 50 | BN/WH | 419 | MIL Control |
| 51-54 | - | - | Not Used |
| 55 | L-GN | 2501 | High Speed GMLAN Serial Data Bus- (M82) |
| 56 | TN | 1274 | 5-Volt Reference C |
| 57 | TN/WH | 1669 | HO2S Low Reference - Bank 1 Sensor 2 |
| 58 | YE | 343 | Accessory Voltage |
| 59 | GY | 1884 | Cruise Control Switch Signal |
| 60 | D-BU | 1161 | APP Sensor Signal 1 |
| 61 | PU | 1670 | HO2S Signal - Bank 2 Sensor 2 |
| 62 | - | - | Not Used |
| 63 | GY | 847 | Extended Travel Brake Switch Signal |
| 64 | - | - | Not Used |