LEMON Manuals: Even more car manuals for everyone: 1960-2025
Home >> Cadillac >> 2004 >> CTS V >> Repair and Diagnosis (Single Page) >> Quick Lookups >> Wiring Diagrams >> OEM Connector End Views >> Connector End Views >> Engine Control Module (ECM) Connector End View C1
April 5, 2026: LEMON Manuals is launched! Read the announcement.

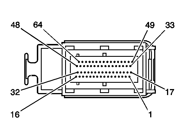
Engine Control Module (ECM) Connector End View C1

Engine Control Module (ECM) Connector End View C1

GM816165Courtesy of GENERAL MOTORS CORP.
Connector Part Information
  • 1928403379
  • 64-Way F Bosch (BK)
Pin Wire Color Circuit No. Function
1 YE 581 TAC Motor Control - 1
2 YE 5036 HO2S Heater Low Control - Bank 2 Sensor 2
3 PK/BK 1746 Fuel Injector 3 Control
4 L-BU/WH 5041 IMRC Solenoid Control
5 D-GN/WH 428 EVAP Canister Purge Solenoid Control
6 TN 407 Low Reference
7 TN 1671 HO2S Low Signal - Bank 2 Sensor 2
8 BN/WH 633 CMP Sensor Signal
9 - - Not Used
10 WH/BK 5039 CKP Sensor High
11 - - Not Used
12 TN 1667 HO2S Low Signal - Bank 2 Sensor 1
13 - - Not Used
14 D-GN 2125 IC 5 Control
15 L-BU 2123 IC 3 Control
16 PU 2121 IC 1 Control
17 BN 582 TAC Motor Control - 2
18 PU/WH 5037 HO2S Heater Low Control - Bank 2 Sensor 1
19 TN 1744 Fuel Injector 1 Control
20 TN/WH 845 Fuel Injector 5 Control
21 - - Not Used
22 D-BU 496 Knock Sensor 1 Signal
23 PU/WH 1668 HO2S High Signal - Bank 1 Sensor 2
24 D-GN 485 TP Sensor 1 Signal
25 YE 410 ECT Sensor Signal
26 TN 2761 Low Reference
27 - - Not Used
28 PU/WH 1665 HO2S High Signal - Bank 1 Sensor 1
29 TN/BK 231 Oil Pressure Switch Signal
30 OG/WH 2122 IC 2 Control
31 D-GN/WH 2124 IC 4 Control
32 L-BU/WH 2126 IC 6 Control
33 YE 581 TAC Motor Control - 1
34 PU 5035 HO2S Heater Low Control - Bank 1 Sensor 2
35 L-GN/BK 1745 Fuel Injector 2 Control
36 YE/BK 846 Fuel Injector 6 Control
37 - - Not Used
38 L-BU 1876 Knock Sensor 2 Signal
39 PU 1670 HO2S High Signal - Bank 2 Sensor 2
40 PU 486 TP Sensor 2 Signal
41 - - Not Used
42 TN 2752 Low Reference
43 - - Not Used
44 PU 1666 HO2S High Signal - Bank 2 Sensor 1
45-48 - - Not Used
49 BN 582 TAC Motor Control - 2
50 L-BU 5038 HO2S Heater Low Control - Bank 1 Sensor 1
51 TN 2760 5-Volt Reference
52 L-BU/BK 844 Fuel Injector 4 Control
53 PU/BK 5042 IMTV Solenoid Control
54 GY 1716 Low Reference
55 TN/WH 1669 HO2S Low Signal - Bank 1 Sensor 2
56 YE 492 MAF Sensor Signal
57 TN 472 IAT Sensor Signal
58 GY 2701 5-Volt Reference
59 PU/WH 5024 CKP Sensor Low
60 TN/WH 1653 HO2S Low Signal - Bank 1 Sensor 1
61 - - Not Used
62 BK 1705 Shielded Ground
63-64 - - Not Used


Engine Control Module (ECM) Connector End View C1

GM1331454Courtesy of GENERAL MOTORS CORP.
Connector Part Information
  • 1928403513
  • 64-Way F Bosch (BK)
Pin Wire Color Circuit No. Function
1 TN 407 Low Reference
2 OG 5280 HO2S Input Pump Current - Bank 2 Sensor 1
3 L-GN 5278 HO2S Input Pump Current - Bank 1 Sensor 1
4 OG 5275 CMP Sensor Signal - Intake Bank 1
5 GY 605 5-Volt Reference A
6 - - Not Used
7 TN 470 Low Reference
8 PU 486 TP Sensor Signal 2
9 D-GN/WH 2124 IC 4 Control
10 WH/BK 5039 CKP Sensor Signal
11 - - Not Used
12 OG/BK 5272 CMP Actuator Solenoid Control - Intake Bank 2
13 L-GN 5282 CMP Actuator Solenoid Control - Exhaust Bank 1
14 - - Not Used
15 TN 582 TAC Motor Control - 2
16 GY/WH 3113 HO2S Heater Low Control - Bank 1 Sensor 1
17 GY 1716 Low Reference
18 TN 1667 HO2S Low Reference - Bank 2 Sensor 1
19 PU/WH 1665 HO2S Reference Voltage - Bank 1 Sensor 1
20 D-GN 5273 CMP Sensor Signal - Exhaust Bank 1
21 GY 23 Generator Field Duty Cycle Signal
22 - - Not Used
23 YE 410 ECT Sensor Signal
24 - - Not Used
25 L-BU/WH 2126 IC 6 Control
26 OG/WH 2122 IC 2 Control
27-28 - - Not Used
29 PK 5284 CMP Actuator Solenoid Control - Intake Bank 1
30 WH/BK 5283 CMP Actuator Solenoid Control - Exhaust Bank 2
31 YE 581 TAC Motor Control - 1
32 L-GN 3212 HO2S Heater Low Control - Bank 2 Sensor 1
33 D-BU 496 Knock Sensor 1 Signal
34 PU 1666 HO2S Reference Voltage - Bank 2 Sensor 1
35 WH 5279 HO2S Pump Current - Bank 1 Sensor 1
36 PU 5274 CMP Sensor Signal - Exhaust Bank 2
37 BN 1174 Oil Level Switch Signal
38 D-GN/WH 357 Oil Temperature Sensor Signal
39 TN 2752 Low Reference
40 TN/BK 231 Oil Pressure Switch Signal
41 D-GN 2125 IC 5 Control
42 PU 2121 IC 1 Control
43 OG 225 Generator Turn On Signal
44 D-BU/BK 5041 IMRC Solenoid Control
45 D-BU/BK 844 Fuel Injector 4 Control
46 PK/BK 1746 Fuel Injector 3 Control
47 TN/WH 845 Fuel Injector 5 Control
48 L-GN/WH 428 EVAP Canister Purge Solenoid Control
49 GY/BK 1798 Drain Wire
50 L-BU 1876 Knock Sensor 2 Signal
51 PU/WH 5281 HO2S Pump Current - Bank 2 Sensor 1
52 TN 1664 HO2S Low Reference - Bank 1 Sensor 1
53 YE 5276 CMP Sensor Signal - Intake Bank 2
54 GY 2701 5-Volt Reference C
55 D-GN 485 TP Sensor Signal 1
56 OG/BK 5266 BARO Sensor Signal
57 GY 705 5-Volt Reference B
58 L-BU 2123 IC 3 Control
59 PU/WH 5024 CKP Sensor Low Reference
60-61 - - Not Used
62 L-GN/BK 1745 Fuel Injector 2 Control
63 TN 1744 Fuel Injector 1 Control
64 YE/BK 846 Fuel Injector 6 Control