LEMON Manuals: Even more car manuals for everyone: 1960-2025
Home >> Cadillac >> 2004 >> CTS V >> Repair and Diagnosis >> Engine Performance >> System >> Engine Controls - 5.7L - Introduction >> Component Locator >> Engine Controls Component Views
April 5, 2026: LEMON Manuals is launched! Read the announcement.

Engine Controls Component Views

Fig 1: Engine Controls Components
GM1369069Courtesy of GENERAL MOTORS CORP.
Callout Component Name
1 Fuel Injector 6
2 Fuel Injector 8
3 Fuel Injector 3
4 Fuel Injector 5
5 Fuel Injector 7
6 Ignition Coil/Module 7
7 Ignition Coil/Module 5
8 C131
9 Ignition Coil/Module 3
10 Ignition Coil/Module 1
11 Engine Coolant Temperature (ECT) Sensor
12 Evaporative Emission (EVAP) Canister Purge Solenoid Valve
13 Fuel Injector 1
14 Throttle Actuator Control (TAC) Motor
15 Throttle Position (TP) Sensor
16 Fuel Injector 2
17 Ignition Coil/Module 2
18 Ignition Coil/Module 4
19 Fuel Injector 4
20 C132
21 Ignition Coil/Module 6
22 Ignition Coil/Module 8
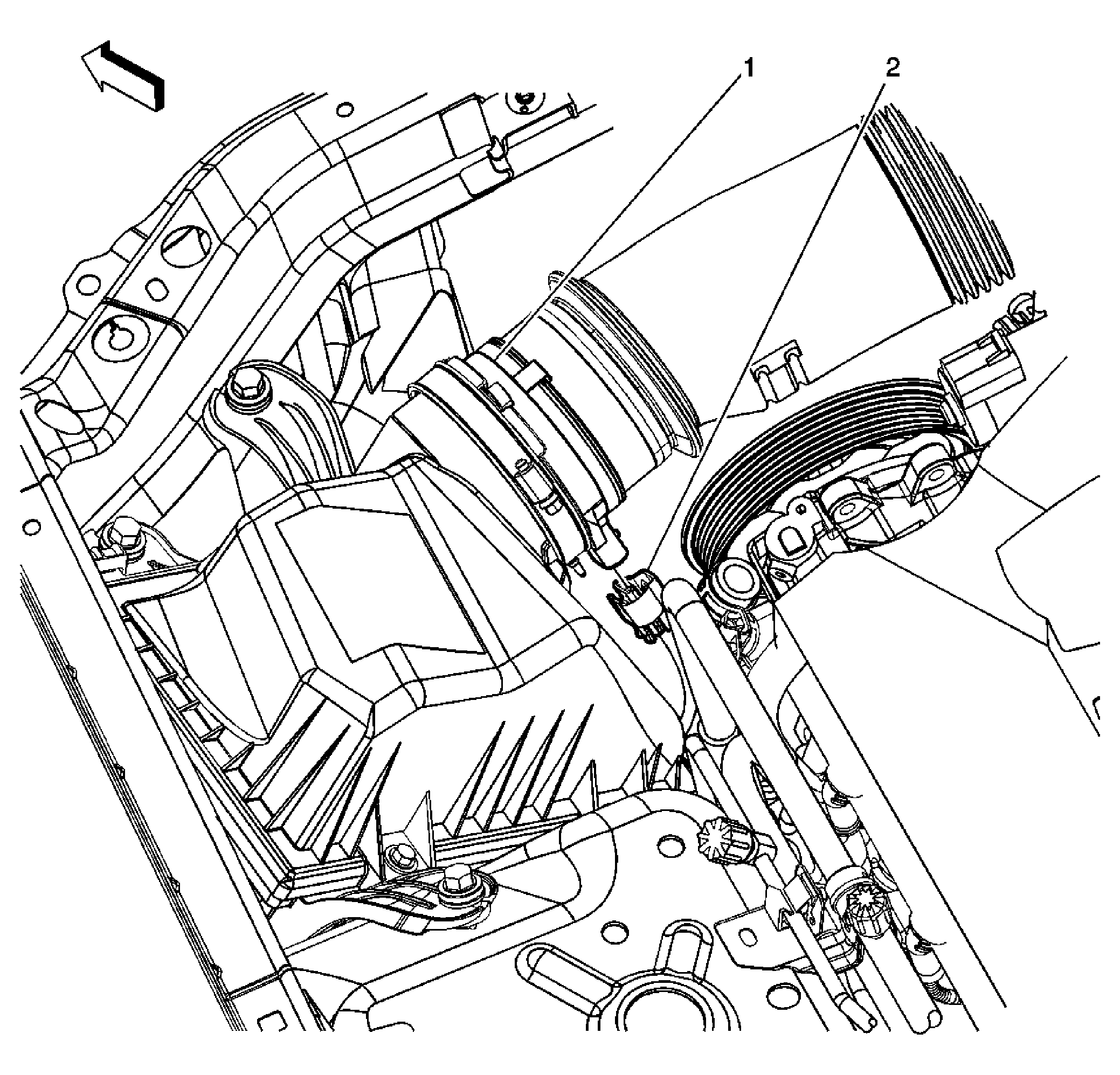
Fig 2: MAF and IAT Sensors - 5.7L (LS6)
GM1372932Courtesy of GENERAL MOTORS CORP.
Callout Component Name
1 Mass Air Flow (MAF) and Intake Air Temperature (IAT) Sensors
2 Mass Air Flow (MAF) Connector
Fig 3: Right Side of the Engine
GM1551000Courtesy of GENERAL MOTORS CORP.
Callout Component Name
1 Crankshaft Position (CKP) Sensor Connector
2 A/C Compressor Clutch Connector (C60)
3 Engine Oil Level Switch Connector
4 Starter Motor
Fig 4: Center of the Engine
GM198593Courtesy of GENERAL MOTORS CORP.
Callout Component Name
1 Knock Sensor (KS) 1
2 Knock Sensor (KS) 2
Fig 5: Rear of Engine - 5.7L (LS6)
GM1368977Courtesy of GENERAL MOTORS CORP.
Callout Component Name
1 Ground G141
2 Manifold Absolute Pressure (MAP) Sensor
3 Ground G142
4 Camshaft Position (CMP) Sensor
5 Engine Oil Pressure (EOP) Sensor
6 Ground G140
Fig 6: Heated Oxygen Sensors (HO2S)
GM1379281Courtesy of GENERAL MOTORS CORP.
Callout Component Name
1 Heated Oxygen Sensor (HO2S) Bank 1 Sensor 1
2 Heated Oxygen Sensor (HO2S) Bank 2 Sensor 1
3 Heated Oxygen Sensor (HO2S) Bank 2 Sensor 2
4 Heated Oxygen Sensor (HO2S) Bank 1 Sensor 2
Fig 7: Brake Pedal, Accelerator Pedal, BPP and APP Sensors
GM1334064Courtesy of GENERAL MOTORS CORP.
Callout Component Name
1 Accelerator Pedal Position (APP) Sensor
2 Accelerator Pedal
3 Brake Pedal
4 Brake Pedal Position (BPP) Sensor
Fig 8: EVAP Canister Vent Solenoid Valve
GM1378817Courtesy of GENERAL MOTORS CORP.
Callout Component Name
1 EVAP Canister
2 EVAP Canister Vent Solenoid Valve Connector
3 EVAP Canister Vent Solenoid Valve
Fig 9: Fuel Tank Subsystem Components
GM1378267Courtesy of GENERAL MOTORS CORP.
Callout Component Name
1 Secondary Fuel Sender Assembly
2 Secondary Fuel Sender Assembly Connector
3 Secondary Fuel Sender Assembly (Removed from Fuel Tank)
4 Fuel Pump and Sender Assembly (Removed from Fuel Tank)
5 Fuel Pump and Sender Assembly
6 Fuel Pump and Sender Assembly Connector
7 Fuel Tank Pressure Sensor
8 Fuel Tank Pressure Sensor Connector