LEMON Manuals: Even more car manuals for everyone: 1960-2025
Home >> Cadillac >> 2004 >> CTS V8-5.7L VIN P >> Repair and Diagnosis >> Diagrams >> Exploded Views >> Engine >> Lower Engine Assembly
April 5, 2026: LEMON Manuals is launched! Read the announcement.

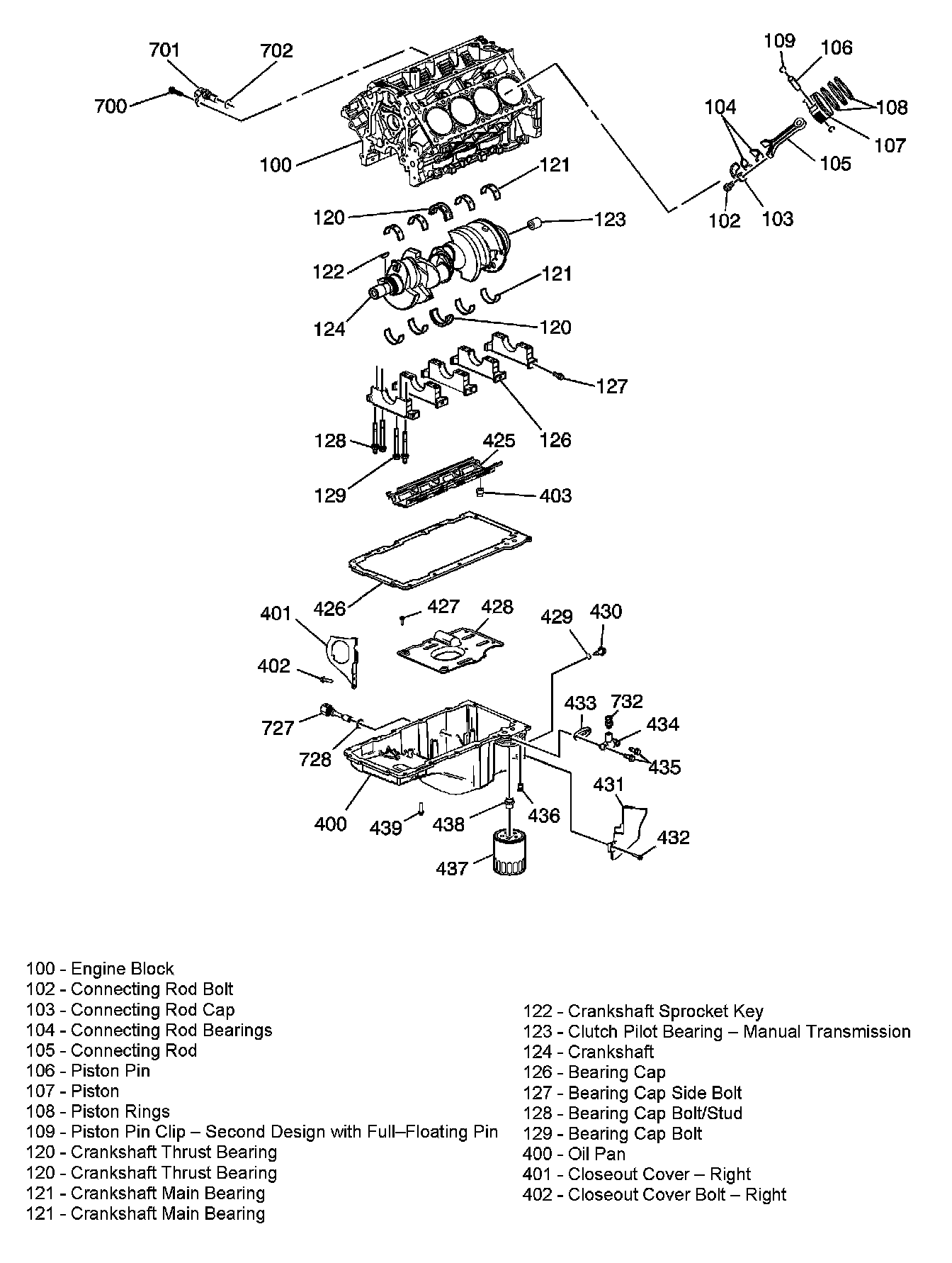
Lower Engine Assembly