LEMON Manuals: Even more car manuals for everyone: 1960-2025
Home >> Cadillac >> 2004 >> DeVille Base >> Repair and Diagnosis >> Engine Performance >> System >> Engine Controls (Introduction) - 4.6L >> Schematic and Routing Diagrams >> Engine Controls Schematics
April 5, 2026: LEMON Manuals is launched! Read the announcement.

Engine Controls Schematics

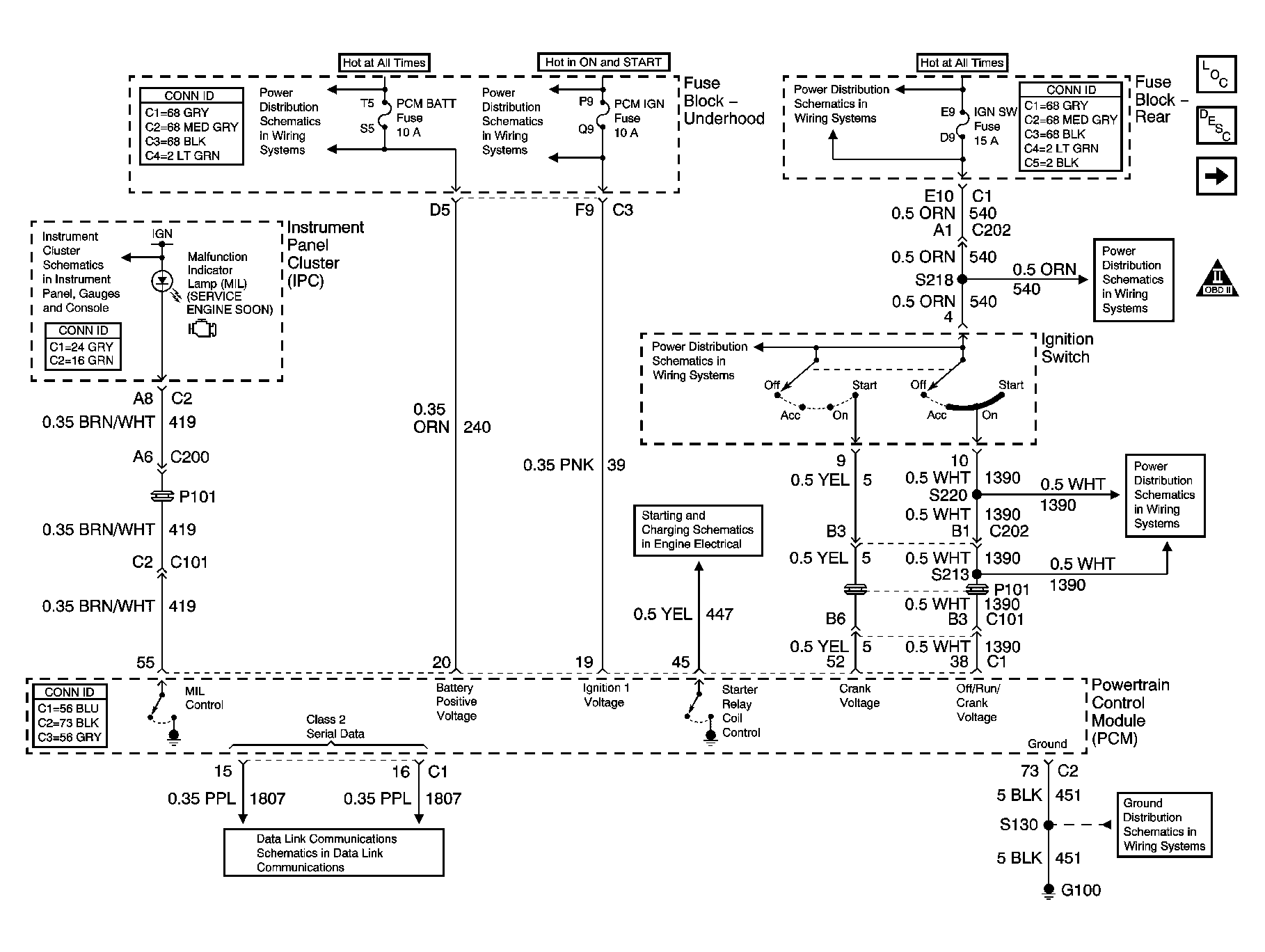
Fig 1: PCM Power, Ground, Serial Data, and MIL Schematic
GM1217688Courtesy of GENERAL MOTORS CORP.
Fig 2: Engine Data Sensors - 5-Volt and Low Reference Schematic
GM1217689Courtesy of GENERAL MOTORS CORP.
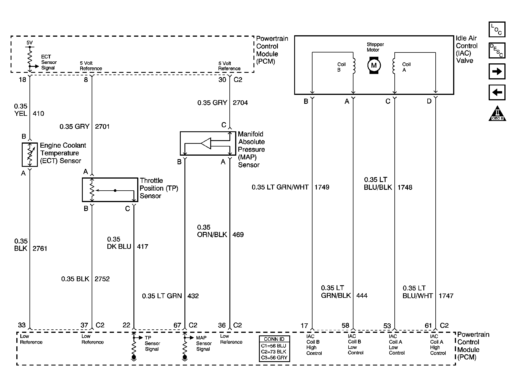
Fig 3: Pressure and Temperature Sensors Schematic
GM1217691Courtesy of GENERAL MOTORS CORP.
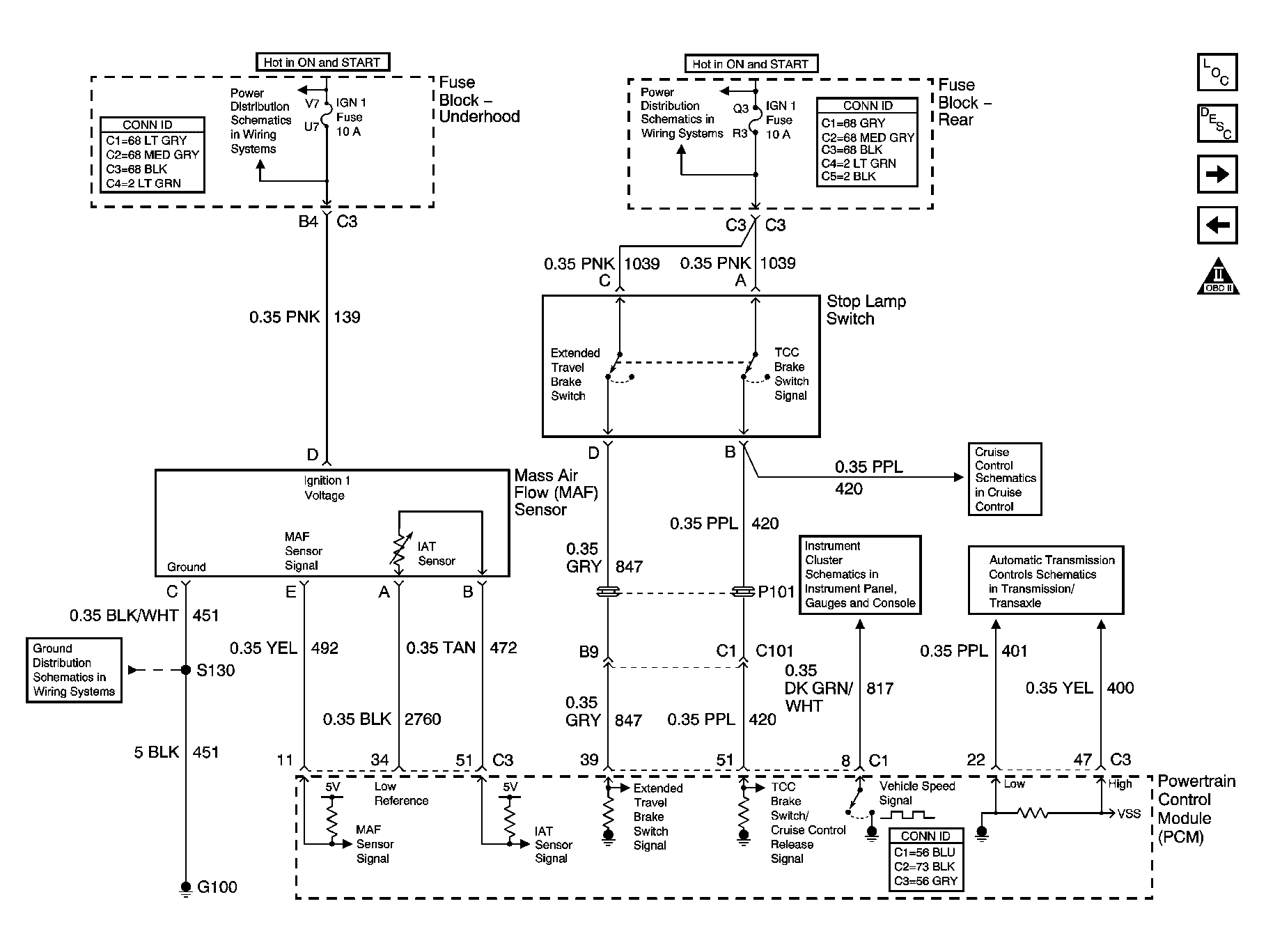
Fig 4: MAF, VSS and Extended Brake Travel Switch Sensors Schematic
GM1217694Courtesy of GENERAL MOTORS CORP.
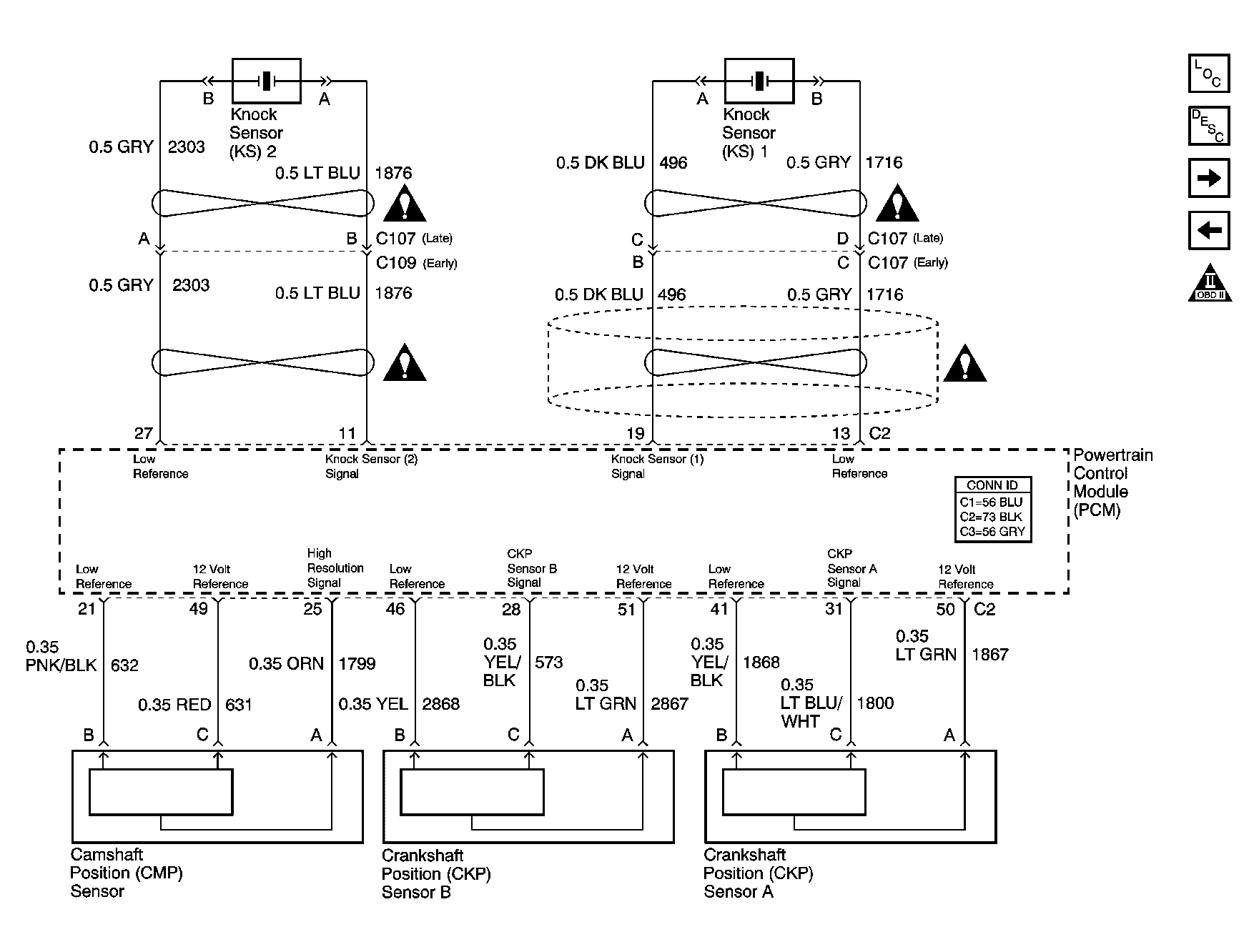
Fig 5: HO2S Sensors Schematic
GM1217696Courtesy of GENERAL MOTORS CORP.
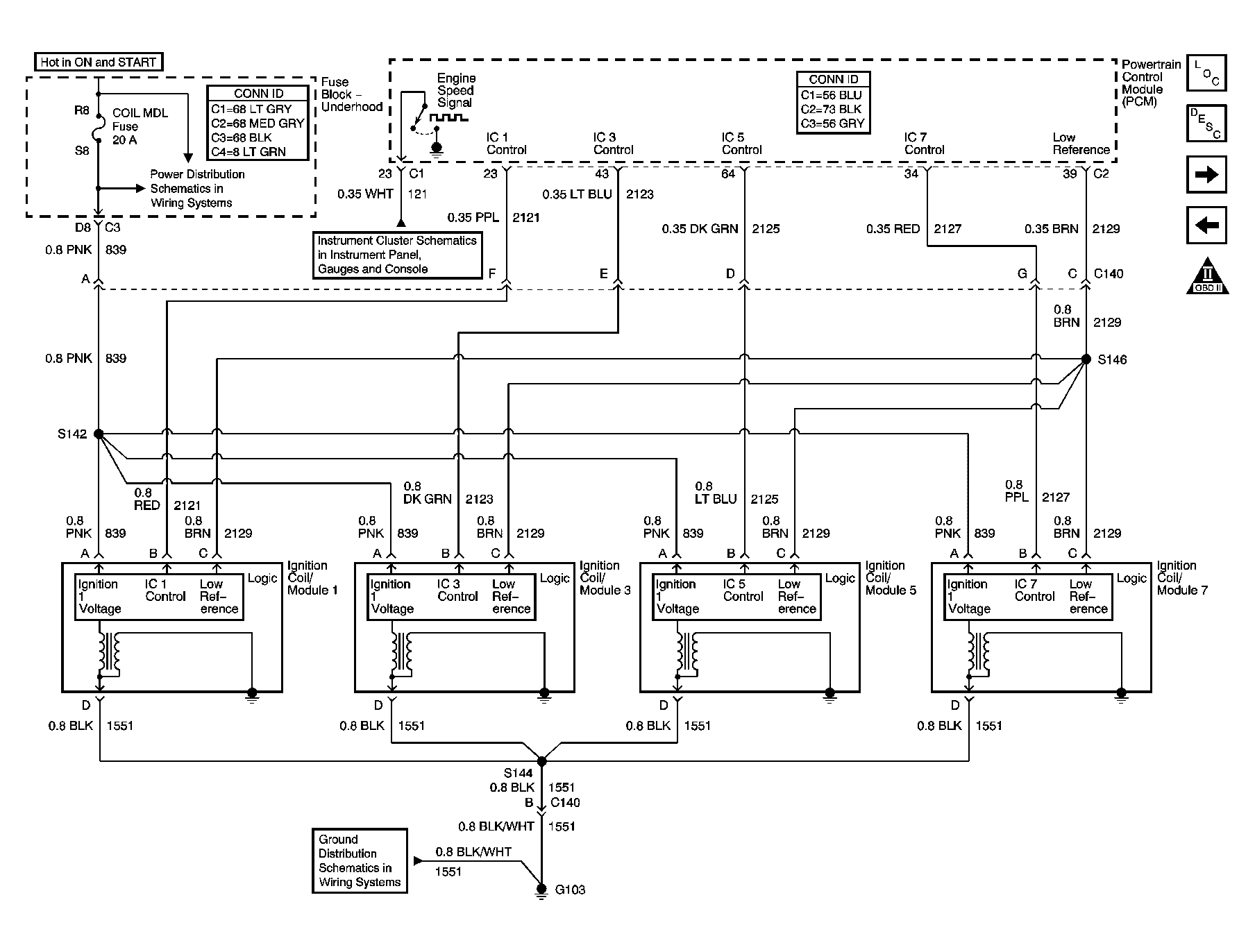
Fig 6: Ignition Controls - Ignition Coil/Modules 1, 3, 5, and 7 Schematic
GM1370875Courtesy of GENERAL MOTORS CORP.
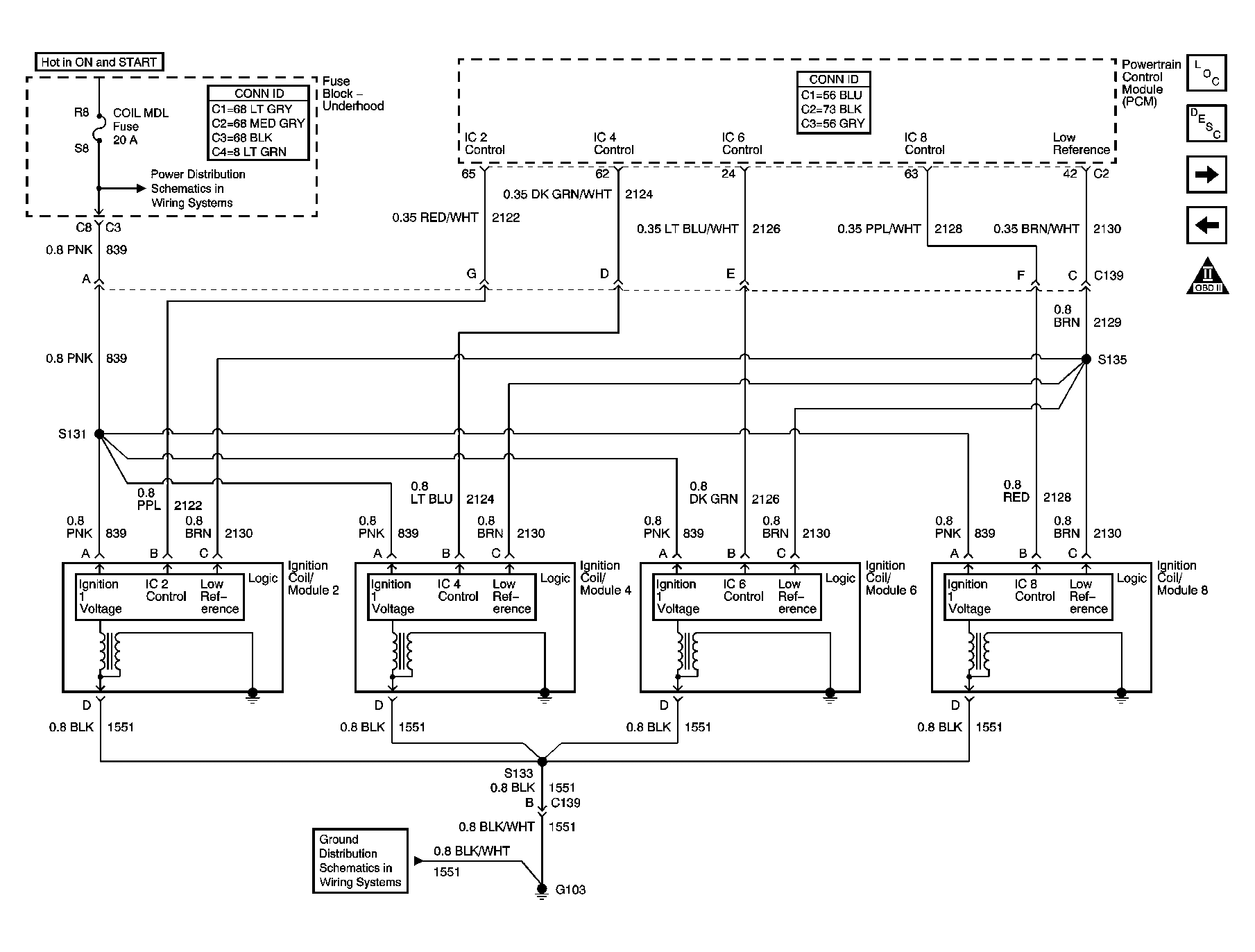
Fig 7: Ignition Controls - Ignition Coil/Modules 2, 4, 6, and 8 Schematic
GM1370880Courtesy of GENERAL MOTORS CORP.
Fig 8: Ignition Controls - Sensors Schematic
GM1217712Courtesy of GENERAL MOTORS CORP.
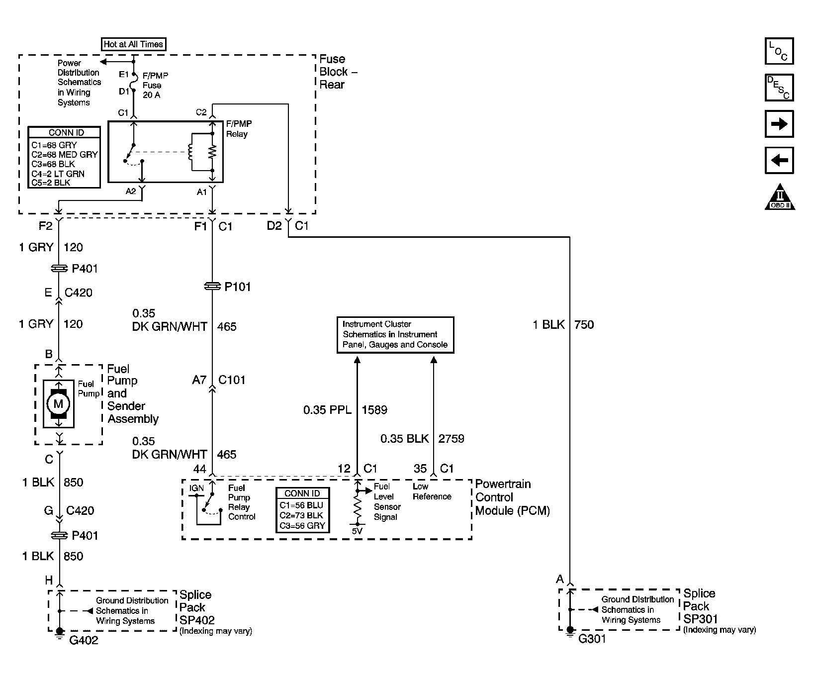
Fig 9: Fuel Controls - Fuel Pump Controls Schematic
GM1217715Courtesy of GENERAL MOTORS CORP.
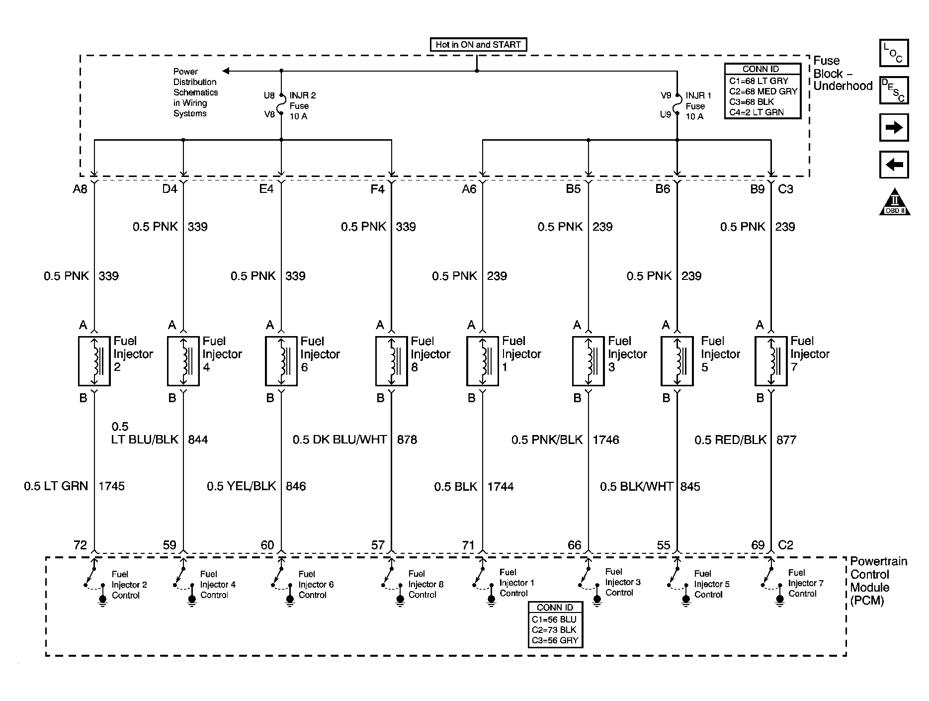
Fig 10: Fuel Controls - Fuel Injectors Schematic
GM1217718Courtesy of GENERAL MOTORS CORP.
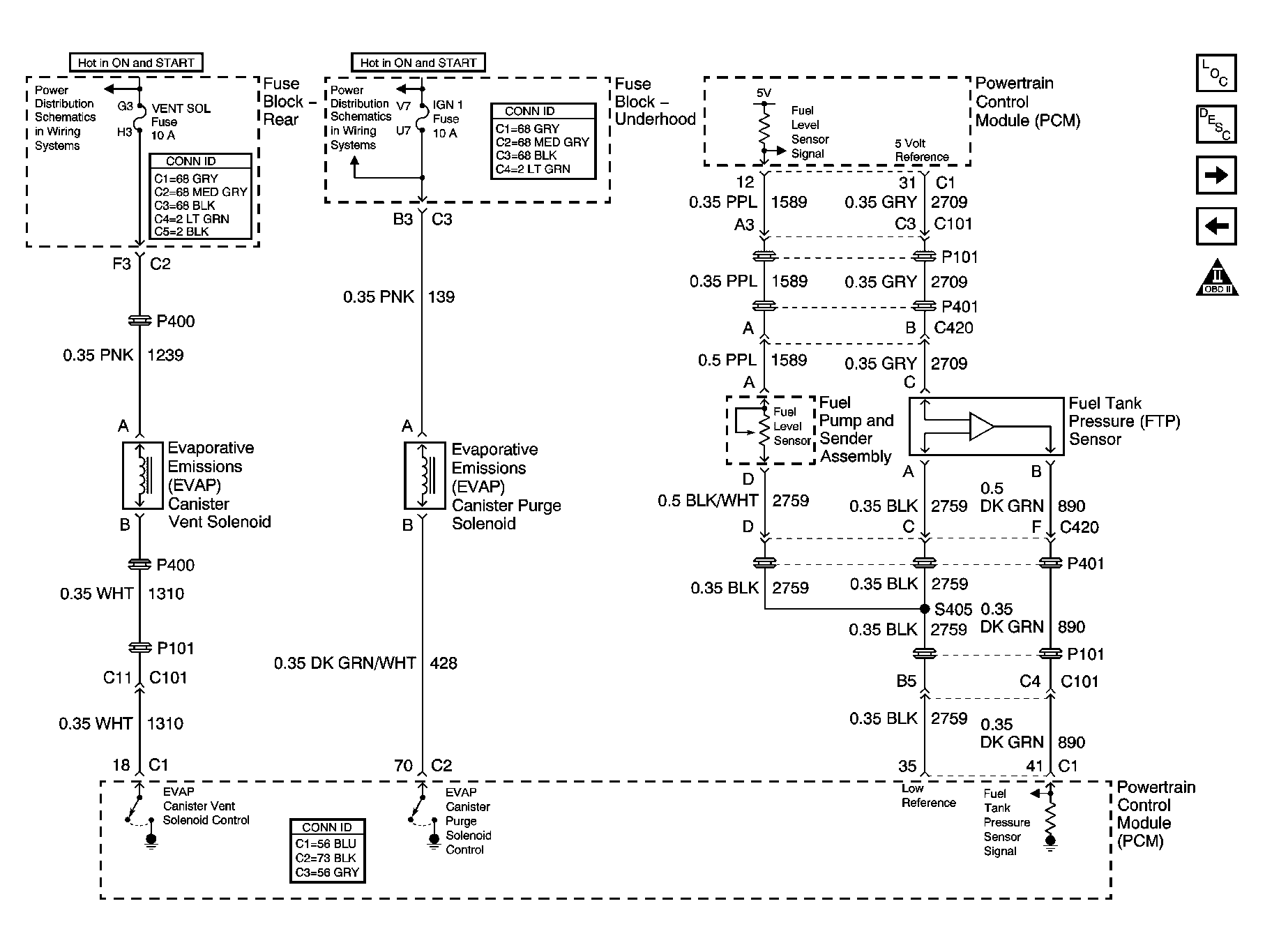
Fig 11: EVAP Controls Schematic
GM1217722Courtesy of GENERAL MOTORS CORP.
Fig 12: Device Controls Schematic
GM1217725Courtesy of GENERAL MOTORS CORP.
Fig 13: Controlled/Monitored Subsystem References Schematic
GM1217730Courtesy of GENERAL MOTORS CORP.
Fig 14: Transmission Controls References Schematic
GM1217735Courtesy of GENERAL MOTORS CORP.