LEMON Manuals: Even more car manuals for everyone: 1960-2025
Home >> Cadillac >> 2004 >> DeVille Protection Series >> Repair and Diagnosis (Single Page) >> Body & Frame >> Windows >> Door System, Mirror System & Window System >> Repair Instructions >> Door Control Module Replacement >> Removal Procedure
April 5, 2026: LEMON Manuals is launched! Read the announcement.

Removal Procedure

  1. Remove the door trim panel. Refer to Trim Panel Replacement - Side Rear Door (Standard)  or Trim Panel Replacement - Side Rear Door (WC2, WC8)  or to Trim Panel Replacement - Side Front Door (Standard)  or Trim Panel Replacement - Side Front Door (WC2, WC8) .
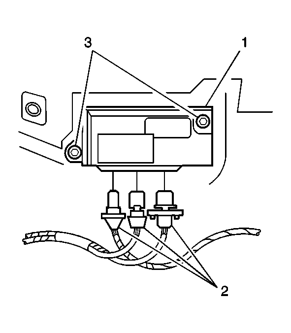
  2. Disconnect the electrical connectors (2) from the control module.
  3. Remove the door control module (1) by releasing the retainer tabs (3).
  4. Fig 1: View Of Door Control Module & Electrical Connectors
    GM492380Courtesy of GENERAL MOTORS CORP.