LEMON Manuals: Even more car manuals for everyone: 1960-2025
Home >> Cadillac >> 2004 >> DeVille Protection Series >> Repair and Diagnosis >> Body & Frame >> Windows >> Stationary Window System >> Component Locator >> Stationary Windows Connector End Views
April 5, 2026: LEMON Manuals is launched! Read the announcement.

Stationary Windows Connector End Views

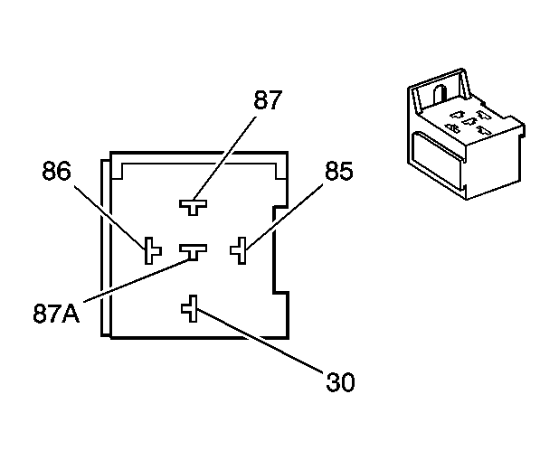
Driver and Passenger Defog Relays Connector End View

GM1394181Courtesy of GENERAL MOTORS CORP.
Connector Part Information
  • 3334485008
  • 5-Way Bosch (BLK)
Pin Wire Color Circuit No. Function
30 RED 1 Battery Positive Voltage
85 PPL 293 Rear Defog Element Supply Voltage
86 BLK 350 Ground
87 PPL - Windshield Defogger Supply Voltage
87A - - Not Used
Inside Rearview Mirror Connector End View

GM655810Courtesy of GENERAL MOTORS CORP.
Connector Part Information
  • 12124782
  • 16-Way F Metri-Pack 100 Series (BLK)
Pin Wire Color Circuit No. Function
1 - - Not Used
2 BARE 814 Drain Wire
3 YEL - Not Used
4 ORN/BLK - Not Used
5 GRY 1690 Automatic Day/Night Mirror Signal
6-7 - - Not Used
8 BLK/WHT 851 Ground
9 LT GRN 24 Backup Lamp Supply Voltage
10 GRY 655 Cellular Microphone Signal
11 DK GRN/WHT 2514 Keypad Signal
12 LT GRN/BLK 2515 Keypad Supply Voltage
13 BRN 1039 Ignition 1 Voltage
14 YEL/BLK 2516 Keypad Green LED Signal
15 BRN/WHT 2517 Keypad Red LED Signal
16 PNK 1691 Automatic Day/Night Mirror Low Reference
Radio TV Antenna Signal Module Connector End View

GM38284Courtesy of GENERAL MOTORS CORP.
Connector Part Information
  • 12064750
  • 2-Way M Metri-Pack 480 Series (BLK)
Pin Wire Color Circuit No. Function
A PPL 293 Rear Defog Element Supply Voltage
B BLK 1850 Ground
Rear Window Defogger Connector End View

GM38284Courtesy of GENERAL MOTORS CORP.
Connector Part Information
  • 12064750
  • 2-Way M Metri-Pack 480 Series (BLK)
Pin Wire Color Circuit No. Function
A PPL 293 Rear Defog Element Supply Voltage
B BLK 1850 Ground
Windshield Connector End View C1 (w/ WC2/WC8)

GM35348Courtesy of GENERAL MOTORS CORP.
Connector Part Information
  • 12004267
  • 1-Way F56 Series Lock Type (BLK)
Pin Wire Color Circuit No. Function
A PPL - Driver Defog Element Supply Voltage
Windshield Connector End View C2 (w/ WC2/WC8)

GM35348Courtesy of GENERAL MOTORS CORP.
Connector Part Information
  • 12004267
  • 1-Way F56 Series Lock Type (BLK)
Pin Wire Color Circuit No. Function
A BLK 350 Ground
Windshield Connector End View C3 (w/ WC2/WC8)

GM35348Courtesy of GENERAL MOTORS CORP.
Connector Part Information
  • 12004267
  • 1-Way F56 Series Lock Type (BLK)
Pin Wire Color Circuit No. Function
A PPL - Passenger Defog Element Supply Voltage
Windshield Connector End View C4 (w/ WC2/WC8)

GM35348Courtesy of GENERAL MOTORS CORP.
Connector Part Information
  • 12004267
  • 1-Way F56 Series Lock Type (BLK)
Pin Wire Color Circuit No. Function
A BLK 350 Ground