LEMON Manuals: Even more car manuals for everyone: 1960-2025
Home >> Cadillac >> 2004 >> Escalade EXT >> Repair and Diagnosis >> Body & Frame >> Ignition Switch/Steering Lock >> General Information >> Introduction >> Lifting and Jacking the Vehicle >> Notes
April 5, 2026: LEMON Manuals is launched! Read the announcement.

Lifting and Jacking the Vehicle: Notes

CAUTION: To avoid any vehicle damage, serious personal injury or death, always use the jackstands to support the vehicle when lifting the vehicle with a jack.
CAUTION: To avoid any vehicle damage, serious personal injury or death when major components are removed from the vehicle and the vehicle is supported by a hoist, support the vehicle with jack stands at the opposite end from which the components are being removed.
NOTE: Perform the following steps before beginning any vehicle lifting or jacking procedure:
  • Remove or secure all of the vehicle's contents in order to avoid any shifting or any movement that may occur during the vehicle lifting or jacking procedure.
  • The lifting equipment or the jacking equipment weight rating must meet or exceed the weight of the vehicle and any vehicle contents.
  • The lifting equipment or the jacking equipment must meet the operational standards of the lifting equipment or jacking equipment's manufacturer.
  • Perform the vehicle lifting or jacking procedure on a clean, hard, dry, level surface.
  • Perform the vehicle lifting or jacking procedure only at the identified lift points. DO NOT allow the lifting equipment or jacking equipment to contact any other vehicle components.

Failure to perform the previous steps could result in damage to the lifting equipment or the jacking equipment, the vehicle, and/or the vehicle's contents.

For lifting the vehicle, various lift points are recommended. Before you begin any lifting procedure, place the vehicle on a clean, hard, level surface. Verify that all the lifting equipment meets weight standards and is in good working order. Verify that all of the vehicle loads are equally distributed and secure. If you are only supporting the vehicle at the frame side rails, verify that the lifting equipment does not put too much stress on, or weaken, the frame side rails.

During hoisting, do NOT damage the fuel tanks, the exhaust system, or the underbody.

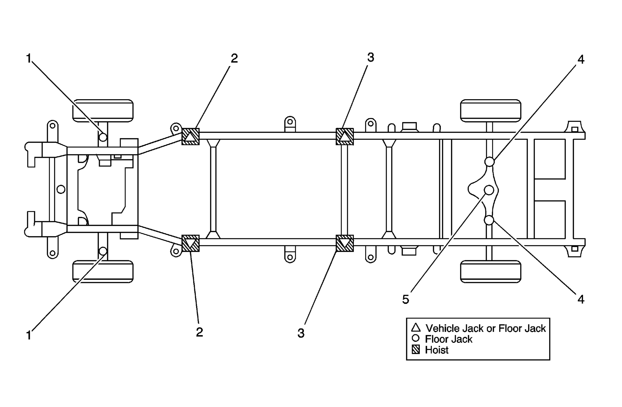
Fig 1: Identifying Lifting & Jacking Points
GM1262949Courtesy of GENERAL MOTORS CORP.
Callout Component Name
1 Lower Control Arm Contact Points
1 Lower Control Arm Contact Points
2 Front Frame Contact Points
2 Front Frame Contact Points
3 Rear Frame Contact Points
3 Rear Frame Contact Points
4 Rear Axle Contact Points
4 Rear Axle Contact Points
5 Differential Contact Points