LEMON Manuals: Even more car manuals for everyone: 1960-2025
Home >> Cadillac >> 2004 >> Escalade EXT >> Repair and Diagnosis >> Electrical >> Body Electrical >> OEM Connector End Views - Abs, Adjustable Pedals, Automatic Level Control SUSP, Automatic Transmission, Shift Lock Control, Body Control System, Body Rear End, Cellular Communication, Cruise Control, Data Link Communications, Electrical Center >> Automatic Transmission Internal Connector End Views (4L60-E/4L65-E) >> Pressure Control (PC) Solenoid Valve Connector End View, Wiring Harness Side
April 5, 2026: LEMON Manuals is launched! Read the announcement.

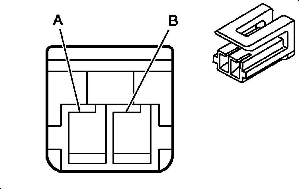
Pressure Control (PC) Solenoid Valve Connector End View, Wiring Harness Side

Pressure Control (PC) Solenoid Valve, Wiring Harness Side

GM1240818Courtesy of GENERAL MOTORS CORP.
Connector Part Information
  • 12146800
  • Conn 2F M/P 150.2 (LT GRY) Delphi
Pin Wire Color Circuit No. Function
A PPL 1228 Pressure Control (PC) Solenoid Valve High Control
B LT BLU 1229 PC Solenoid Valve Low Control