LEMON Manuals: Even more car manuals for everyone: 1960-2025
Home >> Cadillac >> 2004 >> Escalade EXT >> Repair and Diagnosis >> Engine Performance >> System >> Engine Control System - 4.8L, 5.3L & 6.0L (Introduction) >> Schematic and Routing Diagrams >> Engine Controls Schematics
April 5, 2026: LEMON Manuals is launched! Read the announcement.

Engine Controls Schematics

Fig 1: Power, Ground, Serial Data and MIL Schematic
GM1227009Courtesy of GENERAL MOTORS CORP.
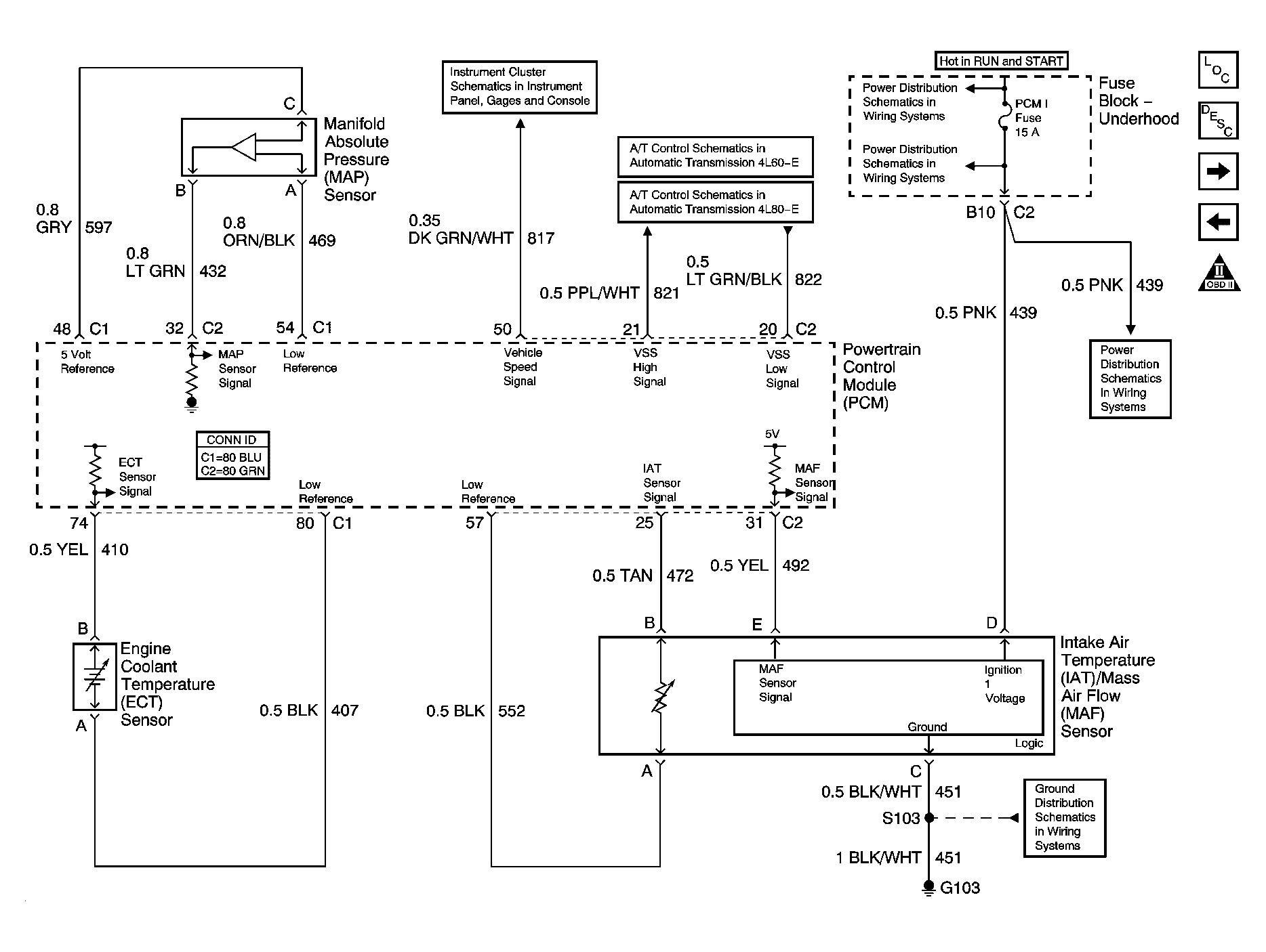
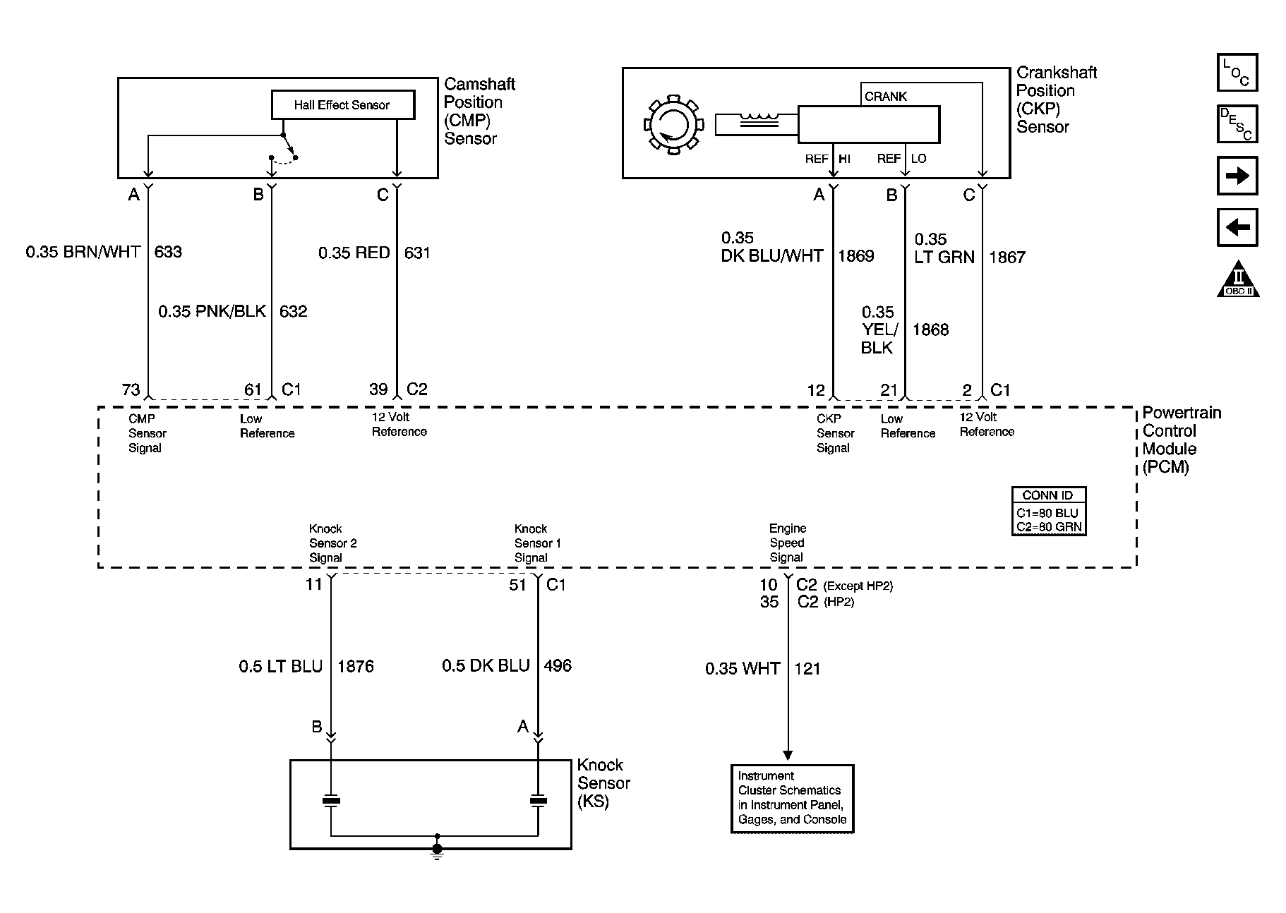
Fig 2: Engine Data Sensors - Pressure, Temperature and VSS Schematic
GM1575185Courtesy of GENERAL MOTORS CORP.
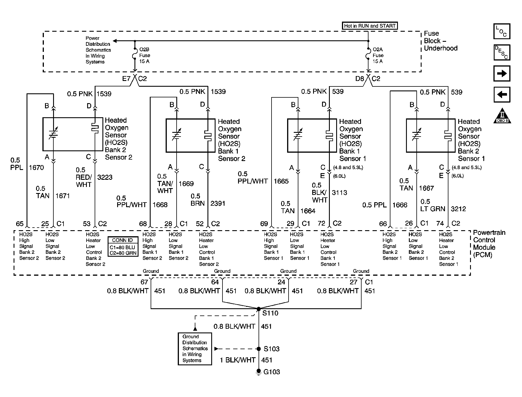
Fig 3: Engine Data Sensors - HO2S Schematic
GM1226784Courtesy of GENERAL MOTORS CORP.
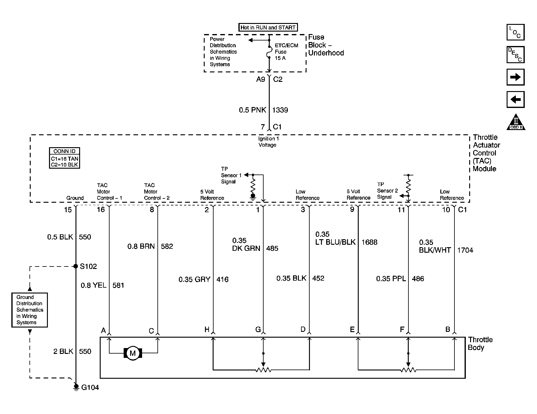
Fig 4: Engine Data Sensors - Electronic Throttle Controls Schematic (1 of 2)
GM1226793Courtesy of GENERAL MOTORS CORP.
Fig 5: Engine Data Sensors - Electronic Throttle Controls Schematic (2 of 2)
GM1226798Courtesy of GENERAL MOTORS CORP.
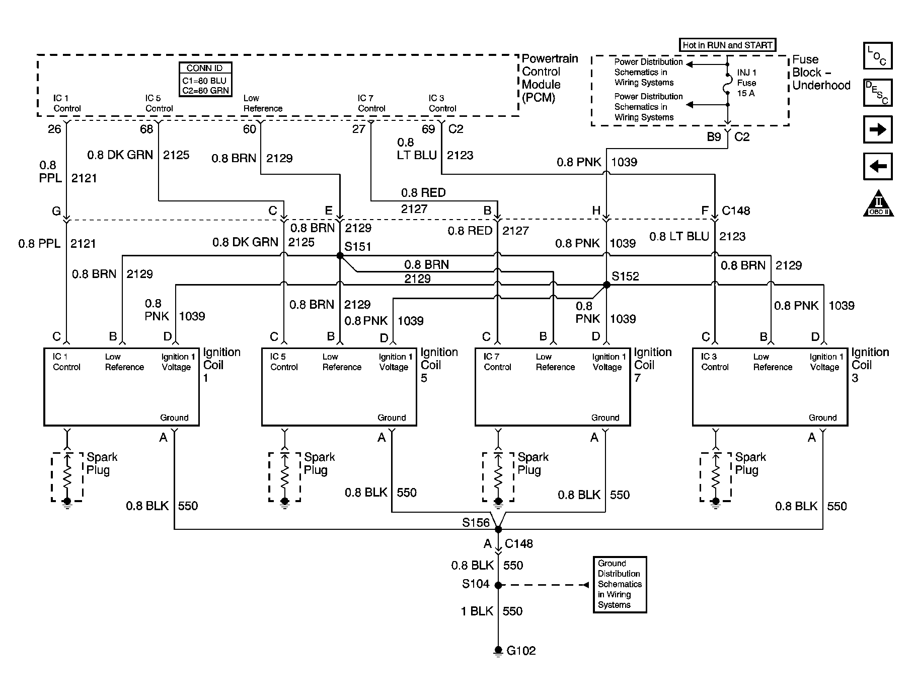
Fig 6: Ignition Controls - Ignition System Coils 1, 3, 5 and 7 Schematic
GM1226803Courtesy of GENERAL MOTORS CORP.
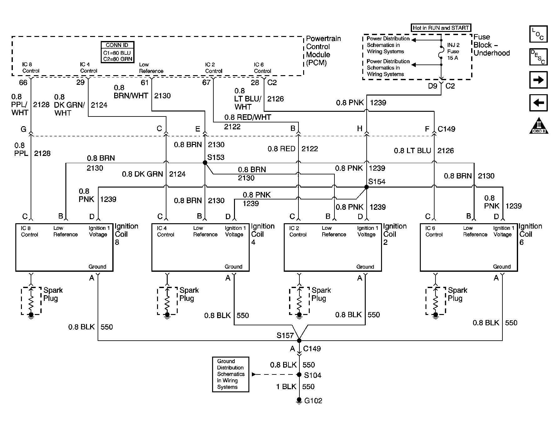
Fig 7: Ignition Controls - Ignition System Coils 2, 4, 6 and 8 Schematic
GM1226805Courtesy of GENERAL MOTORS CORP.
Fig 8: Ignition Controls - Sensors Schematic
GM1226806Courtesy of GENERAL MOTORS CORP.
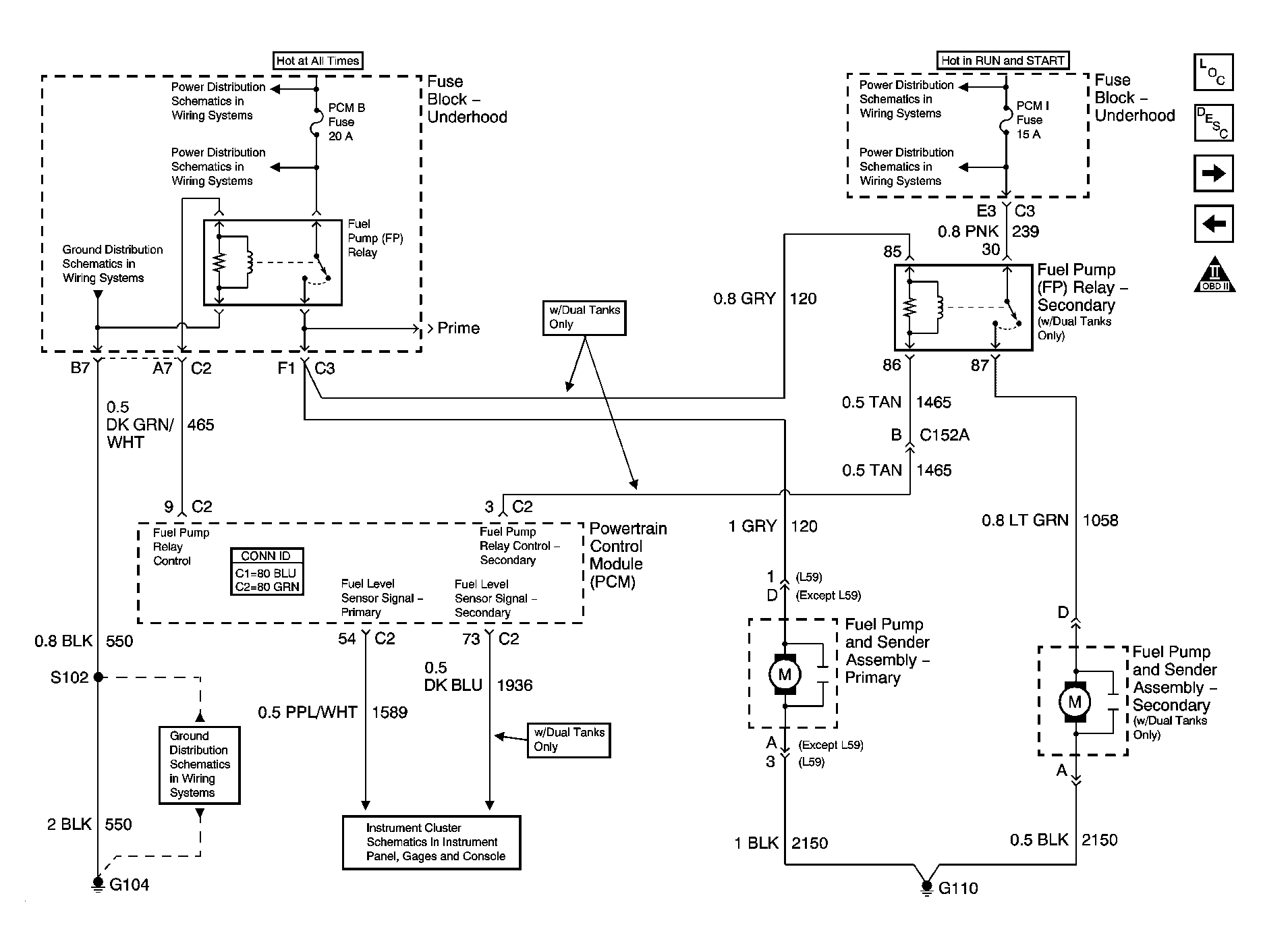
Fig 9: Fuel Controls - Fuel Pump Controls Schematic
GM1227010Courtesy of GENERAL MOTORS CORP.
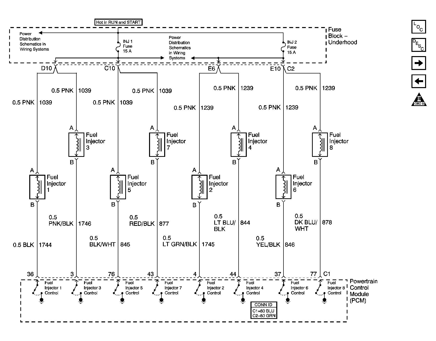
Fig 10: Fuel Controls - Fuel Injectors Schematic
GM1226808Courtesy of GENERAL MOTORS CORP.
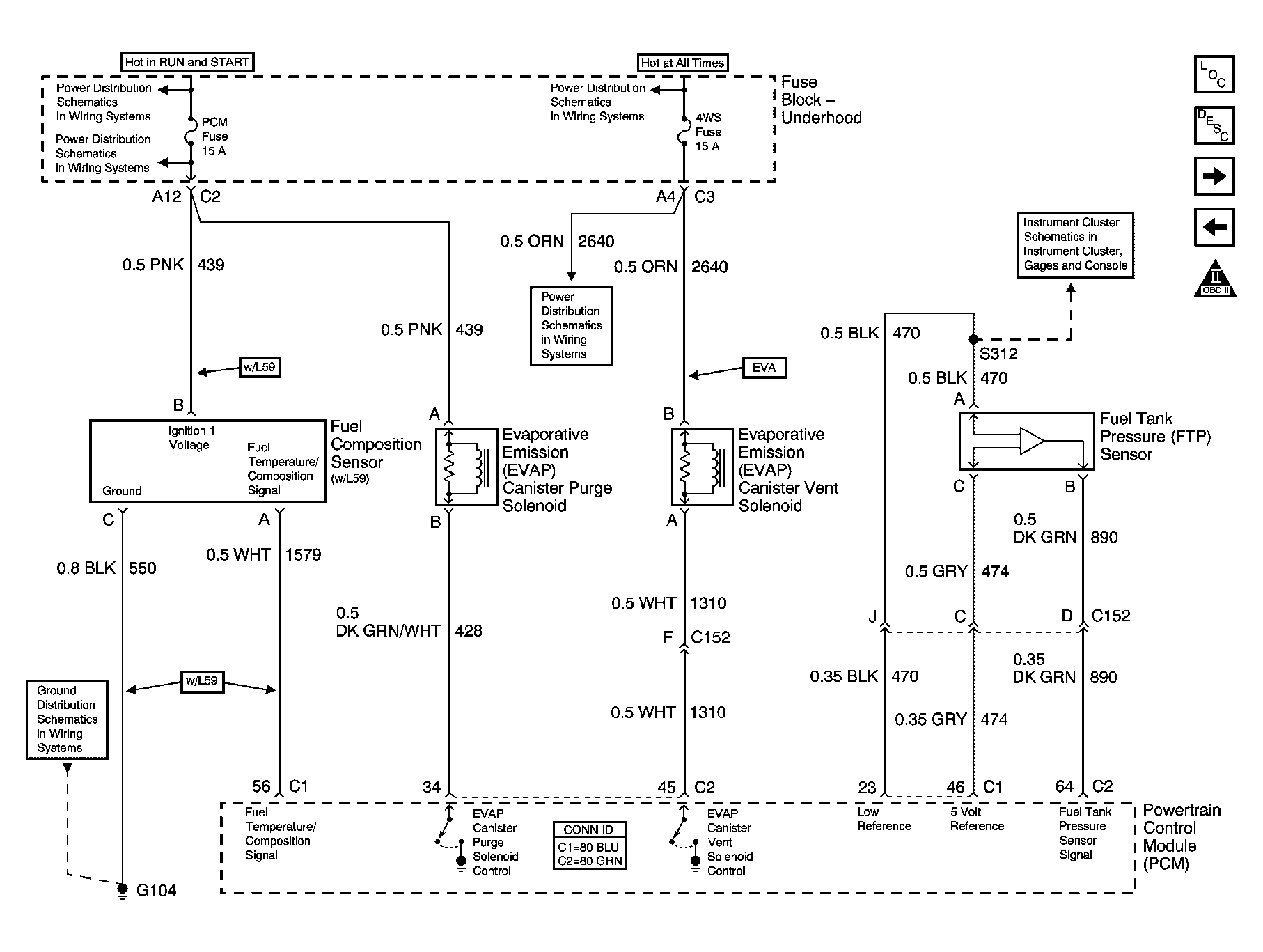
Fig 11: Fuel Controls - EVAP Controls, Fuel Tank Pressure and Fuel Composition Schematic
GM1226812Courtesy of GENERAL MOTORS CORP.
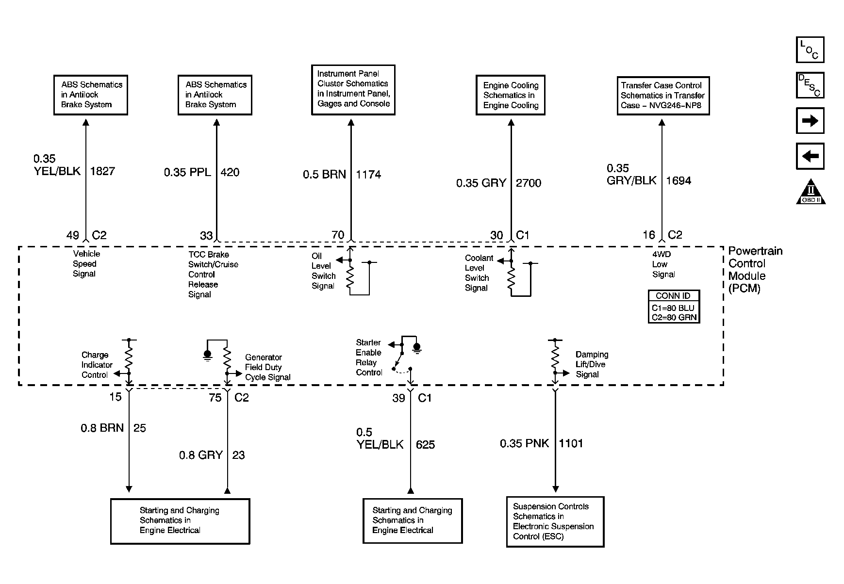
Fig 12: Controlled/Monitored Subsystem References Schematic (1 of 2)
GM1227013Courtesy of GENERAL MOTORS CORP.
Fig 13: Controlled/Monitored Subsystem References Schematic (2 of 2)
GM1227017Courtesy of GENERAL MOTORS CORP.
Fig 14: Transmission Controls Schematic - A/T - 4L60-E
GM1226820Courtesy of GENERAL MOTORS CORP.
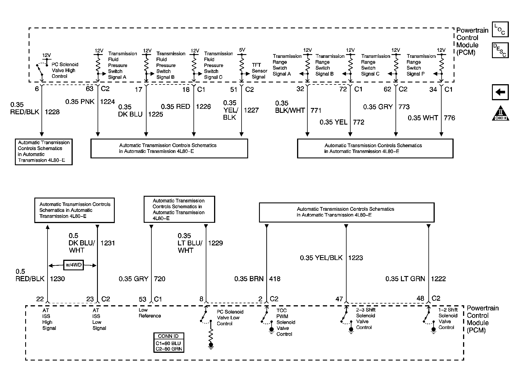
Fig 15: Transmission Controls Schematic - A/T - 4L80-E
GM1226821Courtesy of GENERAL MOTORS CORP.